“今日油条”碰瓷今日头条上热搜,蹭出来的品牌能走多远?



作者 | 林川     来源 | 品牌头版
在营销当中,蹭热度也可以解读为借势营销的一种。
最热衷于蹭热度的主体是品牌。业界公认的“老司机”杜蕾斯就是借势营销领域中的佼佼者,只要有热点,你总是能看到这个老司机一本正经的骚操作。
近日,一家名为“今日油条”的河南网红早餐店,就因为“蹭热度”在网络上走红,由于该店铺装修、logo、海报酷似今日头条,被“今日头条”母公司字节跳动告上法庭,引发网友热议。
网友对该事件褒贬不一,不管今日油条蹭热度是出于什么目的,但站在品牌营销的角度来看,这一波“碰瓷”操作是十分成功的,不仅吸引了大量的关注和流量,还带来了直接的经济效益。不过,如此靠蹭热度走出来的品牌能走多远?也值得深思。
01
“今日油条”上了“今日头条”
10月19日,一封来自于“今日油条”的公开信赚足了网友的眼球。
这封公开信是“今日油条”针对被“今日头条”起诉一事作出的回应。今日油条在公开信中主要表达了两点:一是对“抄袭”今日头条一事道歉,二是表示今日油条将以今日头条为榜样,立志成为百姓喜爱的早餐品牌。”
此热搜的主角“今日油条”,是河南的一家网红早餐店,主营油条豆浆,从今年的4、5月开始走红。
它是如何迅速走红的?主要靠“碰瓷”今日头条。并借着“今日头条”的热度火了好几个月,据说,首店开业三月实现40多万盈利,还开启了连锁加盟。
其品牌名称、logo以及店铺装修和字节跳动旗下的头部媒体品牌“今日头条”极其相似,处处都有今日头条的影子。
今日油条把今日头条的slogan“你关心的,才是头条”改成“关心你的,才是好油条”,就连菜单,也是根据今日头条APP界面来进行设计,只不过把各种新闻信息替换成了食品菜单。



左右滑动查看更多
有消费者购买后评论:“在今日头条刷到了今日油条,首次消费体验特别愉悦,点餐的每一处细节都自带梗,点餐都想笑出声”、“凭这个名字就要去吃一吃,味道不错,比很多小店干净。”还有无数网友调侃,每天早高峰都是吃着“今日油条”,看着今日头条新闻打发时间。
如此高调的经营方式引来了今日头条的不满,在谈判无果的情况下,字节跳动公司将其诉至法院。
除此之外也“撞脸”一些其他品牌,比如西贝、卫龙、格力等。柜台的展板可以看到西贝莜面村的样子,侧面的灯箱广告是当初卫龙辣条模仿Apple的痕迹,还跳出餐饮行业模仿格力,“好油条,今日造”。



左右滑动查看更多
事实上,它还蹭上了“国民老公”王思聪,将他之前火遍全网的吃热狗卡通形象改成了吃油条的样子。

令人惊讶的是,“今日油条”不仅蹭上了今日头条的热度,还打算蹭拼多多,快手等各大知名品牌的热度。据公开资料显示,河南今日油条餐饮管理有限公司,目前已申请注册“今日油条”、“明日油条”、“饼多多”、“快手抓饼”等商标,看来,“今日油条”决心要把“山寨”进行到底。

一时间引来热议,还上了微博热搜,网友们对此看法不一。
有网友表示,小商家跨界蹭个热度,有利于市场繁荣。

当然也有不同的声音,认为这是无底线蹭热度,大公司花了几十上百万设计出来的商标,转头就被抄过去,这种行为不被制止,将会有更多山寨。

还有人表示,可能是有意而为,目的不在于是否真的能成功申请或被起诉,而在于引发关注从而获得巨额利益。

甚至有网友纷纷开启了起名大赛——“今日撇条”、“今日粉条”等。
毫无疑问,今日油条凭借这一波借势营销,成功的把自己推向了社交媒体时代的焦点。
02
这一波借势营销,妙
今日油条“碰瓷”今日头条,到底只是觉得好玩,还是为了蹭热度引发关注,我们不得而知,不同的人对该行为的解读可能也不一样,但不管官司输赢,今日油条都已经赢了。
自从今日油条的新闻上了热搜后,品牌在网上的热议度和知名度也是蹭蹭上涨。因此,我们可以肯定的是,不管今日油条蹭今日头条的举动是出于什么动机,这招“借势建势”的营销战术,确实给它带来了不同以往的关注,带来了不小的流量和经济利润,小小的店面竟然成为了郑州美食网红打卡店,火了好几个月。
其实,如此“蹭热度”的品牌,“今日油条”并不是第一个。
“周佳牌”洗衣粉、“粤利粤”饼干、“三粮液”白酒……这样的例子比比皆是。
早在2013年,“百度”也遭遇了商标侵权问题,被告是一家连锁经营“百度烤肉”的餐饮公司。
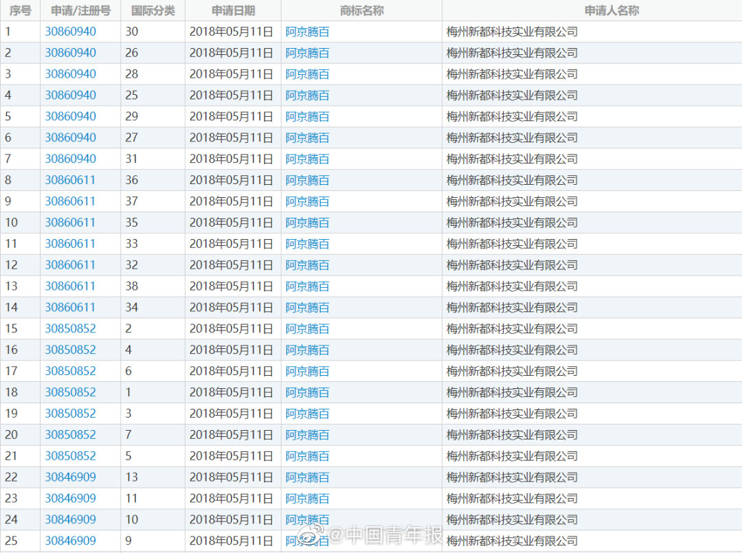
2018年有个公司横空出世,一口气注册了45件商标,叫:阿京腾百。此名一出,阿里、京东、腾讯、百度全坐不住了,组成互联网复仇者联盟向商标局提交了45件商标异议申请,理由:有损品牌市场声誉。

前不久,“海底捞”状告“河底捞”商标侵权一事也登上热搜,引起网友热议。“江底捞,湖底捞,已经在路上……”、“各捞各的,互不打扰”,短短时间内网友评论飙涨2000多条。

注意力经济时代,“热度”、“流量”就是最大的资本,借助热点进行营销是品牌最为聪明也是最为讨巧的一种做法,被众多品牌竞相使用。
由此看来,“今日油条”蹭“今日头条”的热度也不是毫无道理的。
今日头条,字节跳动互联网公司旗下的头部媒体品牌,作为一家家喻户晓的品牌,它本身就具有相当的关注度,自然聚焦了众多粉丝的视线。
今日油条作为一家新兴早餐品牌,想要一举打响知名度,很大程度上依赖于大众对品牌的初步认知,所以,借助今日头条的热度一下子使得这个行为为大众所关注,此时聚集在今日油条身上的关注和话题也随之增加。
03
“蹭”出来的品牌能走多远?
“蹭热度”,用营销术语来说,就是借势营销。
为了增加消费者,品牌首先要做的就是提高知名度,通常的做法是通过广告的形式来宣传自己的产品,但制作广告成本高,广告效果也难以预测和衡量。若如果存在一种宣传方式,能够以较低成本达到宣传目的,这种方式自然会成为品牌的首选或佳选,蹭热度便是这样一种方式。
不过,借势营销是把双刃剑。若“热度”蹭得好,能引起病毒式传播,提高知名度。热度没蹭对,不仅达不到营销目的,还会适得其反,降低品牌美誉度。
“傍名牌”实质是一种不正当竞争行为,这些“碰瓷”的品牌以混淆品牌名称与著名品牌的方式,试图吸引消费者注意力来扩大销路赚取利润。但这种行为终究是违法行为,品牌不仅会面临商标被撤销及罚款的命运,还有可能遭到侵权诉讼,承担巨额赔偿,“傍名牌”行为势必会穷途末路。所以,“蹭热度”这一招要慎用。
在日本,也有一家企业不仅仿了,还跟原创品牌杠上了,那就是日本的“MariCar”公司。这家公司以提供COSPLAY成任天堂游戏《超级马力欧》角色来驾驶卡丁车的出租服务为营运内容。

然而,在被称为“史上最强法务部”的任天堂法务部成功通过一审诉讼维权成功后,MariCar在经营车辆上注上了“与任天堂无关”的字样,还申请了“任天堂は無関係”(和任天堂无关)的商标。偏偏任天堂在日本没有注册过12类(运输工具)商标,让“任天堂は無関係”(和任天堂无关)这一商标成功注册。
“傍名牌”行为之所以屡禁不止,究其原因还是因为侵权成本低,而维权成本居高不下。
但也应当看到,消费者品质消费的意识正在不断觉醒,对于“傍名牌”赚快钱的品牌,其实消费者并没有好感。傍来的品牌虽好,但终究不是自己的,如果品牌不能走出自己的创新之路,必将逐渐被市场所淘汰。
原创不易,如需转载请后台回复「转载」

热门内容




我就知道你“在看”

到顶部