潮讯:微信和支付宝上线520红包;QQ推出永久VIP;京东公布618优惠规则;苹果多款产品可能被禁售



马斯克回应骚扰空姐
针对空姐对其的性骚扰指控,SpaceX 创始人埃隆・马斯克 (Elon Musk) 周四晚间在推特上回应称,这一无依据指控完全是不真实的。

“对我的攻击应该从政治的角度来看 —— 这是他们标准的 (卑鄙的) 剧本,”马斯克称,“郑重声明,这些无依据的指控完全是不真实的。”
据悉,此次事件发生于2016年,在接受空姐工作后,这位空姐被鼓励去申请按摩师执照,这样她就可以给马斯克按摩。她表示,在马斯克的湾流 G650ER 私人飞机的一间私人舱里为他做按摩时,马斯克向她提出了性要求。(来源:IT之家)
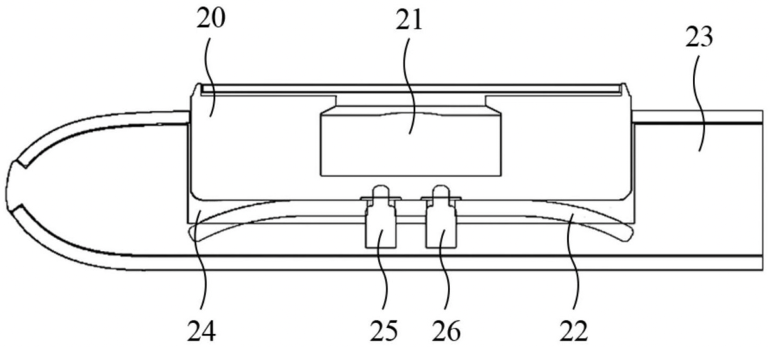
小米可拆卸摄像头专利
近日,北京小米移动软件有限公司申请的“可拆卸式摄像头及终端”专利公布。

摘要显示,本公开包括:摄像头壳体以及位于壳体内的摄像头组件,其中组件镜头朝向壳体顶部;设置于壳体底部的橡胶吸盘,用于将可拆卸式摄像头固定于终端设备或物体表面。
本专利可使摄像头与终端的连接和拆卸更加方便快捷,保证摄像头的稳定性且避免可拆卸式摄像头丢失,避免因使用磁铁吸附固定而对终端设备的射频及天线性能产生影响等。(来源:IT之家)
支付宝520视频红包
今天,支付宝推出了“视频红包”新功能,支持用户在发红包时选择动效视频封面、添加祝福语,收发红包更有沉浸感。

目前在支付宝 App 内搜索“红包”,可看到 9 款视频红包封面,用户可以免费领取。对比原本的静态红包封面,互动感更强。(来源:IT之家)
京东618活动规则公布
今日,京东 618 启动发布会以线上直播形式举行。今年京东 618 将于 5 月 23 日晚 8 点开启,分为“预售期”“开门红”“场景期”“高潮期”四个阶段。

节奏方面,继去年 11.11 将大促活动从 0 点提前至晚 8 点之后,今年京东 618 将延续“晚 8 点”体验。除了预售、开门红都是晚 8 点开启外,每天晚 8 点也都将带来限时秒杀、红包雨、大额惊喜券等活动。
玩法方面,“头号京贴”将升级为跨店满减,每满 299 元减 50 元。(来源:IT之家)
苹果可能将在英国禁售
据报道,苹果试图对无线专利持有公司 PanOptis 进行新的审判已被驳回,这意味着该公司将不得不支付 3 亿美元的赔偿金。

据悉,该案件现已被驳回。它本可以将损害赔偿降至零,但美国东得克萨斯地区法官 Rodney Gilstrap 拒绝了苹果公司提出的重新审判或裁决的请求。
PanOptis 指控苹果侵犯了其 4G LTE 专利,其产品包括 iPhone、iPad 和 Apple Watch。报道称,这些专利对国际 LTE 无线标准至关重要。
另外,苹果公司还与母公司 Optis 就英国涉嫌侵权卷入了另一起诉讼。该案预计将在 2022 年 7 月继续审理,可以想象的是,苹果要么被禁止在英国销售 iPhone,要么选择不这样做。(来源:IT之家)
QQ永久会员
今晚,腾讯 QQ 超级会员公布了 SVIP10 全新多元体系,将在 5 月 20 日上午开启预约激活,将在 6 月中下旬正式上线。

具体为:
488 元预约激活永久 SVIP10 一星,3.7 倍等级加速,加赠 6 个月成长三倍卡。
798 元预约激活永久 SVIP10 二星,4.0 倍等级加速,加赠 9 个月成长三倍卡。
1198 元预约激活永久 SVIP10 三星,4.5 倍等级加速,加赠 12 个月成长三倍卡。
据悉,SVIP10 是 QQ 超级会员最高等级,升级 SVIP10 需满足是超级会员且会员成长值大于等于 150000 点。与 SVIP1- SVIP9 不同的是,升级 SVIP10 需手动进行激活。此外,本次 SVIP10 全新多元体系除了推出 SVIP10 以外,还将同时推出 SVIP10 一星、SVIP10 二星、SVIP10 三星 3 种特权全面升级版身份。(来源:IT之家)
微信视频号将显示IP地址
微信发布公告称,为维护良好传播秩序,防止个别网友在热点事件中出现冒充当事人、恶意造谣、蹭流量等不良行为,微信视频号将展示用户发布内容时的帐号 IP 属地。

平台展示的帐号 IP 属地为用户发布视频或评论时的网络位置,境内帐号展示到省(自治区、直辖市),境外帐号展示到国家(地区),帐号 IP 属地以运营商提供信息为准,用户暂时无法主动开启或关闭相关展示。(来源:IT之家)
微信限时开放520元红包
今日凌晨,微信红包的金额上限,特别从200元调整为520元,方便情侣之间互相表达心意。

这也是微信历年来的传统惯例了,每年在较为特殊的节日来临,微信都会做出这样的临时调整,比如西方情人节“2月14日”、中国情人节“七夕”等。
但需要注意的是,活动仅限当天24小时,卡时间点的朋友们需要注意。(来源:新浪科技)
根本就没对象好吧
↘↘↘
到顶部