潮讯:薇娅被全网封号;腾讯向抖音索赔8亿;多家网盘取消限速;iPhone13开始在印度生产



多家网盘完成“无差别速率”服务改造
近日,包括天翼云盘、和彩云、阿里云盘、360 安全网盘、网易网盘在内的 5 家企业明确表示已按照有关部门的要求完成无差别速率服务的改造,网页端、移动端和桌面端已同步上线。其中,天翼云盘和阿里云盘网页版虽已完成无差别速率改造,但下载较大文件仍需要通过下载应用程序来完成。

此外百度网盘青春版、腾讯微云和迅雷云盘正在大力推进相关工作落地,严格按照《公约》声明开展平台技术改造,目前均已进入后续测试阶段。预计将在 12 月 31 日前按照承诺完成“无差别速率”产品的上线。(来源:IT之家)
华为完成5G毫米波基站全部测试
近日,在中国信通院 IMT-2020 (5G) 推进组指导下,华为完成了 5G 毫米波基站全部功能和外场性能测试项目,DDDSU 帧结构下单用户下行峰值速率超过 7Gbps。

据了解,本次测试的完成将为毫米波持续释放 5G 技术潜能,为 5.5G 演进和发展奠定坚实基础。这将使能未来 5.5G 上行超宽带(UCBC,Uplink Centric Broadband Communication)业务的快速发展,比如机器视觉等大上行业务。(来源:IT之家)
苹果开始在印度试生产iPhone 13
据外媒报道,两位行业高管表示,苹果公司已经开始在印度钦奈附近的富士康工厂试生产其旗舰产品 iPhone 13,因为苹果准备在印度生产其几乎所有最畅销的智能手机机型。他们说,苹果公司预计到 2 月开始在印度为国内市场和出口进行 iPhone 13 的商业生产。

报道称,虽然芯片目前在全球范围内供不应求芯片目前在全球范围内供不应求,但苹果公司已经确保了自家半导体芯片的供应满足需求,这有助于其计划将生产扩大到印度。
消息人士称,最畅销的 iPhone 手机的供应已经改善,缓解了印度市场的严重短缺。在 iPhone 13 系列中,iPhone 13 是印度销量最大的机型,苹果公司不打算在该国生产 iPhone 13 Pro 和 iPhone 13 Pro Max。而在全部机型方面,iPhone 11 和 12 等低价机型在印度销量最大。(来源:IT之家)
《王者荣耀》新一批高帧率机型公布
据《王者荣耀》官方消息,游戏将在 2021 年 12 月 21 日 8:30-9:30 对全服进行不停机更新。在更新日志中,《王者荣耀》公布了新一批高帧率安卓机型,包括 vivo S12 / Pro、摩托罗拉 edge X30、酷派 Cool 20 Pro 以及一款尚未发布的拯救者 Y90 机型。

根据此前爆料消息,拯救者 Y90 应该就是联想不久前预热的新款拯救者小屏平板。(来源:IT之家)
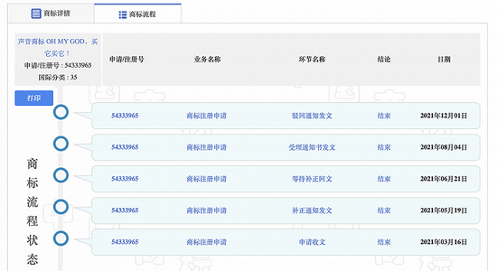
李佳琦声音商标申请遭驳回
近日,美腕(上海)网络科技有限公司申请注册的“声音商标 OH MY GOD,买它买它!”发生变更,流程状态变更为“驳回通知发文”。该商标申请于今年 3 月,国际分类为广告销售。

信息显示,该声音商标是以李佳琦人声念出“Oh my god,买它买它”,语速较快,音调较高。此前,李佳琦持股公司上海妆佳电子商务有限公司申请注册的类似声音商标也于 2020 年 12 月被驳回。(来源:新浪科技)
乐视宣布涨薪
今天下午,微博@Letv 称,乐视宣布涨薪,对标互联网大厂。

有乐视内部员工透露,这次涨薪将会在 2022 年春节后开始执行。乐视全员还收到了一封内部信,称乐视今年实现经营利润和现金流双平衡。(来源:新浪科技)
英国拟禁止手机等的通用默认密码
英国政府今天向议会提出了一项名为产品安全和电信基础设施法案(PSTI)的新法案,旨在加强智能手机、电视、扬声器、玩具等联网设备的安全性。

据了解,该法案带来的内容包括禁止通用默认密码,企业向客户公开他们为解决安全漏洞所做的工作,并且将为这些设备中的漏洞创建更好的公共报告系统。
英国政府表示,该法案还允许宽带和移动网络运营商升级和共享基础设施,这意味着客户可以更快地获得更快、更可靠的连接。通过这项立法,不同的公司可以共享基础设施,而不必让土地所有者参与漫长的法律斗争来安装他们的基础设施。(来源:IT之家)
薇娅全网被封
昨天,有关部门发布消息称,网络主播黄薇(网名:薇娅)在 2019 年至 2020 年期间,通过隐匿个人收入、虚构业务转换收入性质虚假申报等方式偷逃税款 6.43 亿元,其他少缴税款 0.6 亿元,依法对黄薇作出税务行政处理处罚决定,追缴税款、加收滞纳金并处罚款共计 13.41 亿元。

随后,薇娅发文致歉称,深感愧疚,愿承担一切后果。目前,薇娅微博、淘宝直播、抖音、快手等平台的账号已被封。(来源:新浪科技)
腾讯要求抖音为《斗罗大陆》赔偿8亿
近日,持续 8 个月之久的长短视频之争有了新进展。腾讯向法院申请变更诉讼请求,将《斗罗大陆》索赔金额从 6160 万元提高到 8 亿元。至此,腾讯半年来起诉抖音的标的总额已超过 29.43 亿元。

此前,腾讯在重庆市第一中级人民法院为《斗罗大陆》动漫申请了诉前行为保全,认为抖音平台内的用户上传内容侵害了《斗罗大陆》著作权。腾讯要求抖音立即删除所有侵权视频,立即采取有效措施过滤、拦截用户上传及传播的侵权视频。(来源:新浪科技)
苹果起诉爱立信
近日据媒体报道,苹果已对电公司爱立信提起诉讼,指控该公司在 5G 电信专利许可谈判中使用“强硬策略”。

该诉讼于上周五提交给美国德克萨斯州东部地方法院,指控爱立信违反了相关义务,未能以公平价格许可对行业电信标准“至关重要”的专利。具体来说,苹果提出了两项动议:一项是驳回爱立信的诉讼,另一项是封存诉讼文件,因为其中包含“与业务运营相关的敏感信息”。
据悉,今年 10 月,爱立信对苹果提起诉讼,指控该公司“恶意”进行谈判。该诉讼寻求宣示性判决,希望认定该公司正在公平、合理和非歧视条件下履行交易承诺。(来源:新浪科技)
现在都以亿为单位了吗
↘↘↘
到顶部