华熙生物,赵燕的小贷梦


文:诗与星空(ID: SingingUnderStars)
2021年9月6日,华熙生物发布半年报的时候,星空君敏锐的发现,公司和成长性有关的最核心的财务指标发生了变化:毛利率降了,净利率降了。
当一家公司成长的根本逻辑发生转变,也就意味着投资价值发生了逆转。
当华熙生物的年报发布的时候,印证了半年前的预测。
作为全球最大的玻尿酸生产企业,华熙生物的起家,源于山东大学的科研成果。
时任山东大学教授的凌沛学(现任鲁商集团总经理),研发出全新的玻尿酸生产技术,并组建了福瑞达生物化工进行生产。
2000年,赵燕买断了福瑞达生物化工的部分股权,从此有了华熙福瑞达,后来经过层层股权运作,华熙生物和福瑞达彻底剥离并单独上市。
从技术上讲,华熙生物和福瑞达生物(鲁商集团旗下)算是同源,从股权架构来说,算是竞争对手。
01

营收、净利润增幅背离

公司在年报里,有一段宣传业绩的文字,这段文字很有趣,星空君特地贴出来。

有趣点在哪儿呢?
一般来说,绝大多数上市公司财报在吹嘘业绩的时候,会把营收、净利润分别列出来,看我营收规模增幅多少,净利润增幅多少。
华熙生物呢?
只讲营收增幅87.93%,净利润哪去了?
实际上净利润增幅只有21.13%,剔除掉股份支付,较上年同期增加34.33%。虽然增幅也不错,但和营收相比,差距比较大,形成了背离。

数据来源:同花顺iFind,制图:诗与星空
问题出在哪儿了?
因为公司拿出来两倍净利润的钱,去买热搜了。
02

伪科创:营销投入是研发十倍

华熙生物是一家科创板公司,科创板设立的初衷是什么?
科创两个字就说明白了:鼓励科技创新。

然而,华熙生物的研发费用2.8亿,销售费用24.36亿,二者是一个数量级的差异,销售费用接近营收的一半。
其中,有13亿被投入线上营销推广。
换言之,公司每花1块钱的营销推广费,才能带来2块钱的营收。这样离谱的构成比例很面熟,当年的长生生物也是如此。
从财务视角来看,这说明公司的核心竞争力根本不是科创,而是一家营销驱动的公司。躺在20多年前买来的玻尿酸技术基础上,没有太大的技术革新,靠各种花样的销售推广来实现营收规模的推广。
不过,公司快速发展的趋势,有一个点值得投资者们深思,未来的渠道,将全面转向线上,过渡依赖线下经销商的行业,可能会遇到前所未有的变革。
随着5G的推广,流量的价格低廉,以及各短视频的崛起,更新的新零售增长点在茁壮成长。
据公司年报,业务开展早期,通过天猫渠道及超头直播等见效较快的渠道或方式实现种子用户积累和收入的快速增长,随着业务规模扩大,公司逐渐多元化渠道,开展全域营销。
除天猫外的其他线上平台占比有所提升,其中,抖音渠道显著上升约14个百分点到17%左右。天猫渠道是达人直播的主要阵地,以润百颜为例,天猫渠道达人直播占比同比下降约8个百分点至19%左右。线下渠道方面,2021年是公司布局线下渠道元年,润百颜开设实体店3家,夸迪发展线下加盟店超过200家。
03

政府补助大户

让星空君大跌眼镜的是,作为一家毛利率78%以上以化妆品为主要经营方向的企业,竟然有超过14%的利润来自于政府补助,合计1.33亿元。
其中,济南市财政拨款是大头。
在年报中,星空君翻到了公司收到的变着花样林林总总的补助。

由于玻尿酸极其暴利,和高端化妆品没有本质不同,别说给补助了,星空君甚至建议将其纳入高端化妆品,按照奢侈品开征消费税。
现行消费税范围制定的时候尚无大规模的玻尿酸产品普及,化妆品的消费税税率15%,征收范围包括:香水、香水精、香粉、口红、指甲油、胭脂、眉-笔、兰眼油、眼睫毛及成套化妆品等等。
04

变着花样分钱

政府补助最终去了哪儿?分红是其中之一。
公司2021年度利润分配预案为:公司拟以实施2021年度分红派息股权登记日的总股本为基数,向全体股东每10股派发现金红利4.90元(含税),预计派发现金红利总额为2.35亿元,占公司2021年度合并报表归属上市公司股东净利润的30.06%。
公司第一大股东是华熙昕宇投资有限公司,持股59.06%,是一家投资公司,这家投资公司的实控人正是华熙生物的董事长,赵燕。
大半分红都回到了大股东的腰包。
现金流量表显示,公司2021年的现金及现金等价物增加额只有1.95亿元,这意味着全年新增的现金,全部被拿来分红还不够。
除了分红,公司还进行了大规模的股权激励,2021年股权激励花了1.14亿。
05

赵燕的小贷梦

大股东分到了钱干什么去了?
1、搞小贷
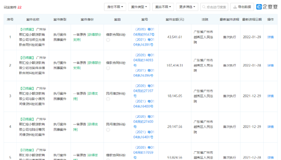
据企查查,华熙昕宇投资有限公司对外投资了多家公司,其中有一家叫广州华熙汇控小额贷款有限公司,截止2022年1月底,该公司涉案22起,大部分是作为原告小贷催收。

2、搞保理公司
除了小贷,这家投资公司还投了一家保理公司:广州华熙汇控商业保理有限公司。
星空君要提醒的是,任何和上市公司有关联的保理公司,都需要警惕。
为什么?
所谓保理公司,可以简单的理解为催账公司,上市公司可以将应收款卖给保理公司,尤其是很多上市公司把坏账风险较大的应收款转让,让保理公司趟雷,避免坏账暴雷影响上市公司利润。

华熙生物2020年坏账2500万,同期应收款3.77亿,应该说坏账比例不算很低。从这个角度看,公司通过关联方设立保理公司的动机,让人浮想联翩。
3、投资证券公司
华熙昕宇投资有限公司投资了第一创业,是其第二大股东,持股7.74%。
一家上市公司的实控人,去投资一家证券公司,背后的逻辑就很迷(假装看不懂)。然后又质押了大部分股权,获取的资金再拿去做小贷… …
- END -
免责声明:本文章是基于上市公司的公众公司属性、以上市公司根据其法定义务公开披露的信息(包括但不限于临时公告、定期报告和官方互动平台等)为核心依据的分析研究;诗与星空力求文章所载内容及观点公正,但不保证其准确性、完整性、及时性等;本文中的信息或所表述的意见不构成任何投资建议,诗与星空不对因使用本文章所采取的任何行为承担任何责任。
版权声明:本文章内容为诗与星空原创,未经授权不得转载。
- 更多精彩 -

(点击图片获取全文)





到顶部