公司被强制执行4.5亿后,李亚鹏为尽快还清债务,再次创业获支持


9月8日,知名男演员李亚鹏通过直播的方式,对外正式宣布进军文创领域,将以书院为名打造全新文化传统品牌“書院造”,让更多人感受到中国文化的生活之美,在全网引起了不小的热议。

值得一提的是,现场直播效果非常不错,不仅有精彩的演出,而且还有温暖的故事。只不过李亚鹏看上去明显老了不少,虽说化了点淡妆,但还是可以从他脸上看到很多如同沟壑般的皱纹,属实是岁月不饶人,让人感慨万分。

不过话说回来,李亚鹏为了这个新项目,确实付出了很多精力和时间,很早就已经开始筹备,直到今天才问世。此前他多次通过自己的社交账号,发布视频宣传自己打造的品牌,希望能够得到大家的支持和喜爱。

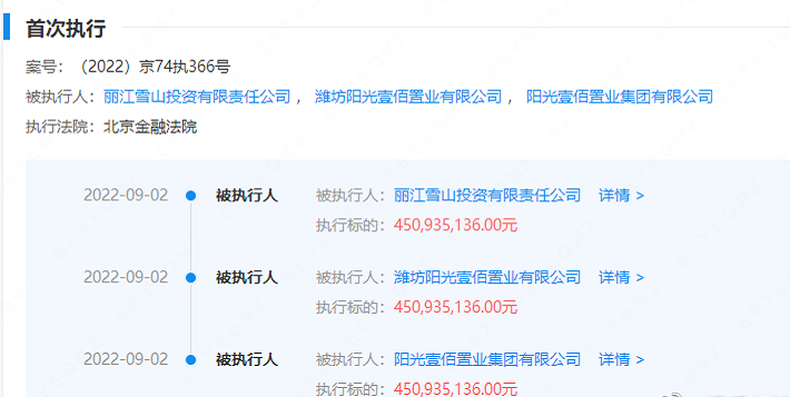
然而好巧不巧,就在几天前多家主流媒体突然对外爆料称,李亚鹏持股的投资公司新增了被执行人信息,执行标的高达4.5亿元。

即便如此,李亚鹏丝毫没有受到任何影响,该吃的吃,该喝的喝,跟往常一样更新视频给大家安利各种文创产品,比如说茶壶、毛笔和案几,等等。对此,很多人看到后纷纷表示佩服,说他心态是真的好,欠这么多钱还能够稳如磐石,不动声色。

而我们都知道,文创项目是针对于小众消费者,同样也是属于冷门生意,挣快钱显然是不现实的,靠的就是挣高额的客单价,一般的人是没有这个消费能力的。此前就有影迷明确表示道:“我是个小老百姓,只知道你讲得很高雅,但没办法买货支持你。”

事实上,相比直播带货这样简单粗暴的挣钱方式,李亚鹏更倾向于有文化内涵的生意,这个或许跟他的商业理念有关,以及身边朋友能够提供的资源和帮助有很大关系。但不管以怎样的方式去挣钱,当务之急就是要尽快还清债务。

因为在今年七月份的时候,李亚鹏欠债4000万案终审败诉的热搜话题,在当时全网引起了非常大的关注。后来迫于舆论压力,他在第一时间通过微博做出回应,表示坚决尊重法院判决并积极努力履行,同时还对外解释自己从未借过钱,只不过出于善心以个人名义承担了公司给对方的承诺。

由此不难看出,李亚鹏退出演艺圈后进军投资圈,一路走过来并不是很顺利,但要说失败倒是谈不上,毕竟很多商人走向成功,往往都经过很多次失败,不可能一帆风顺,李亚鹏亦是如此。

在上个月的时候,李亚鹏就对外释放了准备要直播带货的信号,去福鼎高山村去考察茶叶,那时的状态相当不错,分享了很多关于当地的风土人情,更新了不少日常视频,受到了很多人的关注。

其中就有影迷关心地问他还欠多少钱?李亚鹏不知道是开玩笑还是当真了,斩钉截铁回答道:“就差200了,兄台可否出手相助。”由此可见,他从未回避过欠债的问题,甚至有时候还会自嘲一番,这也难怪会有这么多影迷支持他,从未有过放弃的念头,单单就那股子不服输的精神,就值得很多人去学习。

-推荐阅读-
李湘送王诗龄去英国读书,住在安妮公主的房间,一年学费高达36万
杨丞琳在内地录制节目,自称是广东人遭死亡威胁,警告她不要回台
59岁李连杰近况曝光,在国外养病效果显著,精气神十足不再像老人
悼念安倍晋三遭网暴后,余文乐愈发憔悴不堪,在美国工作不再发博
罗志祥重返内地做慈善,公益报道连名字都没有,想要复出恐怕很难
到顶部