宝马自适应坐垫宽度专利曝光...



近日宝马的一项全新专利被曝光,专利是关于一种可调节宽度的坐垫,调节方式也非常简单,有媒体预测会搭载在F850上。

该专利可以让“短腿”骑车的问题得以解决,面对目前的车辆出厂座高,骑手有的是靠单脚着地来解决,但多少还是会影响骑手对车辆的控制,当然也有通过调借减震来解决。

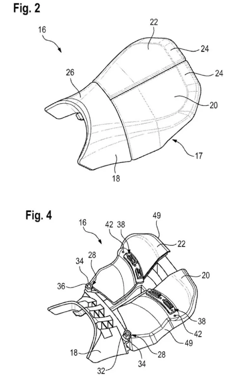
而宝马这个专利是靠坐垫来解决的,坐垫变宽了后,中间空两边下来。

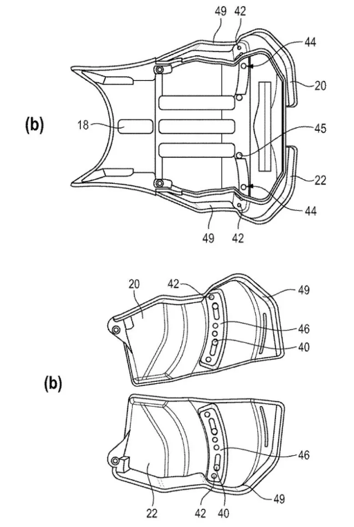
宝马的这款坐垫是由三个部分组成,前面窄,固定在油箱后面,后面两个滑动侧边部件,通过电动控制调节,实现骑行时用电子按键控制坐垫宽度,进而解决短腿的问题。

宝马在电控上一直都处于前列,前面就有电子可调悬挂,现在曝光的这个可调坐垫宽度相信对宝马来说也不会很难实现,就看搭载该功能的车型什么时候发布了。



每天都有精彩信息
长按图片 ↓
关注摩界联盟公众号


往期文章
1、内燃机技术再次有了新的突破...

在2022年初时,日本的川崎、雅马哈、斯巴鲁、丰田和马自达,来了一个结盟研发纯氢内燃机引擎,是一个非常有利摩托车发展的合作项目。然而最近美国的一家新创公司Astron公布的全新内燃机Omega 1,再次将摩托车的未来发展推到了一个新的高度.....更多详情>>
2、18999元起的春风AE8电动踏板...

春风电动踏板AE8突然发布,售价也很快公布,标准版18999元,S+版21699元,具体区别还有待进一步官宣。主要配置亮点包括中置水冷电机,0-50km/h加速成绩2.6秒,比刚刚在台湾上市的雅马哈EMF(3.5秒)还要快些,最高时速同样可达100km/h.....更多详情>>
3、2.3万的雅马哈EMF纯电动踏板车...

近日雅马哈发布了一款EMF纯电动踏板车,率先在台湾省上市,约合人民币23000元。该车是雅马哈EMF与城市交通公司Gogoro合作推出,直接接入现有的可替换电池网络系统,便捷性和实用性都很不错。.....更多详情>>
4、“人均杜卡迪” 网络怪现象被击破...

由于平时比较少上抖音等视频平台,不知道我国已经率先步入了人均杜卡迪的超级行列,直到昨天看到了大家的留言,才恍然大悟。2020、2021年全球受到疫情影响导致经济普遍衰退,但摩托车量这两年的销售成绩似乎不太受到影响,意大利车厂在最近杜卡迪公布2021年的亮眼销售成绩,杜卡迪在全球总共卖出59,447台,比2020年成长24%,更写下建厂95年以来销售最佳纪录.....更多详情>>
↙点击“阅读原文”看更多精彩视频
到顶部