继续操作前请注册或者登录。

56款新车即将上市!有3.5T四驱的福特和东风特种房车,真令人期待




Hello,大家好!
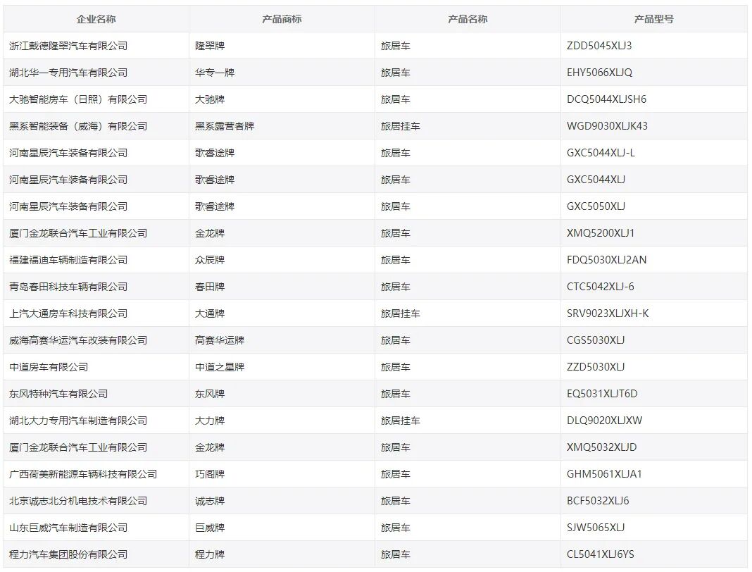
每月一期的工信部新车公示又如约而至,在第348批《道路机动车辆生产企业及产品公告》新产品公示中,共有56款旅居车出现,旅居车(自行式房车)46款,旅居挂车(拖挂式房车)10款;其中旅居车多为平头轻卡底盘类C型房车。值得关注的是,本期参与公示新车的企业,不少为“生面孔”,属于房车里的新企业,话不多说,还是来看看本期公示中我们为大家挑选的几款比较有看点的新车吧~



(以下车型排序不分先后)
No.1
赛家牌WHR5061XLJ旅居车
生产企业:湖北赛家房车科技有限公司
车型看点:东风客车底盘、6米以内C本蓝牌驾驶


扫码免费预约报名9月24日-27日上海房车展
看到这款赛家牌WHR5061XLJ旅居车的第一印象,就是这是一款长度超过7米的大巴房车,但是当我往下看到长宽高尺寸时,赫然写着长度5995mm,这是一款标准的C本蓝牌就能驾驶的车型,车身宽度和高度分别为2270/2370mm以及2890/2940/3110mm,属于比较主流尺寸。

尺寸比较主流,但是这个外观造型就比较小众了, 可以说是首次出现,这款来自东风超龙的客车底盘,外观看起来比较跳跃活泼,内部的设计却显得比较保守,简约的设计让车内的空间感表现不错,日常活动会比较自由,比起主流的依维柯、V90等底盘的B型房车,在空间上要更优秀。

动力上这款车预计会搭载的一台2.4T柴油发动机, 最大功率103kW,看起来动力还不错,但是要知道这款车的整备质量为5080kg-5780kg,最大总质量能够达到了6670kg,比主流的依维柯C型房车要中了20%以上,为此对于这款车的动力表现比较令人担心~

本次公示中,该品牌还有一款基于东风特种客车底盘打造的赛家牌WHR5073XLJ1旅居车,此前我们也介绍过类似底盘的房车产品,4.0T柴油发动机搭配四驱系统,以及强化后的底盘配置,可以让这款车拥有足够强大的户外通过能力。

No.2
宇通牌ZK5041XLJ7A6旅居车
生产企业:宇通客车股份有限公司
车型看点:基于大通V90底盘打造的C型房车

众所周知,目前宇通房车主流产品中,多是以依维柯欧胜作为底盘的车型,基于大通系底盘的车型并不是很多,多以B型车为主,尽管此前也推出过基于V90打造的C型房车,但许久不见更新,此次出现在新车目录中的车型,相信会是此前车型的一款升级改款产品。

这款新车外观依然是延续了宇通家族化的设计风格,大额头C型车身,沉稳干练、实用性也很不错,车身尺寸方面,长宽高分别为5990*2430/2370*3120/3080/2880mm,根据外部选装不同,车身宽度和高度会有所变化,总体而言依然属于主流尺寸。

动力方面预计依然会是来自上汽Π系列的2.0T柴油发动机,最大功率110kW,最大扭矩375N·m,匹配一部6AT变速箱,能够保证日常驾驶的舒适性。

生活区的设计,同样是延续了宇通自己的设计风格,简约时尚大气,经典的布局方式可以满足一家4-5口人使用,额头床、沙发床、尾床能够让全家人睡得舒服。
No.3
克蒂汽车牌JTW5041XLJ旅居车
生产企业:克蒂(天津)汽车有限公司
车型看点:匹配3.5T+10AT动力、有四驱的进口福特
这款新车应该是本期公示中我个人最期待的一款车型,期待的并不是这款车的内部设计如何,而是这款进口福特所搭载的猛禽同款3.5T+10AT的动力总成,以往我们在介绍海外新车的时候,不止一次介绍海外基于此款底盘打造的房车产品,现在终于进口到国内了,着实令人期待。

这款新车基于进口福特全顺打造而成的B型房车,外观看起来没有奔驰的商务大气,反而有种“特工车”的既视感,全车黑化的设计显得比较神秘,5982*2050*2558/2628mm的三围尺寸也并不显得高大,驾驶在路上显得比较低调。

在动力方面,则搭载了那套和现款福特猛禽同款的3.5T双涡轮增压发动机,最大功率达到了234kW,匹配一部10AT变速箱,还带有四驱系统,这样的动力总成可以说是相当强悍了,如果有人觉得房车用汽油机动力不足的话,那来试试这套动力,绝对比柴油机有劲儿、比柴油机舒服。

至于车内的设计,这款车的设计并不能得到我的关注,毕竟内部的设计有些过于商务化了,作为轻旅行重商务的车型还不错,但是作为长途穿越自驾游就显得有些格格不入了,大家觉得怎么样呢?
No.4
亚特重工牌TZ5046XLJNFEFAC旅居车
生产企业:唐山亚特专用汽车有限公司
车型看点:车企入行9年的纪念款车型

这款新车就是亚特推出的Y9纪念版车型,纪念的是亚特房车进入房车行业第9个年头,也可以看作是此前亚特推出的Y8等车型的升级改款。

Y9车型推出了两个底盘版本的车型,公示车型为依维柯欧胜底盘版本,据厂家消息还有一个基于大通V90底盘版本,至于选择哪款,就要根据每个人的用车喜好和预算来定了。

这款新车在外观造型上依然是延续了该品牌自家的设计风格,其中车身宽度最宽达到了2515mm,可以说是同类型房车中最宽之一了,如此带来的好处就是车内横向空间更大,并且车内额头床的长度也达到了惊人的2.3米。

在车内布局上,依然是比较主流经典的前会客区后厨卫区的组合方式,会客区采用L型沙发座椅,夜晚可拼单人床;驾驶室顶为额头床,可以满足2名成年人休息;车厢后方则是厨卫区域,值得注意的是车内卫生间由Y8的干湿分离设计变成了一体式设计,内部空间更大。


关于这款亚特Y9新车,后续我们也会推出详细的图文评测和视频解读,感兴趣的朋友可以持续关注我们哟~
总的来说,本期新车公示中,新车企不少,有趣的车型也挺多,您更关注哪款车型呢?欢迎在下方评论区与我们留言互动,咱们下期内容见~


预约看车点击下方阅读原文
到顶部