继续操作前请注册或者登录。

多款“百姓房车”即将上市!10多万起售功能齐全,还有奇瑞新车




Hello,大家好!
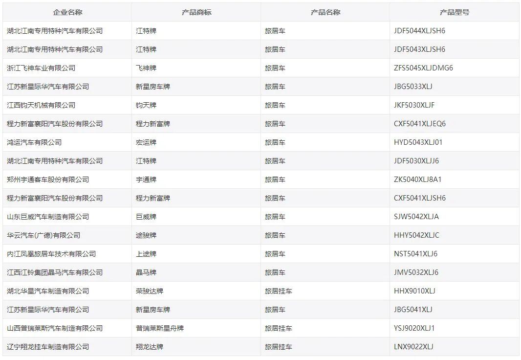
又到了每月一期的工信部新车公示环节啦!本期公示又会有哪些企业推出了哪些新车型呢?一起来看看吧~在工信部第343批《道路机动车辆生产企业及产品公告》新产品公示中,共有58款新车型参与公示,其中包含旅居车(自行式房车)43款,旅居挂车(拖挂式房车)15款,在数量方面是最近几次新车公示最多的一期,尽管新车数量比较多,我依然按照惯例,挑选了几款比较有亮点、未来上市后关注度会比较高的车型介绍给大家。



(以下车型排序不分先后)
No.1
普拉兹牌CRV5040XLJV90D旅居车
生产企业:安徽奇瑞瑞弗特种车辆技术有限公司
车型亮点:该品牌首款大通V90房车、颜值比较高、内部设计有亮点

识别下方二维码获取车辆详细配置信息和报价

这款奇瑞瑞弗旗下的首款基于大通V90底盘打造的房车,采用了自行式B型车身设计,保证了整车拥有不错的通过能力,虽然是基于普通版车型打造的B型房车,但外观加入了不少独有的设计,如车顶加入了LED条灯、车顶行李架、车尾爬梯等,使得整车看起来酷劲儿十足。

通过公示信息也可以看到车身外部提供了多项选装,如轮毂、车头进气中网以及车身颜色等,进一步提升了整车的实用性和个性化。车身尺寸方面,长宽高分别为5940*2110/2140*2835/2940mm,根据外部选装不同,车身宽度和高度会有所改变。


动力依然是搭载的上汽Π系列2.0T柴油发动机,最大功率110kW,最大扭矩375N·m,匹配一部6AT变速箱,满足国六排放。

关于内饰部分,通过仅有的几张公示图可以看到,依然是采用了较为常见的布局,前方为会客区,采用双人正向座椅+餐桌的设计,车厢中部为厨卫区域,值得点赞的是卫生间内部表现挺不错,车尾的休息区采用的三折式的尾部横置双人床,将床板掀起就能变成一个比较大的储物通道。
No.2
中恒旅牌ZHH5068XLJ6旅居车
生产企业:湖北中恒汽车装备有限公司
车型亮点:2.8T柴油轻卡、自动挡、内部空间超越依维柯房车

这款中恒旅牌ZHH5068XLJ6旅居车是一款基于上汽跃进轻卡底盘打造的C型房车,不过和常见的那些基于跃进H300(2.0T动力)打造的轻卡房车不同,这款新车采用的是跃进H500底盘,动力提升到了2.8T柴油机,最大功率提升到了107.5kW,,最大扭矩达到了400N·m,匹配一部6AMT自动变速箱,国六排放,基本上达到了国六依维柯3.0T的动力水准。

车身尺寸看起来比较宽大,但实际上长宽高仅为5900*2300*2950mm,和依维柯相差不多甚至还要小了一些,但由于轻卡自身设计的优势,车厢内部的空间要比依维柯底盘打造的C型房车要大了不少。

再加上轻卡车型本身较高的离地间隙,为这类房车提供的不错的通过能力,也因此是不少“老司机”车友比较青睐的房车底盘类别,关于这款中恒新款房车,大家觉得怎么样呢?

No.3
新星房车牌JBG5033XLJ旅居车
生产企业:江苏新星际华汽车有限公司
车型亮点:微卡底盘打造、价格亲民、内部生活设备齐全

这款新星房车牌JBG5033XLJ旅居车是一款基于福田祥菱微卡底盘打造的自行式C型房车,众所周知基于此款底盘打造的房车,大多是走的亲民路线,价格普遍在10多万左右,个人推测这款新车价格也会在此区间。

说回这款新车,整车造型设计和常见同底盘车型相当,只不过根据新星房车一贯的设计风格,车身材质预计会继续使用航空铝板材质,内部带有铝合金骨架,车身强度预计会比其它品牌同底盘车型更强一些。

车身尺寸长宽高分别为5801*2030/2135*2850mm,整体尺寸比起依维柯C型房车小了不少,显得比较修长,如此带来的好处则是提升了日常驾驶的便利性;动力方面预计会搭载一台1.5L或1.6L汽油发动机,最大功率分别为85kW和90kW,匹配手动变速箱。

车内的设计从公示图中可以看到,整体布局相对较为传统,但各个生活区设置的比较到位,四人卡座沙发采用乘用车座椅,日常舒适性不错,车尾部的卫生间功能也比较齐全,同时内部细节也很出色,睡卧区提供了一张纵置双人床,猜测可选上下双层床。

No.4
宏运牌HYD5043XLJ01旅居车
生产企业:鸿运汽车有限公司
车型亮点:20万以内的大空间房车

这款宏运牌HYD5043XLJ01旅居车基于大通V80长轴底盘打造而成,整体看起来比较普通,但是我们从厂家处了解到这款房车的定价不到20万,可以说是同类型底盘房车中价格最亲民车型之一。

作为一款B型房车,整车外观基本上保持了普通版V80的造型设计,长宽高分别为5785/5950*1998*2345/2552/2750mm,根据选装不同,车长和车高会有所调整,动力上搭载的是一台2.0T柴油发动机,匹配手动或AMT自动变速箱,同时车身外部可选装自行车架、车顶爬梯、遮阳棚等外部设备。

关于这款车的内部,属于中规中矩的设计,但由于采用的长轴底盘,内部空间要远大于短轴V80房车。车内采用四人对坐沙发,卫生间采用卷帘式设计,车尾部提供了一组上下床层床,可以满足一家3口人住宿。

总的来说,本期工信部新车公示中推出了58款新车,每款车型都有自己的特点,除了今天介绍的这四款车型意外,还有多款未来上市后价格在10万以内的拖挂房车,可以说是降低了普通百姓玩房车的门槛,尤其是上文介绍的新星房车牌JBG5033XLJ旅居车和宏运牌HYD5043XLJ01旅居车,相对比较亲民的售价,还提供了比较齐全的生活设备和充裕的活动空间,对于那些想体验房车旅行但预算不足的朋友来说,是个不错选择。好了,本期工信部新车公示内容就分享到这里,欢迎大家在下方评论区与我们留言互动,咱们下期见!


预约看车点击下方阅读原文
到顶部