继续操作前请注册或者登录。

一大波国产房车即将上市!这5款全都带四驱价格还不贵,通过性好




Hello,大家好!
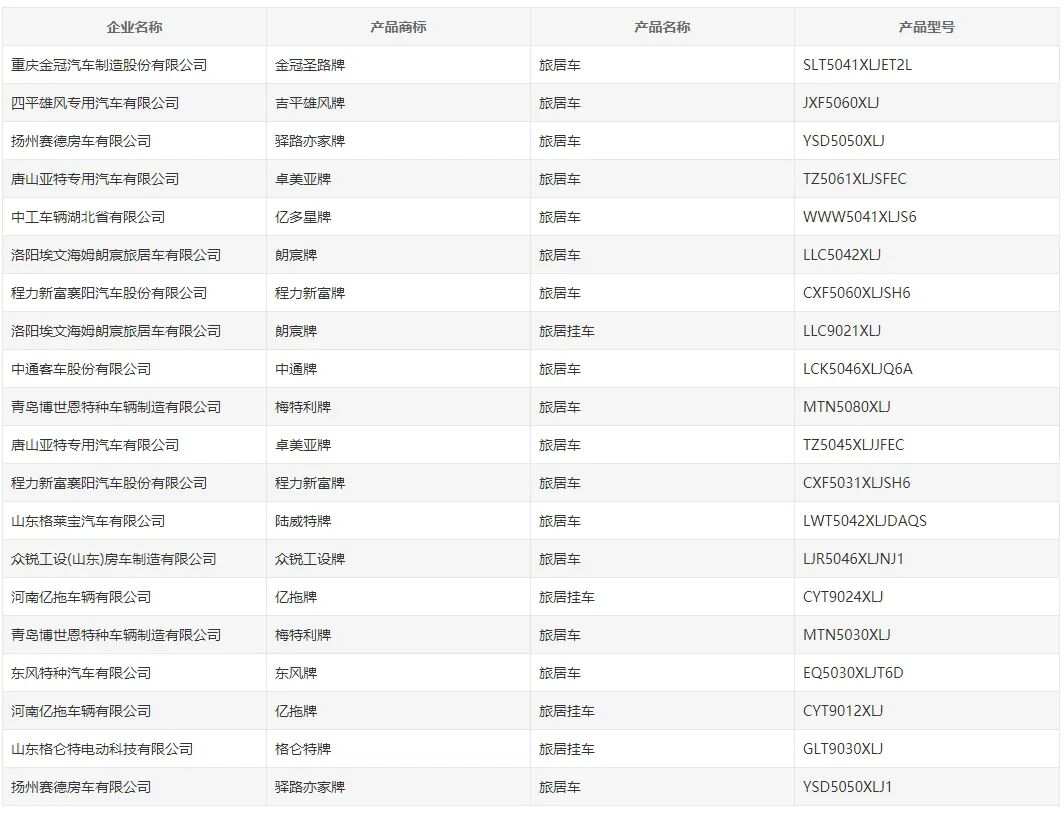
又到了每月一期的工信部新车栏目啦!今天咱们一起来看看工信部第349批《道路机动车辆生产企业及产品公告》新产品公示中有哪些新款房车即将到来吧~本期新车公示中共有旅居车46款,其中旅居车(自行式房车)40款,旅居挂车(拖挂式房车)6款,按使用底盘类型来看的话,涵盖了依维柯欧胜、大通V90、上汽跃进轻卡等主流底盘,除此以外还有5款使用了不同皮卡底盘的新车型,这对于目前国内皮卡类房车底盘比较单一的情况来说无疑是个比较不错的信息,今天咱们就来看看这几款采用不同皮卡底盘的新车型有何不同?能否挑战今年的当红车型——览众自由炮!



(以下车型排序不分先后)
No.1
长安牌SC5033XLJFYAA6旅居车
生产企业:重庆长安专用汽车有限公司
车型看点:首款长安皮卡房车、后入门设计布局新颖
这款长安牌SC5033XLJFYAA6旅居车是一款基于长安凯程单排皮卡打造的C型房车,这款车是首款采用此款底盘打造的房车。


扫码免费预约报名11月19日-22日广州房车展
在底盘方面,这款车并没有使用长安已经上市销售的凯程F70双排版皮卡作为底盘,而是使用的单排版底盘,目的就是给生活区预留更多空间,以此来改善皮卡房车空间小的弊端。在车身尺寸方面,这款车的长宽高分别为5995*2110*3005mm,总质量3450kg,整车高度超过了3米这在皮卡类房车中还是比较少见的,在一定程度上限制了驾驶便利性,不过更高的车身对于内部空间倒是有不错的贡献,这点从外观上也能初见端倪,高高的额头,看起来总觉得怪怪的,没那么协调。

另外这款车还采用了一个后入门的设计方式,有别常见的左侧入门,如此带来的变化就是生活区的布局有所改变,尽管没有内饰全景图,但从细节图上可以猜测,这款车的生活区内部提供了一张大尺寸额头床、独立厨房、卫生间以及两张舒适性看起来挺不错的乘用车座椅。

动力方面,根据公示内容猜测有可能是搭载的是一台2.4T柴油发动机,最大功率155kW,峰值扭矩320N·m,匹配6挡手动变速箱或6挡自动变速箱,高配车型提供了四驱系统。我们也大胆猜测这款车上市后售价预计会在25万元左右,大家觉得如何呢?
No.2
新逾捷牌XYT5046XLJBAW1旅居车
生产企业:重庆新逾捷特种车辆有限公司
车型看点:北汽勇士双排皮卡、外观装甲范儿
这款新逾捷牌XYT5046XLJBAW1旅居车是一款基于北汽勇士双排皮卡打造的C型房车,而且有一点需要注意,底盘类别不是二类底盘,而是整车,这也就意味着在底盘的完整性上要更好。

除了北汽勇士带给这款新车的底盘加持外,在外观造型方面,这款车也挺有意思,全车采用了迷彩涂装,方正的车体加上各种金属窗以及护栏,让整车看起来有点现役JUN车的感觉,不知道开着这款车出去玩,会不会被各种检查~

尺寸上,这款车的长宽高分别为5990*2040/2095*2980mm,轴距3695mm,总质量4465kg,和主流皮卡房车相当,只不过总质量要重了一吨左右。不过这款车动力搭载的是一台2.4T柴油发动机,最功率103kW,油耗申报值仅为10.6L/100km,对于这样的一款车来说还是比较不错的。

车内的设计就要常规一些了,和常见的双排皮卡房车相似,前方有大尺寸额头床,中部为对卡座可变沙发床,车尾部厨卫区域。
No.3
程力新富牌CXF5031XLJSH6旅居车
程力新富牌CXF5031XLJSH6旅居车
生产企业:程力新富襄阳汽车股份有限公司
这款程力新富牌CXF5031XLJSH6旅居车是一款基于上汽大通T90底盘打造的C型房车,对于这款新车之前我们也做过详细的介绍,可以说是首款基于大通T90打造的皮卡房车,并且还采用了一个弹出式车顶的设计,为此整车高度仅为2160mm,这对于户外穿越以及城市内驾驶都有着不错的表现。

另外车身的长度和宽度分别为5640*1900mm,比起主流的皮卡C型房车也要小了不少,基本上和普通皮卡相当,进一步提升了驾驶的便利性。动力上则搭载的是一台2.0T柴油发动机,最大功率120kW,匹配自动变速箱以及四驱系统。

另外值得一说的是这款车的驾驶室舒适性和设计感也很不错,和以往工具型的皮卡有着较大的区别,可以算是长城炮的有力竞品车型。

至于这款车的生活区,设计的也比较有新意,采用的是后车厢盖全掀起的形式,有点家用SUV后备箱打开的感觉,打开以后就是车内的厨房和淋浴区,受限于车身尺寸,内部空间并不是很大,舒适性比起常规皮卡房车要差不少,但和露营车相比还是要舒服不少的。
No.4
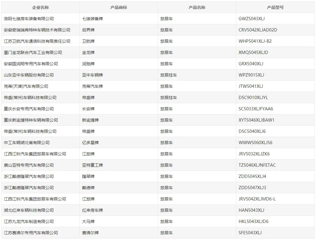
梅特利牌MTN5030XLJ旅居车
生产企业:青岛博士恩特种车辆制造有限公司
车型看点:带升顶江铃皮卡房车
这款梅特利牌MTN5030XLJ旅居车基于江铃域虎7打造而成,同样采用的是升顶设计,目的就是为了降低车身高度,提升整车在户外穿越时的通过能力。

由于采用了升顶设计,整车的尺寸并不是很大,长宽高仅为5962*2020/2210*2090mm,日常驾驶会更轻松一些,当然驻车以后,升起车顶就可以增加生活区空间,只不过隔热保温能力值得商榷。

动力方面这款车搭载的是一台2.0T柴油发动机,最大功率104kW,匹配6挡手动变速箱或8挡自动变速箱,带有四驱系统。至于车内的设计,通过公示图可以看到,内部的设计相对较为常规,提供了额头床、对卡座沙发、厨房、独立淋浴等设施,基本上可以满足日常使用。

No.5
东风牌EQ5030XLJT6D旅居车
生产企业:东风特种汽车有限公司
车型看点:单排锐骐皮卡房车、升顶设计通过性好
这款东风牌EQ5030XLJT6D旅居车基于东风锐骐6皮卡底盘打造而成,和此前上市的同底盘车型不同的是,这款新车采用的是单排驾驶室版,为此生活区的空间会更大一些,并且这款车也采用了升顶的形式,目的就是为了保证拥有更好的通过能力。

在公示图中我们还发现一个端倪,就是这款车配备了两扇车厢门,一扇位于常规的右侧,另一扇位于车厢尾部,一般情况下如此设计的尾门尺寸都比较大,目的是为了方便向车内搬运行李、设备。

而这款车的内部空间确实挺大,车厢尾部的预留出了足够大的一个通道,可以满足把大件行李甚至是自行车放进去。

动力上,预计搭载的是一台2.3T柴油发动机,最大功率120kW,6挡手动或8挡自动变速箱,带有四驱系统。

以上就是本期新车公示中的5款基于不同皮卡底盘打造的房车,这几款全新的皮卡房车底盘不同、动力不同、车身形式也不同,但都具备了皮卡相对更舒适的驾驶舱、高通过能力以及四驱系统,未来上市后,大家更看好哪款呢?如果和览众自由炮相比,会选谁呢?


预约看车点击下方阅读原文
到顶部