46款新车将上市!10来万就能开上房车,新款五十铃平头房车很热门





Hello,大家好!
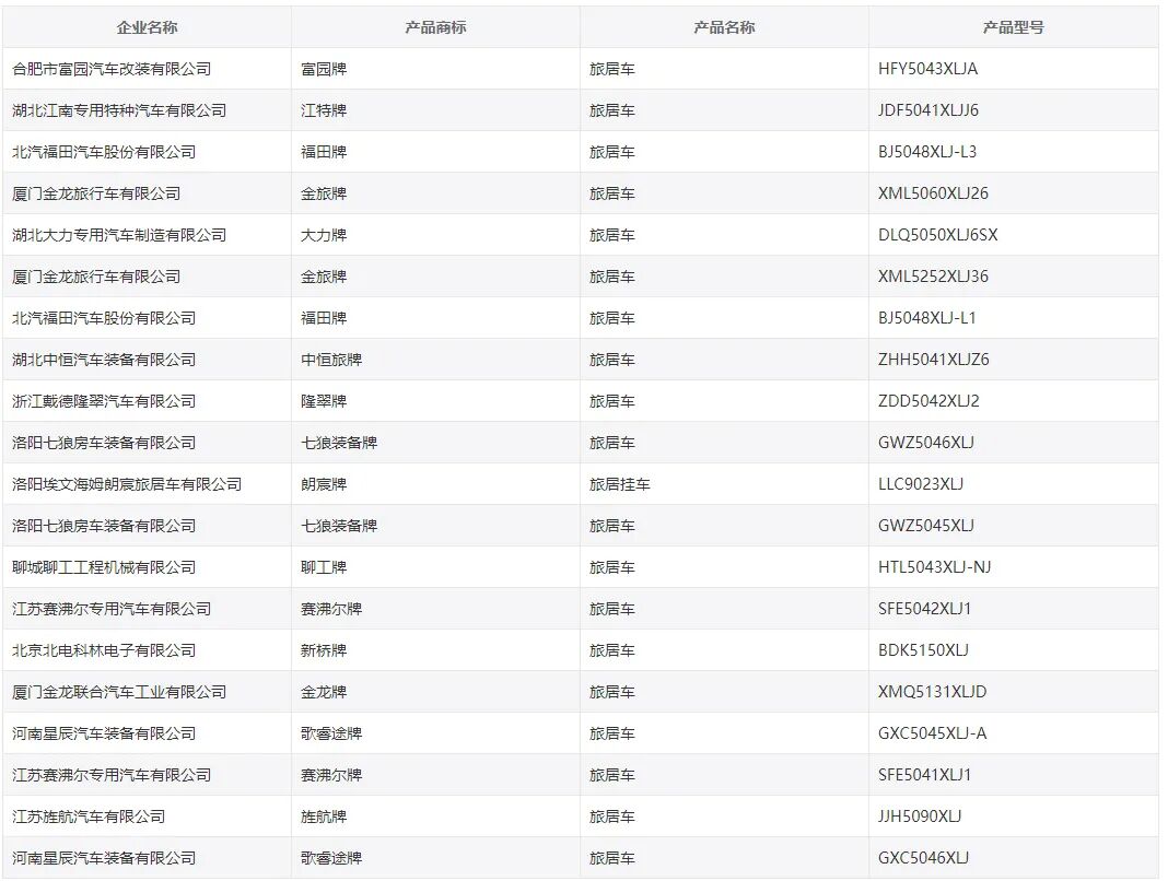
又到了每月一期的工信部新车公示环节,本期是第350批《道路机动车辆生产企业及产品公告》新产品公示,在本期新车公示中共有46款旅居车参与,其中旅居车(自行式房车)40款,旅居挂车(拖挂式房车)6款,数量与近几期相比较为平均。不过在本期公示中所涵盖的房车底盘类型却比较多,除了常规的南京依维柯欧胜、大通V90/V80以外,我们还看到了几款基于北汽福田、金旅大巴车、福田微卡、五十铃700P轻卡等底盘打造的新款车型,其中不乏多款售价在10多万的自行式房车。老规矩,我们还会挑选几款比较有看点的新车分享给大家,一起来看看吧~



(以下车型排序不分先后)
No.1
七狼装备牌GWZ5046XLJ旅居车
生产企业:洛阳七狼房车装备有限公司
车型看点:设备齐全、短轴底盘、价格亲民
这款七狼装备牌GWZ5046XLJ旅居车基于短轴中顶的大通V80底盘打造而成的B型房车,新车外观和常见B型房车保持一致,简单低调的外观行驶在路上不会引起过多的关注。

由于采用的短轴底盘,整车尺寸不是很大,长度最长仅为5190mm,最高为2500mm,宽度为1998mm,对于日常驾驶来说还算轻便。动力上预计会搭载一台2.0T柴油发动机,匹配6挡手动或自动变速箱。

生活区的布局相对来说要常规一些,但并没有一位内尺寸小就减掉了必要的生活设施,固定床、小厨房、卫生间以及双人沙发均齐全,两大一小长途旅行也能住的比较轻松。

关于售价,结合目前市场上在售的同底盘房车,我猜测售价会在15万-20万之间,这样的价格在自行式房车里还算是比较便宜的。

No.2
高赛华运牌CGS5031XLJ旅居车
生产企业:威海高赛华运汽车改装有限公司
车型看点:不到15万的高品质房车
接下来这款房车之前我们也在展会上为大家介绍过,价格更是亲民,低配价格在15万左右,并且内部的空间和做工都挺不错,这款新车基于福田微卡底盘打造而成,整体外观属于那种比较耐看的类型。

车身尺寸也不是很大,长宽高分别为5890*2100*2660mm,修长的车身为车内提供了比较不错的进深空间,对于日常使用来说完全没有问题,动力上就要拉跨一点了,仅提供了一台1.6L的汽油发动机,匹配一部手动变速箱,动力表现一般,开起来也有种农用车的感觉。

但是生活区的设计却挺出乎我的意料之外的,空间表现不差,内部家具做工以及配色也很好,远高于这个价位车型的平均水平,甚至比一些依维柯欧胜底盘的房车表现还要出色,另外卫生间还采用了一个干湿分离的设计,十分巧妙。

对于这样一款售价在15万左右的房车,除了动力和驾驶感受有些差强人意,内部空间以及生活区的整体氛围营造我举得都属于超级划算的范畴,另外车内还配备了齐全的水电设施,结合这个价格,还要啥自行车啊~

No.3
舒野牌FXV5044XLJNJ6L旅居车
生产企业:濮阳市飞翔房车实业有限公司
车型看点:首款B+C结合的依维柯房车
接下来这款房车更有意思,第一眼看到公示图,单纯地认为就是一辆基于南京依维柯欧胜底盘打造的B型房车,但仔细看后才发现,原来是一辆“魔改”的C型房车,和这个品牌其它车型一样,都是为了获得更大的车内空间,但又想保证车身强度,才有了这样的设计。

这款新车整体看起来外观毫无违和感,车长为5970,车高最高为3000mm,与主流依维柯B型房车相当,不过2340mm的车身宽度基本上已经达到了主流C型车的范畴,主次带来的好处就是车厢内部横向空间的增加。

而车厢内部的设计对于这个品牌来说也有自己的独到之处,加宽后的车厢内部再设置了一组航空做以后,依然可以容纳下厨房区域并且提供一个比较不错的通道,这是常规B型房车锁不能办到的。

总的来看,这款采用了B+C设计理念的依维柯房车,拥有大空间、高通过率等优势,相信未来上市后会得到一部分消费者的喜爱。

No.4
旌航牌JJH5090XLJ旅居车
生产企业:江苏旌航汽车有限公司
车型看点:基于五十铃700P轻卡打造房车
这款旌航牌JJH5090XLJ旅居车采用了市场上较为少有的庆铃五十铃700P平头轻卡作为底盘,得益于不错的底盘承载性和五十铃的技术加持,对于喜欢轻卡类房车车友有着不错的关注度。

车身外部的设计是比较方正的,和主流轻卡房车较为相似,方正的额头造型另整车看起来颇为高大,高度已经到达了3320mm,不过由于车身长度依然控制在6米以内为5995mm,同样满足C本蓝牌驾驶。

动力上预计会搭载一台5.2T柴油发动机, 最大扭矩达到510N·m,匹配自动变速箱,动力强驾驶难度也不高,而生活区的设计最大的优势会在于空间方面,毕竟这也是平头轻卡房车娘胎里自带的优势。

总的来说,这款基于五十铃700P平头轻卡打造的新款房车,还是比较值得让人期待的,毕竟目前市场上的轻卡房车多是2.0T的“小排量”动力。

以上就是本期工信部新车的全部内容啦,关于这几款新车,大家更看好哪款呢?欢迎在下方评论区与我们留言互动,咱们下期见~


预约看车点击下方阅读原文
到顶部