从“佛媛”到未成年,小红书的流量毒药





伯虎点睛:内容陷阱,电商迷途。
文 | 唐伯虎

小红书又被央视点名了。
 
因泄露未成年身体隐私,小红书被卷入舆论风波。平台做出回应,“我们深知未成年问题无小事,需要持续提升治理能力,加大治理力度。”
 
这不是第一次了。几乎每隔一段时间,小红书都会爆出新的话题,从“接男宝”、“拼单名媛”、“佛媛”到“滤镜景点”。如果说快手是农村底层生活的“媒介奇观”,小红书则是城市消费的另一种“媒介奇观”,难以置信的社会现象在这里被扭曲,被围观,被放大。
 
作为平台,它需要热度,可又惧怕这种热度。
 

变质的内容
 
内容一度是小红书的王牌。
 
2013 年,斯坦福海归毛文超与外企白领瞿芳两人,抓住信息不对称的痛点,从海淘笔记切入,做起了购物社区。两年后,小红书成为了投资人眼中的香饽饽,一路融到了C轮,投资方包括腾讯。
 
当时,小红书称,用户必需是“真实”的,购物体验也是“真实”的。
 
可是一旦转为UGC的生产模式,真实便成了雾里看花,只是一件“外衣”。在灰产群中,一篇小红书种草笔记标价50元到2000元。
 
就这样,内容逐渐走偏。
由于刷单成风、数据造假、谣言泛滥,加上涉黄的问题不断,小红书曾被“下架”处理。2019年,一组小红书自己发布的“反作弊报告”称,平台平均每天清理刷量笔记4285篇。
 
创始人瞿芳把这归因为“初期平台规则不完善、不够成熟”。
 
自那之后,各种“严打”就没有停。针对跑车豪宅的“炫富治理”,针对粉丝打榜的“饭圈乱象治理”,针对假医美的“臻美行动”,还有“暑期未成年人网络环境保护”。
 

(小红书搜索关联词,截图自百度)
2020年10月,治理当月,7383个违规账号被断流,21.3万篇笔记被处罚。
 
只是,一年又一年,“擦边球”还是打个不停。
 
以广告为主的盈利模式,决定了“好看的数据”是平台与内容生产者共谋的表面繁荣,哪怕它是皇帝的新衣,小红书对于KOL们也实则难以挥舞大刀。
 
内容治理,还只是小红书眼前的小问题。
 

电商的迷途
 
根据第三方平台易观发布的数据显示,截至2021年8月小红书月活用户约1.6亿,同比2020年1月增长97%,日活用户同比增长110%。其中90和95后正成为最活跃的用户群体。
 
对于一个上线8年的社区,屡次传出上市,投资人对它的期待,不仅于用户持续增长,更在于商业化。
 
电商之路,对小红书而言是必选,可它走得也真是坎坷。
 
凭借海外消费基因,它试过跨境电商。
 
起点凶猛。2014年12月,小红书正式上线电商平台福利社,开设保税仓。据说,在不做推广,不打广告的情况下,福利社的销售额在半年时间突破2亿。
 
可是春天短暂。
 
不到两年,跨境电商即遭遇灭顶之灾。跨境新税制出台,针对利用跨境电商实施的走私违法活动明确予以严厉打击,且消费者通过跨境电商消费限额为2万元/年。
 
跨境电商冷却之后,小红书花了一点时间才缓过来。
 
它也不是没有试过直播电商。
 
2019年6月,小红书开始直播测试,2020年才开始大范围推广。
 
别说搭上末班车,黄花菜都凉了。
 
11月,小红书头部穿搭博主开播带货7个小时,直播间平均人数只有2000人左右,上架的50多款限量版服饰,也仅有少数几款售罄。这已经是小红书上全站第一的热度了。
 
与之形成鲜明对比的是,2020年,抖音日活跃用户已经破6亿,淘宝直播上薇娅年销售额登顶202亿。
 
瞿芳曾说小红书像个“金矿”,很多人想来挖。它的流量,着实也成就过完美日记这样的国货新品牌,可是神话没有批量复制。
 
社区还可以热闹,可它给不了电商需要的真实转化。尤其在当下的环境中,新消费品牌也没有余粮了,小红书上的KOL们恐怕也难以为继。
 

上市的难题
 
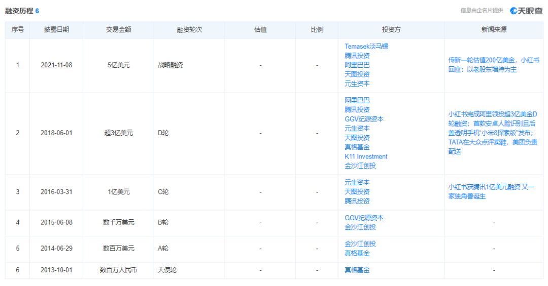
11月,小红书宣布完成新一轮5亿美元融资,投后估值超过200亿美元。本轮融资由淡马锡和腾讯、阿里领投,天图投资、元生资本等跟投,以老股东增持为主。
 
据天眼查APP显示,小红书累计六轮融资额超9亿美元。上一轮融资还是三年前,当时投后估值为30亿美元。
 

(融资历程,图源:天眼查APP)
 
融资之后,便吹起了上市的风。可上市之后,究竟对标谁,都是个问题。
 
对标微博吗?
 
小红书的盈利主要来自四个部分,即KOL/KOC(关键意见领袖和关键意见消费者)种草带货、会员体系、电商直播、广告收入。
 
2018年,小红书曾获得阿里领投的D轮融资,理论上有抱紧淘系大腿的可能。只是,相对崛起的淘宝直播,小红书的导流作用有限。更何况,前者也正陷入市值管理的瓶颈中。
 
对标蘑菇街吗?
 
从2018年底上市后,蘑菇街的市值就从超200亿元人民币缩水至如今的不到10亿元。
 
前途不太光明。
 
根据第三方统计数据,小红书1亿月活中18-34岁用户占八成,女性用户占比为90.41%。
 
针对此,今年上半年小红书推出了“男性内容激励计划”,明确对数码、潮流、运动和汽车等男性用户更喜好的内容提供20亿流量扶持。
 
到7月份,小红书官方数据显示,男性用户占比已经达到30%。
 
如何不让破圈影响平台调性,小红书还在努力。
 
横亘在垂直社区面前的两道难题,增长和变现,豆瓣虎扑仍在迷雾中,小红书也需要新解题思路。
 
*文章封面首图及配图,版权归版权所有人所有。若版权者认为其作品不宜供大家浏览或不应无偿使用,请及时联系我们,本平台将立即更正。
        今日话题

Topic:你如何看小红书的商业化?
我们将挑选1位评论用心且点赞数较高的用户
送出一本《重装突围》
          截止时间12月7日18点



往期推荐阅读





让我知道你“在看”哟~
到顶部