继续操作前请注册或者登录。

百果园,等待IPO的困兽





伯虎点睛:半路杀出的社区团购,打碎了百果园的水果零售大王之梦。
文 | 唐伯虎

同程生活、食享荟、十荟团陆续熄火转型之后,人们戏称社区团购是“最短命”的百亿狂欢——资本在这场实验中落败,徒留一地鸡毛。
 
喧嚣过后,最尴尬的,并不是这些创业公司,而是被冲击得七零八落的线下实体店,比如:百果园。
 
这家已成立20年的水果连锁企业,屡次传出上市消息,从纽交所、到港交所,又到最近的创业板,却最终卡在了上市辅导期。
 
IPO始终无法落听的背后,是资本的无尽犹疑:虽位处水果类垂直零售头牌,但传统连锁店的故事早已经不悦耳了。在每日优鲜和叮咚买菜股价大跌之后,前置仓模式也暂时提供不了什么溢价。
 
最难的是,美团、拼多多、阿里的社区电商来势汹汹,它们不仅品类丰富、还价格便宜。巨头当道,百果园的前路似乎被堵住了,它要怎么突围?

20年,5014家店
 
余惠勇是江西人,1991年从江西农业大学毕业,曾在农科院做过一段时间食用菌研究,在生产基地赚得第一桶金,便勇闯深圳,20万砸进股市,落得个血本无归。
 
余惠勇只好又回到农业老本行,靠销售山东富士苹果回血之后,涉足水果批发,而后顺势开了一家水果店。

(余惠勇,图源:网络)
2002年,百果园第一家店在深圳开业。据说第一个月销售额就有十几万,余惠勇尝到了甜头,把在老家教书的妻子徐艳林也拉过来一起做生意。
 
从1家店,陆续开到4家店,余惠勇发现流水看上去不错,但利润不见得高。快速规模化,借助渠道起量,加强与供应商的议价能力,是当务之急。
 
缺少资本的情况下,开放加盟,成了扩张的捷径。在这个阶段,加盟的好处是可以通过轻资产运营,快速增加门店数量,余惠勇在上游把控供应链资源,又可坐收品牌授权之利。
 
但加盟也是一把双刃剑。
 
“串货”成了一些加盟商心照不宣的秘密。为了赚取更高的差价,加盟商总是私自采购便宜货品,这种现象一度被央媒曝光,称百果园以次充好,利用消费者不知情,用国产香蕉充当进口香蕉。
 
你怀疑我加价,我怀疑你私采,双方信任关系摇摇欲坠,2007年,余惠勇索性停止加盟,用3年时间回购了近百家加盟店,改为自营。
 
回购之后的自营,百果园借鉴了海底捞的员工持股模式,在资金压力与管理效率之间力求平衡。
 
余惠勇让有经验、懂销售的员工成为新店开业的带店店长,并适度持有门店股份。投资比例为店长持有20%至40%股份,百果园公司持有60%至80%。
 
到2015年,百果园在全国门店数量超过1000家。它变得越来越重——资金重、运营重、管理重,也许有不得已,资本在这时候引入。
 
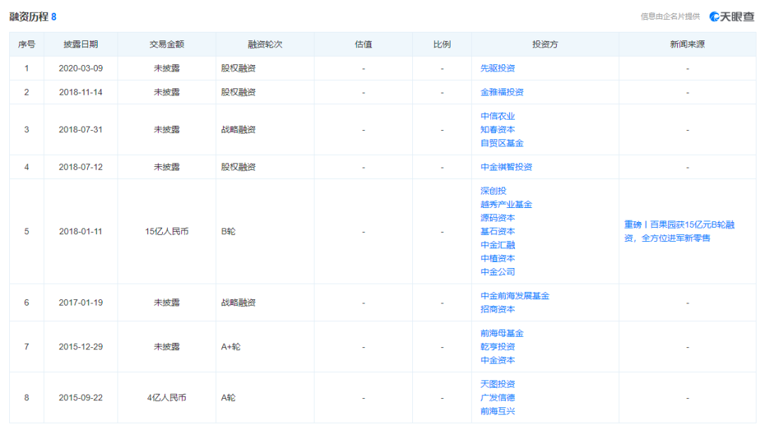
据天眼查显示,百果园在2015年9月获得了天图投资、广发信德、前海互兴等机构的4亿人民币A轮融资。
 

(百果园融资历程,图源:天眼查)
 
这是百果园成立13年之后的首轮公开融资。有了资本助力,加上重新开放社会加盟,又并购了竞争对手果多美,百果园扩张的步子迈得更大了,到2019年末,门店数量突破4000家。用4年的时间,就实现了比前面13年三倍还多的规模。
 
百果园成了国内规模最大的水果零售商。
 

社区团购的降维打击
 
按照余惠勇的设想,“2016年,公司内部第二个‘五年规划’出炉,定下了2020年开1万家店、年销售额达到400亿元的目标。”
 
但根据极海品牌监测的数据显示,截止2021年8月1日,百果园门店覆盖全国115座城市,在营门店5014家,距离当初设下的小目标差一大半。
 
这两年,百果园的步伐,明显受到社区团购与电商巨头的干扰。从商业模式上,说是对百果园形成降维打击一点也不为过。
 
原本,在电商突飞猛进的早些年,百果园凭借着水果讲求品质、电商物流难搞、需要当面交易的品类特征,比其他实体店更稳固地守住了自己的城堡。
 
然而,世界在飞速发展。随着生鲜物流基础设施越来越完备、体验越来越好、效率越来越高,百果园的优势渐渐被抹平了。
 
更受打击的是,从多多买菜、到美团买菜,这些平台都有丰富的资本、敢于烧钱补贴,在价格上就形成了定位中高端的百果园的无情碾压。
 
以拼多多旗下的多多买菜为例,高频蔬菜带动低频水果,品类之间的联动效应,又反向驱动整个农产品供应链的开放合作,这完全是单品类的百果园望尘莫及的。
 
百果园花了20年才打造的供应链壁垒,通过入股的方式掌控了不少的果园,可在电商巨头面前,也变得渺小了起来。
在终端,百果园一度以紧挨着社区开小店为主打策略,面积40平左右,收获过不错的效益。可要等到社区团购的宝妈们涌进来,余惠勇才会真正意识到:物理距离再近,也比不过直攻用户关系来得有效。后者还省下了不少门店成本。
 
徐惠勇不是没有考虑过转型线上渠道与社区团购。
 
百果园在2020年疫情期间通过线上电商直播带货的业绩据说占据总营业额的20%,可这,对百果园来说,并非全然增量。一旦线上放开低价营销,必然冲击它原有的加盟渠道,这不就自己和自己打架了吗。它所做的也就是把因疫情而受阻的交易,搬到了线上。
 
值得一提的是,百果园还曾经投资过社区团购公司同程生活,可惜,同程生活自己也凉凉了。

(图源:天眼查)
当2020年10月,百果园上线它的“熊猫大鲜”,意欲亲自插足社区团购时,已经晚矣,巨头笼罩之下,哪里还有它的一席之地。
 
退一万步讲,社区团购的玩法,本身也不太适合百果园这种高端水果零售定位。无论是向内求,还是向外求,百果园始终不得其法。
 

困在围城
要不要做品类扩张,实现平台化发展?余惠勇应该也想过。
 
早年间,百果园喊出的口号是成为“生鲜亚马逊”,以水果为起点,拓展到关联品类、乃至全品类的综合生鲜平台。
 
百果园还在一线城市投放了“无人货架”外,从水果向果蔬蛋奶等大生鲜品类进军。
 
按照其“大生鲜战略”布局,百果园欲打造生鲜领域的“严选+付费会员”模式,可惜的是,“只针对付费会员销售”体量受限,直到现在,它的注册会员仅7000万,“生鲜会员店”计划也没有达到理想的成效。
 
那个余惠勇挂在嘴边的座右铭“一生只做一件事,一心一意做水果”。细听之下,既是坚守,又似乎有一种难逃围城的无奈。
 
直到现在,余惠勇依然认为,水果的特性决定了它只能面销,“直接To C的、直接从大仓到家的模式,基本上也无法复制,因为它不是最佳模式,一定是往下滑的趋势。”
 
也许是命运弄人,余惠勇期待“用二十年寻求一个大成”,可是临门一脚,他那个“水果大王”的名号,竟然要被一个批发商给夺了去了。
参考来源:
1.离子财经:水果大王余惠勇:炒股赔光20万,揣500元再闯荡深圳,今年入百亿
        评论有福利
Topic:你认为百果园能突破重围吗?我们将选出3位用心评论且点赞数较高者,分别送上38.88、28.88、18.88元微信红包,明天18:00开奖!!
上次中奖名单




往期推荐阅读





让我知道你“在看”哟~
到顶部