遭多位明星起诉,新氧怎么了?





伯虎点睛:因广告被告这件事,新氧已是一个“常客”。
文 | 唐伯虎

新氧,又被明星告了。
 
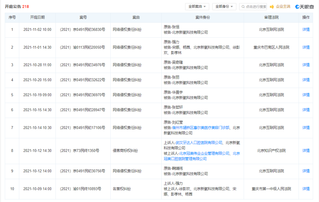
根据媒体报道,10月9日,据天眼查APP显示,新氧近日新增多条开庭公告,包括鞠婧祎、吴奇隆、华晨宇、张哲轩、张恒等明星起诉新氧,案由皆为网络侵权责任纠纷。
 

(截图自天眼查APP)
 
对此,新氧回应称,上述案件均系针对新氧运营公众号文章中使用明星照片提起的肖像权、名誉权诉讼,公司已与相关当事人正积极沟通,也会积极配合北京互联网法院的相关工作。
 
以往,我们在写一家企业的时候,常常会思考它的破局点是什么。然而,面对新氧这家企业,我们发现,广告的雷,新氧可能要踩一辈子。这是由它所选择的行业的性质决定的。

明星与消费者,苦新氧广告久矣
 
因广告被告这件事,新氧已是一个“常客”。
 
据报道,今年以来,新氧就有29条被起诉的开庭信息,在新氧案件纠纷中,数量位居前三的分别是肖像权纠纷、著作权权属、侵权纠纷及网络侵权责任纠纷,数量分别为87、57和55个。
 
“终于知道孙俪不如甄嬛好看的原因了…”
“关晓彤、刘亦菲,女明星最后归宿都是妈化?”
“林依晨终于怀孕了!可是她旁边的杨丞琳怎么变成这样了…”
 
光看这些标题,就能略微体会到明星告新氧的心情,几乎是赤裸裸地在向明星喊话:来告我呀。
 

(截图自新氧公众号)
 
但新氧对广告的“追求”,并不止于此。无论是明星还是普通人,都苦新氧久矣。
 
2019年,新氧的一则广告遭到了社会批评,在最初的广告版本中,一群白衣女子站在海滩上高唱“整整整整整”“女人美了才完整,做女人整好”。
 
在电梯间里,它向所有女性高昂地传递着这样的信息:如果你不够美,你就是不完整的。
 
2020年6月,新氧再次发布广告为其医美节日“66双眼皮节”造势。“爸,你准备好了吗?66双眼皮节,来了。”这个令人摸不着头脑的广告,从去年五月起,铺满了全国各地的电梯间。
 
这些争议性的广告,成了新氧制造容貌焦虑、收割流量的利器。
 

危险的流量密码
 
流量,是新氧的崛起密码。
 
医美产业链主要分为几个环节,上游是原料、设备的生产商,如华熙生物、爱美客;中游是医疗美容机构,包括公立医院的整形外科、皮肤科和非公立医疗美容机构;新氧等连接终端消费者的医美平台,居于中下游位置。 
 
成立于2013年的新氧,其商业模式为“媒体+社区+电商”,即通过新媒体矩阵的原创内容将用户吸引到平台上,社区内容通过用户分享,帮助消费者挑选医疗机构、解决决策问题,电商预约则给消费者推选机构,进行预约。
 
因此,通过内容获取流量,是贯穿新氧发展过程的重要课题。
 
成立之初,新氧医美社群并不活跃。创始人金星雇了一批在北京的韩国留学生,把韩国人写的整形日记,翻译成中文,再图文并茂地发到新氧自己的论坛里。几个月就搬运了7000多篇,论坛变得热闹了一些,这次“搬运”给新氧收获了流量上的第一桶金。
 
新氧的媒体渠道是其流量收割的主要途径。据新氧官方显示,截止今年2季度新氧媒体平台全网单月最高浏览量10.6亿,包括6个微信公众号、10个微博账号、13个视频专栏。
 
新氧所发布的内容,主打明星整形八卦的蹭热点式营销。可以说,新氧的流量密码,除了明星们的八卦,就是贩卖“容貌焦虑”。
 
这几年,新氧坚持这一件事,不排除是因为在早期尝到甜头。仅仅2年时间,2018年新氧就蹿升到公号总榜排名24,单日的内容阅读量可达1000万。早在2017年4月,新氧公号就开始接广告,头条要价25万-38万。
 
2020年四个季度,新氧的销售和营销费用率依次为59.6%、56.5%、61.6%,49.6%。全年新氧品牌营销投入7.3亿元,同比增长超过五成。
 
新氧引流到APP上,为合作的医疗机构提供更多可能的订单。这背后,渐渐催生了一条“变美日记”的黑色产业链。
 

(图源网络)
 
在新氧的招股书里,平台上晒出整容实例的美丽日记超过200万篇,而且还都是原创。
 
但实际上,新氧平台上的“美丽日记”就存在造假现象。
 
根据2019年新京报的报道,用户撰写的“变美日记”存在造假刷评现象,一些组织为医美机构提供所谓的代运营服务,进行整容案例造假。
 
在淘宝、QQ、贴吧等平台,有专门贩卖整形日记的商家。预约网红到院摆拍,模拟整个手术流程,“术前照”不化妆,“术后照”化妆,一套的价格也就800~1000元。
医美服务低频、毛利高、客单价高、销售费用高等特点决定了,相比于淘宝小商品和大众点评餐厅的刷单,新氧面对的评价造假问题更加严峻。
 
新氧也有积极应对,在自己出具的报告中提到,2018年,新氧在平台上封禁作弊违禁账号71万,删除作弊违禁主帖15万,删除作弊违禁评论232万。每天有近三分之一的日记无法通过平台审核。
 
一位关注医美领域的人士对此评价,如此巨大数量的封号、删帖,而且原来每天1/3的发布都是无法通过审核的,这说明了新氧社区混乱的本质。
 

屡屡爆雷,新氧的多宗罪
 
除了流量之困,这些年新氧也屡屡在医美安全上爆雷。
 
作为一款医美APP,新氧对接医美机构和消费者,收入来源主要通过向医美机构收取信息服务和预约服务费用。
 
资讯服务收入可以理解为入驻新氧平台的医美机构或者产品向新氧交的广告费,而预订收入就是消费者通过新氧预订医美项目后,新氧获得的交易佣金。
 
2016年以前,新氧的营业收入主要来自于预定收入。而2017年开始,新氧的主要收入来源转为了以广告为主。
 
根据披露的2021年一季度财报,新氧的广告收入占比已经达到77.25%,比预订收入占比的3倍还多10%。现在的新氧已经从内容电商变为一个营销平台。
 
为什么这两年新氧接二连三的爆雷?这与它合作的医美机构和产品有关。
 
早期,新氧主要与声誉较好和市场份额较大的医美机构合作。随着平台的发展,新氧开始逐步涉足中小型医美机构。
 

(截图自新氧APP)
 
但随之而来的,是医美事故的频发。
 
今年5月,33岁的杭州网红小冉在华颜医疗美容医院进行了抽脂手术,因为手术原因,两个月之后离开了这个世界。
 
据悉,华颜医疗美容医院旗下华颜口腔2018年就已入驻新氧APP,曾被认证为安心购和正品联盟等。医疗事故发生后,新氧连夜下架了该机构的全部信息。
 
而讽刺的是,在网红小冉手术去世不久,新氧就公布了今年第二季度的业务数据。
 
移动端平均月活跃用户1000万,同比增长了47.5%;付费用户数24.5万人,同比增长了43.6%;付费医疗服务供应商4899家,同比增长了31.2%。
 
伯虎财经发现,在新氧医美APP上,其合作的医疗美容机构中,入驻机构主要为“民营医院”、“品牌连锁”以及“生活美容机构”,以及数量相对较少的公立医院。
 
其中,有媒体曝光了一家曾被新氧推荐的医院——“上海奉浦医院”,推荐项目为“鼻尖塑性”,查询该医院发现为民营医院,而该医院在2020年2月4日,曾因使用不合格的药品收到来自上海市奉贤区市场监督管理局的行政处罚决定书。
 
这家靠做流量起家的医美平台,最后深陷“黑医美”旋涡。
 
“在新氧医美APP中,同一项目在不同医院差价巨大,主要是因为医院在产品剂量上有所不同,有的是足量,有的只给你用四分之一的量,价格吸引人,但到你身上的药品剂量和最终效果也被打了折扣”。一位医美从业者透露。
 
同样是国产品牌的项目,以及同样是进口品牌的项目对比后发现,不同医院出现了400-2000元的不同价格。
 
一方面差价巨大,一方面部分医美机构为了获客“不择手段”。
 
新京报曾做了一期报道,暗访天津某诊所的微整形7天速成班培训,其中的不合规操作令人触目惊心。报道中提到,新氧APP销售违禁肉毒素,且入驻新氧的医美机构“北京凯润婷”低价吸引客户,却拒绝验药。
 
这一切给新氧带来的是,逐渐丢失用户,后续获客难度越来越大,成本攀升。
 
为了获取新用户,新氧唯有砸钱不断做营销投放,各大热门APP、综艺、电视剧甚至小区电梯间都能看到新氧的广告。
 
可拧巴的是,做“一次性买卖”的新氧投入大量的钱做营销,随之利润也越来越少。2020年,新氧创收12.95亿元,同期的销售费用高达7.26亿元,营业成本2.12亿,营销费用占去收入的七成,吞噬了大部分的利润。
 
新氧的商业模式只停留在对医美生意的流量撮合层面:将消费者与医美机构联系起来,帮助消费者第一次进店。
 
而并未像淘宝一样形成消费的闭环,并对消费的每个环节如售前推送、售后服务等进行深层次的介入与参与。
 
这就导致消费者很容易绕过平台直接与医美机构进行交易,这也是为什么新氧的预订收入越来越少,只能依靠广告收入带动业绩增长了。
 
随着流量越来越难获取、营销成本越来越高,靠做撮合生意的新氧不断消耗掉用户的信任,要拿什么来撑起它的资本故事? 不禁要打个问号。
参考资料:
1、勿以类拒:新氧让我缺氧,让明星不爽
2、衣公子的剑:新氧困局:变美远未安心
3、中科财经:新氧医美乱象:医托横行 消费者利益难保障
        评论有福利
Topic:你看好新氧的发展吗?
我们将选出3位用心评论且点赞数较高者,分别送上38.88、28.88、18.88元微信红包,明天18:00开奖!!
上期特别评论中奖名单(按红包大小顺序排列):
@小可爱爱爱爱

@飞蛾扑火

@.




往期推荐阅读





让我知道你“在看”哟~
到顶部