明年房车市场肯定特热闹!两家主机厂入局,隆翠推C本开的A型房车



哈喽,大家好!
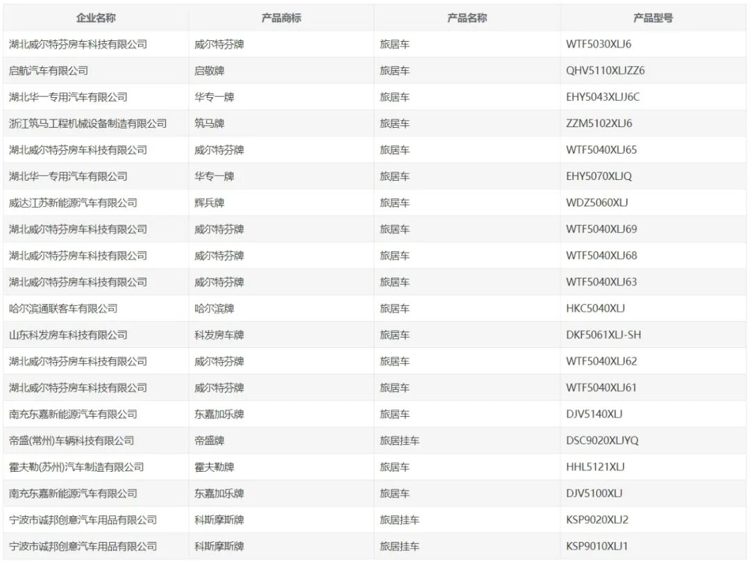
2022年度最后一次工信部新车公示来啦!除了有新车可以看到以外,我想也预示着未来国产房车发展的走势。在工信部第366批《道路机动车辆生产企业及产品公告》新产品公示中,共有38款房车进行公示,其中包含33款旅居车(自行式房车)和5款旅居挂车(拖挂式房车),公示车型都比较主流,但公示品牌中我们看到了两家商用车主机厂,结合行业内下现有的主机厂品牌,我相信未来会有越来越多的主机厂进入房车行业,除此以外公示车型中还有一款由隆翠打造的一款C本就能驾驶的A型房车,详情一起来看看吧~


第一款
安凯牌HFF5040XLJD6旅居车
生产企业:安徽安凯汽车股份有限公司
车型看点:客车主机厂打造的房车产品

熟悉商用车或者商用客车的朋友应该对安凯这个品牌都不陌生,这是一家在国内客车市场拥有较强实力的企业,此次入局房车市场,相信也是在多方考量之后做出的决定,这也意味着未来国内房车市场依然拥有极高的潜力。说回新车,公示的这款车型整体设计相对比较常规,是一款基于依维柯欧胜底盘打造的大额头C型房车,属于时下比较主流的产品,相信厂家也是为了求稳,毕竟想要打开新的领域,需要一块能够迎合主流市场的产品。S


新车的尺寸也是中规中矩,长宽高分别为5990*2405/2475*3220/3250毫米,满足C本蓝牌驾驶,动力上依然搭载的是3.0T柴油发动机,匹配一部采埃孚8AT变速箱,车身外部也提供了相对比较齐全的生活设别,如遮阳棚、置物翻板、外置炉灶等。

生活区的布局同样比较主流,前方为L型沙发休息区,后方为纵置双人床,中门后方则是车内卫生间和厨房区域,额头床的尺寸开起来同样不小,满足一家四口使用没有问题。

对于这款由主机厂打造的新车,相信很快就会与大家见面,虽然产品属于主流产品,但依托整个安凯汽车完善的售后体系,个人觉得这也将会是这款新车很大的一个卖点。

第二款
隆翠牌BHQ5069XLJ旅居车
生产企业:隆翠(浙江)汽车有限公司
车型看点:C本驾驶的国产A型房车

这款隆翠牌BHQ5069XLJ旅居车应该是本期新车公示中,个人最期待也是最想体验的一款车型,在我的印象中,这应该是国内为数不多的自主研发设计的C本能开的A型房车。

先来简单解释一下什么是A型房车,从底盘类别上来分的话,就是基于三类底盘底盘(仅包括发动机、传动系统以及底盘部分)打造的房车,这类房车更能体现一个房车企业的软硬件实力,同时这类房车也要比同尺寸的车型拥有更好的空间。

说回隆翠这款新车,首先从外观上来看,有点接近于小巴,但整体造型又足够原创,看起来远比呆板的小巴车更加时尚,重点是整车尺寸长宽高仅为5980*2240/2340/2380*2980/3120毫米,满足国内C本蓝牌驾驶,相较于那些大巴A型房车,这点要更能获得消费者的认可。

另外从车身外部也可以看出来,由于整个车厢包括驾驶全都是由企业自己设计,为此车门造型也和常规房车不同。

生活区的布局也和主流车型不一样,不过值得一提的是在6米以内的车型里,这款车空间上来看还是比较充裕的,前方四个独立航空座椅舒适性也很不错,另外可以看到会客u去中部的空间也要远大于同尺寸车型,位于驾驶室上方也能看到有一张升降床,这点和很多进口A型房车类似,干湿分离的卫生间也能提供不错的使用体验感。


动力上,这款车搭载的是一台代号为F1CFL4118的3.0T柴油发动机,看到这里相信大家也能猜到,这套动力总成就是来自进口依维柯NEW DAILY,也可以大胆猜测这款所使用的三类底盘就是来自NEW DAILY,为此整车的驾驶感受相信也会有保证,更多详情期待实车线下试驾吧~

第三款
长安牌CKS5031XLJXDD65旅居车
生产企业:重庆长安跨越商用车有限公司
车型看点:主机厂打造的原厂房车

这又是一款由主机厂打造的原厂房车,长安跨越商用车基于微卡打造的一款C型房车,对比国内其他厂家推出的同类产品,相信未来这款新车将会以一个相对亲民低价的策略上市,极有可能成为市场上价格最低的原厂房车。

这款房车的尺寸并不大,长宽高分别为5440*2010/2070*2660/2680毫米,整体比主流房车都要小了不少,如此带来的好处就是驾驶会更加灵活,不过受限于底盘,这类车型的驾驶感受要远不如轻客类车型,更不能和普通家用车相比较。

动力方面,这款车预计会采用一台1.6升汽油发动机,最大功率90千瓦,匹配手动变速箱,这对于只能开自动挡的人来说是个遗憾。

生活区的设计属于比较传统的布局方式,不过从公示图可以看出,内部家具做工和配色还是和其他品牌有不小区别的,更能体现主机厂的优势。
第四款
中星凯悦牌AAK5043XLJ6旅居车
生产企业:湖北中凯汽车科技有限公司
车型看点:JMC平头房车
这款中星凯悦牌AAK5043XLJ6旅居车采用的是目前市场上还不是很多的江陵JMC底盘打造的平头轻卡房车,虽然是平头房车,但这款车也加入了厂家自己的设计。

从外观上就不难看出,整车的外观设计更显成熟,这也和中凯房车一直采用正向研发设计有一定关系,由此带来的好处就是整车原创度很高,具有自己鲜明的特点。

在尺寸方面新车长宽高分别为5995*2370*3200毫米,基本上和主流依维柯C型房车相当,同样满足C本蓝牌驾驶。

车身外部可以看到提供了比较齐全的外部设备,如手动遮阳棚、外置炉灶等,能够更好的满足旅行中使用。

生活区采用一个前后贯通的设计,让本就以空间见长的平头房车,内部空间更大,另外中凯房车内饰材料以及细节上的处理也有自己的独到之处,给人的感官上营造的比较舒服,并不输目前一线大厂产品。

总的来说,工信部第366批《道路机动车辆生产企业及产品公告》新产品公示中的旅居车及企业,不仅车型有看点,参与公示的企业也再一次证明,未来国内房车行业拥有更高的发展水品。好了,本期内容就到这里,想要了解跟多房车资讯可以关注房车情报~
预约报名点击下方阅读原文
到顶部