【行业】Tesla “皮肤泡沫”重塑汽车座椅




在大多数汽车中,座椅由几层组件组成:有一个结构框架(通常是金属和塑料),泡沫垫,然后是覆盖所有部件的材料。特斯拉的“座椅泡沫塑料结构”希望通过将它们实际上模制成一体来简化最后两块。如在制造过程中那样,将装饰材料的“表皮”模制到泡沫垫上,形成单件。
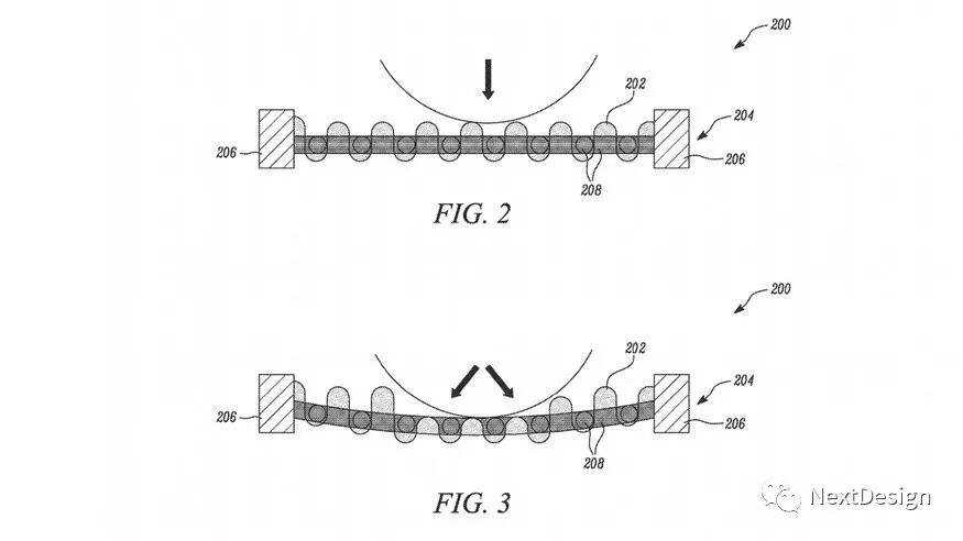
将装饰材料(就座时接触的部分,通常由布或皮革制成)直接与支撑您体重的泡沫垫融合在一起称为“皮肤泡沫“。该公司的专利插图(剖面图)如下所示:

这将大大简化座椅的生产过程,因为不再需要将外罩缝在一起并安装在缓冲垫上。它也使座椅看起来更酷。正如特斯拉在专利中指出的那样,如今座椅上的接缝“可能并不美观”。除了视觉效果外,减少零件和层数的座椅的想法更吸引人,因为减轻重量对于提高电动汽车的效率和续驶里程至关重要,而重新思考座椅等较大的部件的设计是寻找更多减轻重量的明智解决方法。

皮泡沫座椅通常用于非高级座椅,例如工程车辆座椅或小型座椅,终极目标是设计出坐感舒适的汽车座椅。那么它是怎样工作的?从模具开始,Tesla设想首先将蒙皮(外部底座层)压入工具中,然后将网状支撑背衬压入,最后进行缓冲。或者,汽车制造商可以将最终的皮肤层喷涂到座椅上。无论哪种方式,想法都是一样的。特斯拉还指出,导电网状层可以嵌入座椅中,以充当乘客乘坐传感器或加热功能的载体。

至于增加毛绒感,特斯拉描述了一种“舒适垫”,可以将其模制成支撑网和皮肤之间。特斯拉申请的另一项与座椅相关的专利提供了更多线索。该专利的“承重织物结构”描述了一种结构性网状材料,可以用来支撑就座的人。从理论上讲,结合喷上泡沫的想法,特斯拉可以制造出更薄,更轻便,易于制造的单件式座垫和靠背,其组合成为带有缓冲垫的结构网,最后包裹在模压的皮肤上。

【干货】座椅总成检具技术规范
【干货】内外饰仪表板安装断面设计规范
【干货】汽车座椅操纵件布置规范
【干货】最全面的轿车内部凸出物及试验详解

免责声明:本文来源于NextDesign。版权归原作者所有,文中观点仅供分享交流,不代表本公众号立场。如涉及版权等问题,请您告知,我们将及时处理。

公众号:qcnws01  ▕   撩拨小编:qcnwssj
  
到顶部