太突然!全球知名家居巨头又宣布:关店!



编者 | 零售哥   头图来源 | 网络
本文来源  | 21世纪经济报道
导读:线下关店潮席卷到了宜家,3个月关闭2家门店
 

图来源:大众点评。
宣布闭店!
线下关店潮席卷到了宜家。
2022年以来,在中国的零售市场,宜家正在上演一幕告别:
2022年4月1日,宜家中国宣布贵阳线下门店关闭。
2022年7月,宜家中国宣布关闭上海杨浦店。
3个月连续关闭2家店,全球知名的家具品牌宜家(IKEA)宜家怎么了?除宜家家居之外,全国多地大型商超门店也被曝关门,A股居然之家年报指出,已经关闭10家加盟家居卖场店。
线下零售“关门潮”席卷到家居巨头了?

上海杨浦店开业不足2年
宜家中国发布消息,7月初已关闭上海杨浦店。此次撤场,意味着全国首家“小型宜家”成为历史。

图来源:宜家中国资讯中心。
官方的口径中,关闭的原因是“综合了该商场服务商圈内顾客持续变化的消费行为偏好,以及宜家在上海市场总体布局考量”。对于宜家而言,宜家杨浦店是中国第一家小型宜家,是宜家中国区“城市小店”战略中重要的一环。
但不少网友听说闭店消息才知道原来杨浦还有一家宜家。
杨浦宜家商场最早于2020年3月开业,店铺位于国华广场B区的一、二层。2021年3月,该门店曾进行过一次针对家居展间的重装升级,并于2021年7月重新开业。也就是说,宜家杨浦店实际营业时间还不到2年。
宜家中国表示,此次布局调整,使宜家能够以灵活并富有韧性的方式在上海市场开展业务。宜家上海临空项目正在持续推进,这也是英格卡集团近期宣布的在全球30亿欧元投资的一部分。
客流不及预期或成闭店主因
在官方公众号上,宜家中国指出关闭上海杨浦店的主要原因:市场变化、疫情带来的不确定因素、消费者偏好,以及自身原因。

图示:宜家上海杨浦店,图来源:时代周报。
“这是宜家中国转型计划的一部分,也是零售行业正常且常见的商业行为。”6月17日,宜家中国方面对时代周报记者表示。
“无法精准导入五角场商圈的庞大客流,或是宜家杨浦店无法如预期经营的主要原因。”6月17日,长期关注城市商业的品牌人士崔雯(化名)向时代周报记者表示。
宜家杨浦店所在的国华广场,虽然到五角场核心商圈直线距离不到1.5公里,但能够承接到的客流实际并不大。
“离开核心商圈的影响,即便位于城市副中心,宜家杨浦区真正辐射的人群,仍和普通社区商业体所能辐射的范围无异。” 崔雯指出。

3个月关闭2家门店
就在2022年的4月1日,宜家宣布贵阳线下门店关闭。这是宜家进入中国市场24年来首次关店。
社交媒体上,不少人认为宜家放弃的不只是贵阳,而是整个贵州。
三个月关两家店,在中国深耕了20余年的宜家,在迈进2022年后,露出了些许的疲态。

图示:宜家中国主要门店 ,图来源:up主Vocalbox合音。
1998年,宜家在上海开设了中国大陆地区首家宜家商场,此后20多年间,在中国已运营35家家居商场(不含宜家贵阳)、2家体验中心和3家荟聚购物中心。
“影响线下实体门店运营的第一个因素是消费习惯向线上的迁移。宜家的困境代表了绝大多数中国线下门店面临的尴尬局面:即便把体验做到极致,如果消费者生活方式的变化无法逆转,门店客流下降的趋势就难以止住。”中国连锁经营协会秘书长彭建真曾公开表示。
频繁关店背后,是出于什么因素考虑?线下关店潮会不会席卷到其他城市?

宜家宣布:全球提价   
宜家在2022年表示,由于运输和原材料成本的不断增加,公司将在各个市场平均提价9%。
宜家在声明中表示,公司继续面临严重的运输和原材料限制,导致成本上涨,预计局面在可预见的未来不会有任何突破性进展,供应链干扰将持续到2022年。
网友在社区平台上晒图,“宜家马尔姆六斗柜你为什么涨价那么离谱,几个月前还是999元的,现在变成了1499元,是不是涨得太快了点。”

截图来源:网友在社交平台晒图
从宜家天猫官方旗舰店搜索发现,店铺内白色橡木的马尔姆六屉柜这款产品售价确实为1499元。
也有网友表示,“心仪的四抽屉柜一下涨了300块,庆幸自己早买了。”

截图来源:网友在社交平台晒图
宜家天猫旗舰店客服称,涨价消息属实。客服回应了涨价原因:
宜家已经通过各种方法来平衡整个供应链成本大幅增长带来的影响,并尽可能保持产品价格稳定。但因目前的运输形势和原材料限制正在影响着世界范围内的各种产业,宜家也不例外。原材料、运输和物流的价格不断上涨,所以部分商品价格也做出了相应的调整。

宜家增长乏力,
能否继续玩转中国市场
艾媒咨询报告显示,在2015财年销售额增速达到27.9%的顶峰后,2017财年至2019财年,宜家中国的零售额增速分别为14%、9.6%与8.01%。中国是宜家最重要的市场之一,业绩表现却呈现增长乏力趋势,让人不禁提出疑问:宜家还能否继续玩转中国市场?
据北京商报报道,中国市场增长乏力的同时,宜家屡屡被市场监管部门处罚。
2020年3月12日,宜家(中国)投资有限公司因“生产、销售不符合保障人体健康,人身、财产安全的国家标准、行业标准的产品”被上海市浦东新区市场监督管理局处以“没收违法所得2.450495万元,罚款47.342802万元 ”行政处罚;2021年7月23日,又因“违反本法第二十八条第二款第(二)项规定,发布虚假广告”,上海市市场监督管理局处以“罚款172.51791万元,责令停止发布”行政处罚。
“目前宜家面临两大困境,一是产品与国产商品相比并没有特别强的性价比;二是全屋定制的快速普及,使得宜家的设计优势在弱化。”中国商业联合会专家委员会委员赖阳表示,“宜家在国外家居产品中,是以性价比高、可以DIY为主要特色,但是这在中国恰恰并不是绝对的优势,很多国产品牌价格非常便宜,宜家是被中产阶级家庭当做一种高端的产品来选择。随着消费者购买力的提升和国际化程度加深,真正的国际高端品牌逐渐进入中国市场,而国产品牌也在向高端化迈进,对宜家的市场形成分流。”
中国家居设计产业互联网战略专家王建国也认为,“年轻人购买国货精品、国潮产品的比例越来越高,中国消费者的审美、环保、性能等也是在不断升级的,如果宜家在研发创新、深化服务、品牌美誉、文化融合等方面不能跟上‘中国速度’‘中国自信’,也是迟早会被甩远的”。

家居卖场频现闭店
阿里旗下家居品牌homearch首店将闭店,开业不到一年
公开资料显示,来自阿里巴巴旗下精选家居品牌homearch运营公司重庆躺躺网络科技有限公司宣布,重庆星光68广场店将于2022年7月15日起正式停止营业。
重庆星光68广场店为homearch全国首店,于2021年12月落地,开业至今不到一年,跨上下3层的门店总建筑面积6000㎡,店内陈列展现了3000+家居商品。
公告称,因公司业务调整需要,将于2022年7月15日起关闭homearch重庆星光68店。

图来源:重庆本地论坛。
企查查资料显示,重庆躺躺网络科技有限公司成立于2021年8月,法定代表人为季青,注册资本为500万元,淘宝(中国)软件有限公司间接100%持股。
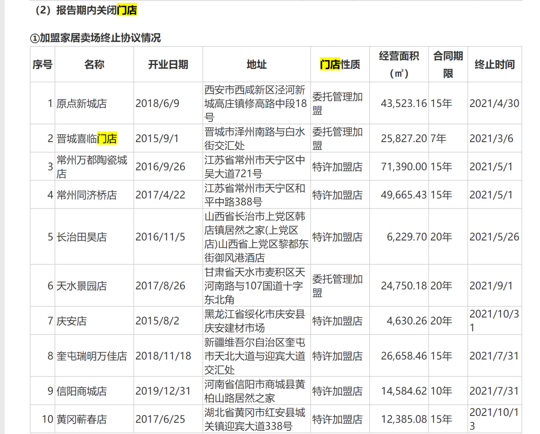
上市公司居然之家年报透露:1年闭店10家
A股上市公司居然之家在2021年年报披露了闭店情况,共关闭10家加盟家居卖场门店。

图来源:上市公司2021年年报。

涨价成为行业关键词  
近期国内家居企业亦纷纷发布涨价通知。据证券市场红周刊消息,在近期家居建材企业涨价潮中,蒙娜丽莎、新明珠集团、索菲亚、尚品宅配、志邦家居、顶固集创等企业均有调价动作。
《红周刊》发现,在家居建材企业产品涨价背后,其净利润与毛利率水平在今年一季度跌至低谷,同时遭遇部分供应链企业的坏账激增。有业内人士表示,即便涨价,也难以覆盖家居建材企业的增加成本。
同时,因坏账难以兑现,B端业务开始被很多建材企业丢弃。另外,这轮涨价风波亦将传导至房地产终端,挤压房企利润,并可能导致购房者的成本增加3%~5%。
不单是家居行业,据不完全统计,2022年,“涨价”已成为多个行业的主题词。
来源:宜家中国微信公众号、时代周报、北京商报、证券市场红周刊、企查查、上市公司公告、小红书社区、公开资料


还有什么还没涨价了?
评论区聊一聊~
↓↓↓
看更多新鲜资讯
请关注职业零售网视频号!






到顶部