别再羡慕国外了 多款货箱专利通过 国产皮卡有了新玩法



皮卡解禁的风潮进一步提高了皮卡市场的热度,在细分化、场景化的同时,挖掘皮卡的多功能特性成为了车企们的新方向。今年以来,曾让国内车友羡慕的多功能货箱设计逐渐在国产皮卡上出现,除了已经实现搭载的两段式尾门、对开式尾门、多功能放电面板、货箱储物格、货箱蹬车踏板等新潮配置及玩法外,还有很多企业申报了具有亮点的货箱专利,未来很有可能在国产皮卡上出现。
雷达汽车——贯穿式货箱
11月初,我们在专利局网站获取到了雷达汽车关于货厢新增功能的专利信息。这次专利设计让货厢与乘员舱之间可以贯通,方便车内人员不用下车就可以拿到货厢当中的物品。

一般来说,当运输超出货厢长度的物品时,车主通常采用打开尾门方式放置物品,这种方式存在不小的安全隐患。对此,雷达采用了可翻折式后围板的方式,后围板在乘员舱最后位置。雷达汽车采用的承载式车身结构实现了货厢与前乘员舱一体化,所以可以将后围板向前翻折,这个功能与目前乘用车后排座椅放倒有异曲同工之妙。不过,皮卡乘员舱最后有后挡风玻璃,雷达汽车给出的解决方案非常巧妙,利用了类似车门的结构,采用升降玻璃的方式,可将后挡风玻璃收纳在后围板当中,收起以后,再进行翻折,从而实现货厢与乘员舱的贯通。
除此之外,可升降的后挡风玻璃还可以在车辆行驶的阶段下降,让车内空气得到流通,你也可以从乘员舱直接伸手拿到货厢内的物品,比如车载冰箱里的冷饮。
上汽集团——露营货箱+双层货箱
11月中旬,中国皮卡网在专利局网站获取到了上汽集团公布的皮卡货箱专利信息。从整体来看,上汽集团对皮卡的货箱做出了很多衍生设计,方便户外露营或者日常拉货使用。

首先是露营方向。在专利中可以看到,皮卡货箱内侧将设置多个区域,货箱右侧将会设置逆变器,与车辆的电源连接,提供日常户外用电,同时在这里设有盖板,推测会设置一些电源开关,控制外放电功能的开闭。插排放置在尾门部分,尾门中部还设置一个加热板(类似家用电磁炉),两侧则是扁平的储物格,可以放置一些物品。
另外一侧的货箱内部设计了水箱、连接水箱的软管等,并同样拥有可开闭的门板,平时可以将水通过软管导出。从设计描述来看,这个货箱完全是为了户外露营所准备,加热板可以在户外进行简单的烧水煮饭,插排数量设计足够多的话还能满足户外手机电脑等物品的用电需求,水箱解决户外用水问题。


在另外一份专利中,分层货箱的设计则完全是为了满足日常的装载需求,这个专利可以看成是“两层卷帘盖”。由于轮拱鼓包的限制,普通皮卡的货箱并不平整,所以上汽集团设计了底层的“卷帘盖”,高度略高于轮拱鼓包,两侧带有滑轨,拉开之后可以形成平整的货箱底,方便放置大件规整物品,而更上面一层的滑盖则是比较常见的卷帘盖,保证货箱物品的安全。
奇瑞汽车——可收纳式高盖
奇瑞将进入皮卡领域的消息传闻已久,最近,我们在专利局网站获取到了一组奇瑞汽车申报的皮卡货箱专利,证明了奇瑞确实在进行皮卡产品的研发。
曝光的这个专利是针对皮卡设计的原厂软顶货箱盖,它设计的巧妙之处在于,奇瑞将货箱的两侧变成了可收纳卷帘盖的空间,这有点类似于RAM 1500皮卡货箱两侧的储物空间,而在这个空间内设计了卷轴,在软质卷帘盖不用的时候可以向两侧收纳起来,变成敞开式货箱。需要使用的时候,从侧面拉出货箱盖,直接挂到货箱另外一侧即可。这可以看做是把纵向的卷帘盖收纳机构放在了车侧的货箱夹层内。

同时,奇瑞在这个功能基础上做了延伸,同样还是将卷帘盖隐藏在货箱侧面,但进一步增加了支撑杆和连接杆,支撑杆负责沿着货箱侧面向上将卷帘盖固定,顶部的连接杆负责将两侧的支撑杆相连,从而形成一个软顶高盖的货箱盖。尾门和货箱前部同样可以增加固定装饰,为这个高顶货箱软盖形成一个封闭空间。
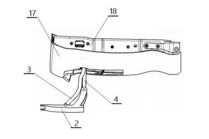
长安凯程——外开式蹬车踏板
长城炮的伸缩式蹬车踏板开启了货车新玩法的先河,去年年末,长安凯程同样申报了一款蹬车踏板。与长城炮不同的是,长安将蹬车踏板设计成了向外开闭的形式,并采用了四连杆连接机构。

蹬车踏板机构平时位于货箱尾门的内部,但开启位置位于尾门外侧,尾门外侧钢板在开启之后将作为蹬车踏板使用。这种蹬车踏板的主体结构为货箱上方固定的基架以及可开启的踏板,二者之间通过一套四连杆机构实现连接、开闭和固定,在踏板面积方面受限更小,可以为用户提供更大的落脚面积。
南昌国潮汽车——活动式车载露营装置
今年2月,一家名为南昌国潮汽车服务有限公司的企业申报了一项活动式车载露营装置的专利。这套设备支持折叠功能,收纳状态下可以放进货箱当中,停车后可以通过人为操作将设备开启,为用户提供一个在野外的休憩空间。

此套车载露营装置,可以将各种露营装备集成在一起,经过整合后可以将其完全放置在货箱之内。在不需要露营时,货箱外部轮廓保持常规尺寸,可以正常驾驶,车辆尾部不会像休旅皮卡那样具有较大尺寸的箱体,也不用担心路面宽度和高度对车辆的限制。与此同时,装配了这套车载露营装置的皮卡,相对来说也将不容易受到风阻的侵扰,保证了行车安全性以及油耗的经济性。
同时,由于此套设备采用了灵活的支架与篷布设计,我们也可以将这套装置理解成为可以固定在皮卡货箱内的折叠帐篷,这套设备可以在露营之前装入车内,露营结束之后取出,具有较强的机动性。

由此可见,货箱作为体现皮卡实用能力的主要部件,越来越受到厂家以及用户的关注与重视。而在随着户外露营的兴起,皮卡凭借着车辆结构的优势特性,将与户外露营、野外休闲等项目进行更加密切的协作,皮卡的多功能属性将得到进一步突显。
皮卡投票

往期回顾
# 或许真要出皮卡?奇瑞皮卡货箱专利信息曝光
#
货箱开始内卷了!上汽大通皮卡货箱专利曝光
#
迸发你的驾驶激情,试驾上汽大通牛·魔王
#
只是时间问题 通用或将推出中型电动皮卡
  中国皮卡网    
一起分享,一起成长!
话题专栏







到顶部