充电桩也能“一拖二”了?一车两个充电口,能充也能放




有望在中国落地。

作者 | 王雨
编辑 | 在洲
两辆电车只有一个充电桩,怎么办?
通用提出来一个设想:在电车上再安一个插电口。
前不久通用在美国提交了一个专利,这个专利名为“具有双充电端口的移动平台中多组电池系统的自适应快速充电”。

名称有点长,简单来说,就是这项电车专利具有双向充电的功能,既可以实现同一辆电动车电池的灵活充电,也具备一个充电桩同时给两辆电动车充电的功能。
这轻松化解了充电桩不够用的尴尬。在此之前,为了缓解充电难,也有很多车企出了很多“奇招”。比如超级快充,或者在马路下面安装一个无线充电装置,让马路成为充电宝。
相比这些花哨的功能,通用这个专利虽然不性感,但关键在于量产可能性更高。
01
什么是双充电口?
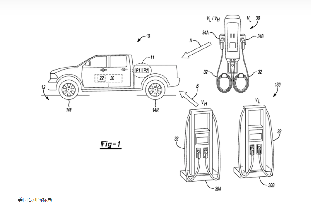
1970年,雪佛兰在1500车型上有两个油箱和两个加油口,我们可以借助这一模式来理解通用汽车的双充电端口的设计。
根据专利申请信息,通用汽车的双充电端口,其中一个以22kw的较慢速率充电,另一个则可以实现最高可达350kw的功率快速充电。
而且这两个充电口,一个采用400V的充电电压,另一个则可以采用400V或者800V的充电电压。
其实了解这个双充电口设计之前,首先得熟悉通用在 2020 年发布的Ultium(奥特能)电动平台架构。
Ultium平台电池采用模块化设计,具体电池数量取决于车辆尺寸和性能要求,比如通用的Hummer  EV就使用了24个电池模块,电池则分为两组,每组12个。
双充电端口的应用场景是这些具备双层电池的车型,通用设计两个充电端口的初衷,也是让充电补能更灵活。
这两个充电口,可以同时给两组电池充电,充电速度大幅提升。
就好比一个游泳池,原本只有一个水龙头注水,现在可以同时打开两个水龙头,充电速度更快。
而且两组电池作为独立的结构,双充电端口的设置还可以更灵活。比如一次可以只为一组电池充电,或者第一个接口为电池充电,第二个接口可以为车辆配件充电。

除了上述功能,神奇之处在于,一个400V的充电口还具备输出功能,也就是说可以让双充电孔的车款本身在充电的时候,也可以帮另一辆车进行充电。
量产车的工作电压是400伏,如果将两辆车通过第二个充电端口串联在一起,一个800伏的充电站就可以同时为两辆电动汽车充电,同时充电的两辆电动汽车都将以400伏的电压进行充电。
这种充电方式打破了一个充电桩每次只能给一辆电动车充电的限制,可以实现一个充电桩给多辆电车同时充电。如果推广开来,这将很大程度上缓解电动汽车充电桩的使用压力。
02
有望在中国市场落地
一般情况下,专利的申请和量产并没有太大的关系,但通用这个双充口的设计已经具备了量产可能性。
通用汽车旗下的Hummer  EV基于Ultium电动平台打造,其电池组的基本架构,就采用了模块化的方式依次堆栈。
24个电池模块的电池总容量达到了惊人的213kWh,光电池重量就有1.32吨,比1.5L CVT 先锋版卡罗拉整车(1.31吨)还重,不过Hummer  EV具备350kw直流快充功能。

HUMMER EV
而且一个好消息是,这个采用双组电池技术的Hummer  EV,或在不久后来到中国。
6月30日,通用汽车与上海市浦东新区签署项目投资意向协议,宣布拟增资1亿美元筹建全新的高端进口业务。
根据官方介绍,此次投资开展的高端进口业务将通过创新的商业模式,引入通用汽车旗下各品牌产品,这些车型将涵盖全尺寸SUV、全尺寸皮卡及超跑。
2021年进博会,除雪佛兰科尔维特Stingray外,雪佛兰Silverado Trail Boss和纯电动悍马HUMMER EV首创版,均是在中国首发亮相。

HUMMER EV
这也引起外界猜测,电动皮卡将会是引入的重点。
此外,雪佛兰Silverado纯电动版和GMC  Sierra 纯电动版车型也会采用双层电池的布局,这两款车将会在2023年发布。不过这两款新车是否会采用双充电接口设计,还需要进一步验证。
03
“非正常”充电还有哪些?
其实除了采用“一拖二”的方式解决充电焦虑,不少企业和研究机构,在寻求增加续航,并减少充电时间的方法。
保时捷Taycan也有类似双充电口的设计,在车的每侧都有一个端口,其中只有一个支持快速充电。
不过Taycan 的设计并不是为了同时充电,而是为了更方便地靠近充电桩,防止充电线过短导致不便充电的状况。 

今年6月,堪萨斯大学工程学院的一名研究人员在《科学报告》杂志发文,称他们研究出了一套点对点系统,可以让电动汽车通过一个控制系统相互匹配,在行驶途中给其他电动汽车充电。
点对点系统的原理,是车辆在行驶的过程中不用停下来,而是在行驶过程中共享电池,让有富余电量的电动车,给电量不足的电动车充电。
基于一套云管理系统,匹配两辆相近的纯电动车,并使用复杂的计算机建模软件测量电动汽车的充电要求,以更好地进行匹配。匹配好的两辆车可以以相同的速度行驶,而充电电缆将自动连接车辆。
整个过程就像在空中给飞机加油,根据研究人员的说法,参与的车辆将配备两种不同的电池,锂电池和快充电池,后者作为锂电池的补充,主要是为了移动充电。
这种V2V的方式,让路上有富余电量的车成为潜在的移动充电桩。

除此之外,“非常规”充电还有一种方式就是,在柏油马路埋下电线及无线充电的发射装置,当安装有无线充电接受装置的车辆在公路上行驶时,就可以边驾驶边充电。
换句话说,整条马路都是一个巨型的无线充电宝,可以成功给行驶中的车辆进行无线充电。
这个想法比电动车多安一个充电口更加疯狂,一旦完成普及,甚至都不需要充电桩了。
不过这个庞大的项目如何平衡成本也是不小的问题,毕竟在高速下面铺电缆通电,就像给珠穆朗玛峰安电梯,谁都不想投入这么大的成本。
所以,用充电桩给两辆车甚至多辆车充电,还是能更容易实现的。
推荐阅读

加氢15分钟续航1000公里,马斯克:不信谣,不传谣

万字做空报告扑空?蔚来市值:暴跌11%,蒸发358亿

360留下的鸡毛,是哪吒冲击IPO的令箭

到顶部