准备买车的注意啦!38款新车将上市,长城炮福特F550全都有




Hello,大家好!
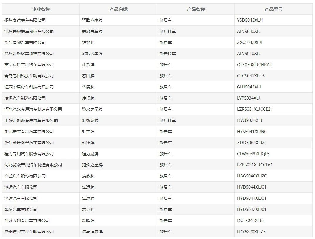
每月一期的工信部新车又更新啦!这次是第342批《道路机动车辆生产企业及产品公告》新产品公示,在本期公示中共有38款旅居车,其中包含6款旅居挂车(拖挂式房车)和32款旅居车(自行式房车),新车阵容十分强大,对于近期有购车打算的朋友来说,非常值得参考。按照惯例我们还会挑选几款比较有看点和代表性的车型来单独介绍给大家,一起来看看吧。
(以下车型排序不分先后)


No.1
览众之星牌LZR5031XLJCCE61旅居车
生产企业:河北览众专用汽车制造有限公司
车型看点:首款长城炮皮卡房车、舒适性高、提供原厂越野改装

相信不少朋友对这款近期热度非常高的车型并不陌生,随着览众厂家对外公布了关于这款新车一系列的图文、视频等资料,作为首款基于长城炮底盘打造的房车,这款新车出现在新车公示中也算意料之中,基本上公示信息和此前曝光的车型保持一致,但从公示信息中我们也发现了一些端倪。

新车在动力上提供了汽油版和柴油版两种动力总成,产品型号为LZR5031XLJCCE61是柴油版车型,最大功率120kW,最大扭矩400N·m,车头造型与乘用版炮相似,且支持原厂选装涉水喉、集沙漏、绞盘等越野装备;而产品型号为LZR5031XLJCCE21的车型是汽油版车型,最大功率140kW,最大扭矩360N·m,车头造型与商用版炮相似,不支持选装越野设备。

关于两种动力该选哪个,相信大部分车友更青睐于柴油版,毕竟动力更强,油耗更低,不过在一些柴油车限牌的地区,只能选择汽油版本动力了。关于这款新车具体表现如何?近期我们也将到览众工厂实际试驾体验一下,敬请期待我们的详细报告吧~

No.2
新星房车牌JBG5060XLJ旅居车
生产企业:江苏新星际华汽车有限公司
车型看点:全新升级国六排放进口依维柯NEW DAILY底盘

这款新车基于国六版进口依维柯NEW Daily底盘打造而成,这款全新升级的底盘产品,在动力、安全辅助配置以及舒适性配置上都有了较大的提升,再加上新星房车所擅长的全铝车身,进一步提升了整车的安全性和品质感,如果对房车品质有较高需求的话,可以关注一下。

新车采用标准的大额头C型设计,整车长宽高分别为5990*2240/2340/2440mm*3100/3280mm,车长在6米以内,满足C本蓝牌驾驶,车身宽度和高度根据外部选装不同,会有所调整。

车身提供了丰富的选装配件,可选装ETC,顶置空调,卫星天线,换气扇,太阳能板,顶部行李架,车身开门,两侧外形,后部造型,后围灯具,额头造型;选装遮阳棚,不选装遮阳棚车宽2240mm,选装右侧遮阳棚车宽2340mm,选装左右侧遮阳棚车宽2440mm;选装顶置空调时车高3280mm。

No.3
诺马迪森牌LDY5100XLJM6旅居车
生产企业:洛阳德野专用车辆有限公司
车型看点:C本就能开的德国MAN卡房车

这款新车基于德国MAN卡底盘打造而成,和常见的那种长达10余米的大型房车不同,这款新车的车身长度仅有5995mm,不足6米的车身长度,再加上旅居车的身份,让这款车C本就可驾驶,不过这款车的高度达到了3460mm,再加上较高的坐姿,和常规C型房车相比还是有一定差距的。

虽然车身尺寸变小了,但整车的气势依然不小,方正的车身造型和自家大哥相比毫无逊色,给人留下的第一印象就是:惹不起!车内的设计也是一如既往的简约轻奢风,简洁的墙壁、家具看起来都非常肃静,但精致的做工营造出了不错的豪华感。

动力上这款车搭载的是一台排量达到了6.87L的发动机,最大功率达到了215kW,匹配自动变速箱,这也就意味着C2本就可以驾驶,不过个人觉得真正持有C本的司机,也没有几个敢驾驶这辆车上路。

No.4
阿莫迪罗牌ARM5051XLJ旅居车
生产企业:浙江锐野专用车辆股份有限公司
车型看点:国外经典设计、福特F550底盘打造、搭载7.3L 8缸发动机

这款新车可以说是本期公示中个人最喜欢的一款同时也是最期待的一款,那是因为这款车采用了一个非常霸气的设计,整车的设计思路和海外的地球流浪者异曲同工,都是一款专为户外长途穿越而打造的房车产品。

基于福特F550 Super Duty底盘打造整车,外观十分霸气,仿佛像是一辆专为末日生存打造的车型,极具未来感;与霸气外观相呼应的是内部实用的生活区设计,对于户外旅行来说相当惬意。

和海外的地球浪者不同的是,为了照顾到国内C本蓝牌,这款车的车身尺寸仅为5995*2345*3050mm,比起地球流浪者在尺寸上小了不少,但同时并未减少,依然是福特最新发布的那台7.3L 8缸发动机,对于大排量爱好者来说绝对是个福音。关于这款房车更多详细内容,我们也会在后续内容中向大家报告。

总的来说,本期新车公示都比较有看点,对于普通房车爱好者来说览众推出的自由炮无疑是个不错选择,而对于那些预算充足、且注重户外生存能力的玩家,来自阿莫迪罗的福特F550房车则是个不错选择。


预约看车点击下方阅读原文
到顶部