这篇教你搞懂职业技能等级证书!


之前小编为大家带来了证书查询的相关内容
还有没看到的朋友吗?
↓↓↓
职业资格证书、职业技能等级证书这么查→
通过大家的积极留言
小编发现有的小伙伴
对职业技能等级证书如何获取、
与其他证书有何区别等
还有疑问
今天小编就给大家讲讲
这个职场竞争力提升“利器”
职业技能等级证书
有了它
升职、加薪
不是梦
职业技能等级证书是什么?

职业技能等级证书是指对现行《国家职业资格目录》外的,且在新版《中华人民共和国职业分类大典》中第三、四、五、六大类,以及人社部新发布的技能类职业,由经人社部门备案的用人单位和社会培训评价组织,按照国家职业技能标准或行业企业评价规范,对劳动者实施职业技能考核评价所颁发的证书。
与职业资格证书不同的是
职业技能等级证书
由评价机构独立印制并发放
政府部门不参与监制
简单来说就是



职业技能等级证书内页长这样↑
以下几点,一定要牢记!
★职业技能等级证书上不得使用“中华人民共和国”“中国”“中华”“国家”“全国”和“人力资源社会保障部门”“职业技能鉴定中心”“中国就业培训技术指导中心”以及“职业资格”“资格凭证”“就业凭证”“录用依据”等字样;
★不得出现国徽、政府部门徽标(logo)等标识,以及与上述相关或易产生歧义和误导的字样、图案或水印;
★不得出现本机构以外任何其他部门或单位的标识(logo)。
职业技能等级证书如何获取呢?
职业技能等级证书区别于职业资格证书
针对的人群不同
所涉及的内容不同
拿证的方式也不一样
想获得职业技能等级证书
一定要认准经人社部门
备案公布的评价机构哦~

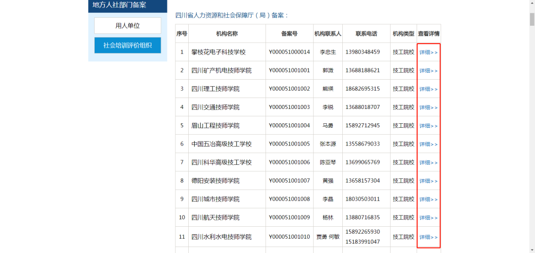
目前,我市现有评价机构75家(包括用人单位44家,社会培训评价组织31家)。劳动者在报考时,一定要查清楚评价机构是否经人社部门备案哟!
可登录四川省人社厅官网(http://rst.sc.gov.cn/),点击“专题专栏-职业技能鉴定-技能人才评价机构信息查询”进入“职业技能等级评价机构公示查询系统”,即可查询经人社部门备案的评价机构相关信息,点击“详细”可查看该机构开展职业技能等级认定的职业(工种)。





左右滑动查看更多

大家可以根据自身需求,
自行选择报考。
职业技能等级证书如何查询?

 劳动者在取得技能证书后,可通过以下方式查询证书信息。
方式一:登录“技能人才评价证书全国联网查询”平台(http://zscx.osta.org.cn),输入“证书编号”“姓名”中任意一项以及“证件号码”即可查询。

方式二:登录四川省人力资源社会保障厅官网(http://rst.sc.gov.cn/),点击“专题专栏-职业技能鉴定-技能人才评价证书查询/专项职业能力”进行查询。
几种证书还是分不清?
别急,小编给大家整理好啦
一个表格看明白!

证书

名称

针对

人员

针对职业

(工种)

拿证

方式

谁发证

专业技术人员职业资格证书


技术

人员

职业资格目录内的专业技术人员职业资格

全国

统一

考试

政府部门、有关行业协会学会

技能人员职业资格证书

技能

人员

职业资格目录内的技能人员职业资格

技能

鉴定

职业资格实施部门(单位)

职业技能等级证书

技能

人员

职业资格目录外的职业(工种)

等级

认定

用人单位和社会培训评价组织(统称评价机构)


这样一看是不是清晰多了呢?
想要提升自己的小伙伴
快快定个目标
行动起来吧!
祝大家都考证顺利哦~
到顶部