继续操作前请注册或者登录。

虽然是个“电子垃圾”,但是键盘都能“变形”的笔记本电脑,真的不多见


    大家好!这是“找寻老数码系列原创文章”的第九篇!
笔记本电脑的历史中,曾经有一款产品,你可能不知道它的具体型号,但是它有个好听的名字,叫“蝴蝶机”!
这款笔记本电脑于2012年8月8日,被纽约现代艺术博物馆宣布永久收藏。并且在007系列电影中的“黄金眼”,詹姆斯·邦德使用的也是这款笔记本。它就是经典的-- IBM ThinkPad 701c,出自著名的ThinkRad 设计师卡拉迪斯。
今天正好看到一个品相非常不错的机器,所以分享给大家。

IBM ThinkPad 701C,它最为人称道的特点,便是那个独一无二的“蝴蝶键盘”。1995年6月,IBM公司推出了这款充满创新且颇具争议的产品,这个笔记本键盘即使放到现在,我也只能用四个字来形容“惊叹、羡慕”,以后估计也看不到这样的产品设计了。
它配备了INTEL 486DX处理器,主频为50MHz,拥有16M EDO内存和350M硬盘,搭载了10.4寸的VGA(640X480)TFT显示屏。没有USB、MODEM、网卡、串口、视频输出等接口,只有一个红外口和两个TYPE II PC卡插槽,软驱需通过外接实现。

701C还有很多设计细节,如无散热进气孔的底部设计,反映出了对产品细节的精心考虑。这种设计让笔记本可以放置在任何平面上而不担心灰尘进入,因为它实际上并不需要散热器。
此外,701C的双卡扣屏幕锁定设计一直延续到了后续X32,但随后的型号中这一设计被简化。701C使用的是镍镉电池,可能存在漏液风险。
独特的折叠键盘设计,至今仍然无人能出其右。这种设计巧妙地扩大了笔记本的键盘面积,解决了小尺寸笔记本难以配备全尺寸键盘的问题。然而,键盘的手感与后来的型号相比,可能略有不足!
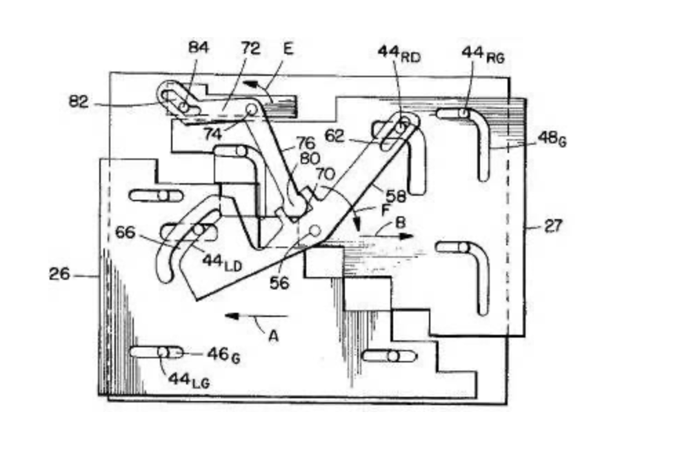
网上竟然还能找到键盘设计原理图:


此外,701C的制造地点在墨西哥,这也是其独特魅力的一部分。蝴蝶键盘的设计超出了所有人的预期,ThinkPad 701C的销量非常好,IBM为这种TrackWrite键盘申请了专利。这个设计虽然看起来复杂,但零件数量少,仅为701C笔记本增加了两毫米的厚度。
在笔记本电脑的发展历程中,IBM的“蝴蝶键盘”堪称巅峰之作,为其赢得了无数创新设计奖项。然而,由于1995年正值奔腾处理器兴起之际,ThinkPad 701C由于科技的进步而未能持续太长时间,这是一个小小的遗憾。

网上看到的这款“蝴蝶机”,品相是非常不错的,但是卖家并没有开出价格,准备跟卖家聊聊看看是什么个价格。有没有对这款机器也同样感兴趣的朋友?
到顶部