老玩家买王者号,450款皮肤要1K,朋友都说稳赚,结果看到1句话放弃了


曼姐出品,必属优品。大家好,我是人见人爱的小曼姐。
王者荣耀这款手游,相信玩家们都已经玩过好几年了吧?没错,这些年来,王者荣耀也是改变了很多,无论是局内界面,还是游戏地图,或者是英雄皮肤等等,都跟以前相比,有了很大的不同。毕竟,王者荣耀已经成为手游榜的NO.1,所以游戏内容自然也要配得上这个称号啊。另外呢,王者荣耀这些年的英雄皮肤,也是突破了600+款,其中还开辟了新的主题皮肤——无双限定哦。

王者荣耀605款皮肤
众所周知,王者荣耀这些年的皮肤数量,从最初的百来款,到如今的605款之多。而且,在后续王者荣耀还会新增一些其他皮肤计划。所以,随着时间的推移,王者荣耀有一天肯定是会突破到1000款皮肤的,到时候不知道玩家们还在不在呢,哈哈。与此同时,王者荣耀自从天游接手之后,新皮肤可谓是一款接着一款,甚至有些节日的话,还会上架主题系列的皮肤哦。好在,王者荣耀这些皮肤的质量还是挺高的,不会像以前那样充满锚点。
另外呢,王者荣耀账号价值,也是跟皮肤数量离不开关系。不过呢,有位老玩家近期入手一个V10的王者荣耀账号,让我们来分析一下,看值不值得呢?

王者荣耀钻石段位账号
其实呢,王者荣耀里面的账号数量,可以说是成千上万了。毕竟,当初王者荣耀公布了这款手游的日活达到了千万级别,所以该游戏的账号数量,少说也有几百上千万个啊。当然了,王者荣耀中从来不缺乏氪金玩家,而且有的玩家因为退游,所以就转手给了别的玩家。而这位老玩家买王者账号,主要是看重了V10这个称号。
毕竟,一个贵族V10的账号,光是贵族积分就已经达到19万了,而且这个王者荣耀账号还有433款皮肤哦。尽管这个账号段位是钻石,而且只有117位英雄,但只要马内合理,这些都不是问题。

王者荣耀433款皮肤只要1K
其实呢,这位玩家的账号从主页上来看的话,还是挺不错的。毕竟,有V10称号,而且英雄皮肤方面的话,更是高达433款。不过,这433款皮肤要价1K,着实是出乎玩家的意料啊。
毕竟,王者荣耀光是这56款传说皮肤,而且都还是限定的,都不知道1K马内了。所以,王者荣耀玩家这个钻石账号,从英雄皮肤方面和段位来看,1K属实是赚到了。也难怪朋友都说稳赚,但是转折点就在这里,因为在入手这个王者荣耀账号的时候,结果看到1句话果断放弃了,那么是什么呢?

王者荣耀1K账号值不值?
可能,有很多玩家都要说了,拥有433款皮肤还只要价1K,肯定是稳赚不亏的了。但是呢,王者荣耀的账号众多,肯定有一些是可以入手的,但是有一些是不能入手的。比如说这个王者荣耀账号,433款皮肤要价1K,应该是有猫腻存在的。
这不,朋友都说稳赚,结果看到1句话放弃了。没错,该玩家准备入手的时候,看到了“不可二次”这句话,直接是放弃了。毕竟,只要是王者荣耀玩家,都应该明白“不可二次”的含义吧?这样来看,也难怪这个王者荣耀账号只要1K而已了啊,哈哈。

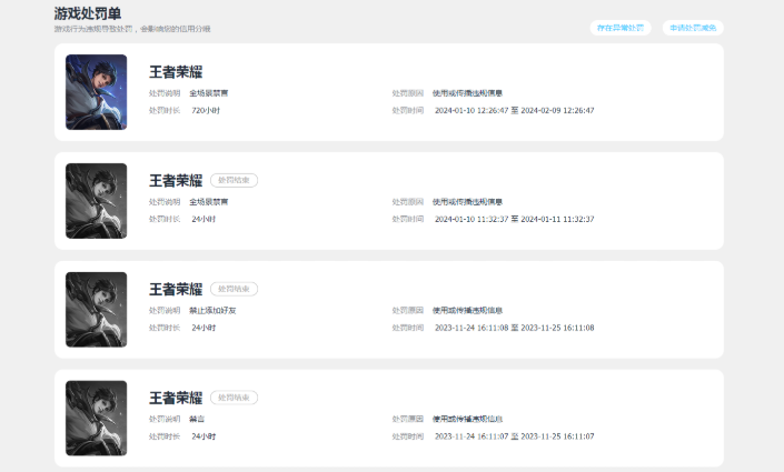
王者荣耀账号惩罚记录
不仅如此,该玩家在后续的信息收集中,看到了该账号还被王者荣耀惩罚过。没错,一共有四次惩罚记录,比如说禁言、禁止好友以及全场景禁言,关键是禁言时间还蛮长的。所以说,王者荣耀一般不合常理的账号价格,就是越有问题的啊。毕竟,天下没有免费的午餐,这句话玩家们应该都知道吧?在我看来,王者荣耀这款手游就适合慢慢玩,相信不久以后,贵族V10玩家和皮肤数量会越来越多哦,你们认为呢?
到顶部