曾经是直辖市,如今中西部老大地位不稳,武汉的发展方向在哪里?



点击“蓝字”关注我们吧
如果问你华中一哥是谁,相信大家都会毫不犹豫地说是武汉;但是如果问你中西部老大是谁,很多人会在成都和武汉之间摇摆不定;如果再问你中国第五城是谁,坚定回答武汉的人可能更少。

说起来,武汉的发展真的让人意难平!曾经它驾乎津门,直追沪上,在国内城市前面带有“大”的只有上海和武汉,建国初期武汉就是直辖市(不过几年后被撤销),上世纪80年代,工业总值更是排名全国第四。
但是不知从何时开始,武汉开始走下坡路,甚至被人嘲笑为大县城,一度迷失了方向!
直到2008年才正式进入“满城挖”时代,到2010年东湖高新区才正式获批国家自主创新示范区,2012年武汉第一条地下地铁才正式通车。

也是那一年,武汉GDP在10-20名排位徘徊22年之后,终于再次挤进了前十。
此后,武汉迅速崛起,并且快速超过成都,只是2016年后再次被成都甩在身后,再加上三年疫情,武汉与成都还有点差距,并且还被杭州紧追,武汉似乎又进入了一个发展瓶颈期。
而随着成渝成为第四极,后期武汉获利会更少,武汉该如何继续走好它的崛起复兴之路,赶超成都,直追苏州,真正地迈向经济第五城呢?
01做大做强都市圈,打造第五极

成渝成为第四极后,很多人都觉得武汉以及长江中游城市圈就是第五极,但其实国家目前并没有正式确定第五极,长江中游城市圈也是一盘散沙,压根没有做起来。
比起其他四级,武汉人自嗨的第五极并没有获得正式的认可,更没有一个城市完善的城市圈。
好在,目前武鄂黄黄都市圈已经获批国际级都市圈,而下一步武汉要做的就是以武汉新城光谷片区为主体,和鄂东三市协同发展。
利用国家方面的相关政策,引进更多企业,吸引九江、安庆等地的人口,做大做强光谷,让光谷尽快朝着4000亿迈进。

但一个光谷不足以实现武汉的复兴梦,更无法打造第五极,毕竟整个光谷的GDP只占整个武汉的13.9%。
正因为如此,湖北在规划8大组团的时候,也给武汉安排了汉口、汉阳、武昌和汤逊湖等组团。
而其中汤逊湖组团和汉阳组团目前比较弱,可提升空间更大,武汉在发展武汉新城的同时,也应该利用国家级都市圈的优势,给汤逊湖组团和汉阳组团谋福利,促进武汉南和武汉西的发展。
这样才能真正地做强都市圈打造第五极,让武汉全面发展。
02箭指国家级新区,增添内动力

除了重点发展都市圈以外,武汉也要尽快积极争取国家级新区,因为申请下来了新区,就意味着武汉将获得更多的扶持。
任何一个地区的发展除了自身的优势以外,更多的是政策使然。目前武汉所获得的扶持并不是很多,虽然有很多央企和国企,但是那些都是建国初期以及七八十年代武汉积累起来的老底子。
一直啃老本肯定不行!而随着上世纪90年代武汉的没落,武汉并没有获得太多的扶持,如今的所获得的扶持不仅比不了南京、杭州等沿海省会城市,在中西部几个城市中似乎也成为了“不受宠”的那个。

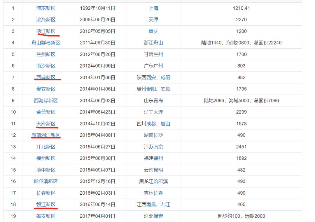
目前武汉只有1个国家级高新区和两个经济开发区,没有国家级新区和国家级临空示范区。而西部三市都有国家级新区和临空区。中部几个城市里面,长沙不仅有国家级新区和国家级临空区,南昌有国家级新区,郑州有国家级临空区。
作为老大哥的武汉,确实很尴尬,小弟都有的,它却没有。

大家不要以为国家级新区和国家级临空区烂大街对武汉没有用,每个“国家级”背后带来的发展是巨大的,参考成都天府新区和郑州临空经济区,都是因为获批国家级才开始大发展的。
这也是武汉为什么要坚定不移发展长江新区并且冲击国家级新区的原因。
目前长江新区已经正式升级成为了省级新区,政务中心已经搬去了武湖,也开始对接托管武湖和阳逻等地相关事宜。

谌家矶那边也入驻了不少企业,武湖这边几条道路已经开工,项家叉西片开发项目也正在启动,一切都开始向着好的方向发展。
后面武汉要做的就是加大武湖片区、三里桥和阳逻片区的招商引资,给武湖、三里桥和阳逻引进更多的产业,同时优化长江新区与市区以及周边的交通设施,尽快落实新港线和18号以及14号线,促进长江新区与东西南三个方面的对接。
目前国家并没有完全否定武汉的长江新区,而是支持武汉已建促批,相信只要省市两级大力支持,长江新区肯定能获批国家级。

武汉也会因为这个国际级新区,壮大江北,与光谷、武汉经开、武汉临空港形成经4大济增长极,让武汉尽快实现复兴。
///
目前武汉离直辖市越来越远,以后大概率也不可能直辖,但是武汉却一直没有放弃复兴之路。
虽然不敢肯定以后是否能再次比肩大上海,但是武汉冲击第五城的决心是很坚定的。这也是为什么在疫情那么大的冲击下,武汉依旧可以坚挺下来。
最后希望武汉能发展得越来越好,早日实现自己的复兴梦,加油!
-END-
编辑:筱攸
图片:筱攸、网络

到顶部