继续操作前请注册或者登录。

重磅!华为鸿蒙智行第五界命名即将出炉——上汽尚界



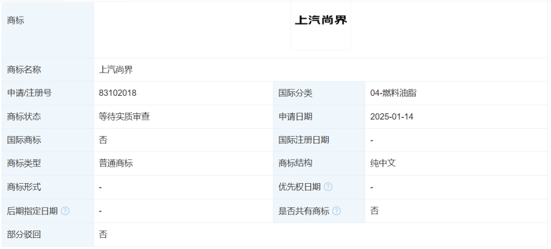
今日从天眼查查询到:上海汽车集团股份有限公司(简称:上汽集团)于2025年1月14日提交商标申请:上汽尚界,当前状态是等待实质审查。


上汽牵手华为
2025年1月12日,据多家媒体报道,上汽集团“大乘用车板块”已开启全员竞聘。“目前主要面向公司管理层,绩效好的可以跨级升职。”接近上汽集团的消息人士指出,大乘用车板块还将进行组织架构的大调整,预计在今年一季度完成。
多位上汽集团内部人士,将此次调整解读为,上汽自主板块为迎接华为做准备。消息称首批已有 40 多位华为方人士进驻上汽,计划在飞凡汽车内部代号为 ES37 的纯电 SUV 上引入华为的全套方案。
不过,此消息未经官方确认,一切以官方消息为准。

上汽集团遭遇销量瓶颈
近年来,上汽集团遭遇销量瓶颈。
根据上汽集团公布的最新销售数据,2024年全年销量为401.3万辆,相比2023年的502.09万辆下降了20.07%。
上汽集团旗下的多个子公司均出现了不同程度的销量下滑。
其中,上汽通用汽车有限公司的销量下降最为显著,2024年销量为43.5万辆,相比2023年的100.1万辆下降了56.54%。
上汽集团乘用车分公司的销量也出现了28.3%的降幅,从2023年的98.6万辆降至2024年的70.7万辆。
上汽大众汽车有限公司和上汽通用五菱汽车股份有限公司的销量下滑幅度相对缓和,分别为5.51%和4.49%。
华为鸿蒙智行的前四界
华为的合作模式主要有两种:
HI(Huawei Inside)模式:华为向车企提供全栈智能汽车解决方案,覆盖智能座舱、智能驾驶、智能网联、智能电动和智能车云服务等五大智能系统,以及整套零部件(涉及30多种智能化部件)。车企使用华为的技术和解决方案,但华为更多处于被集成的角色,助力车企造车。合作伙伴包括北汽蓝谷子品牌极狐、长安汽车子品牌阿维塔和广汽集团子品牌埃安等。
智选模式:华为将深度参与产品定义、整车设计、营销、用户体验等环节。华为不仅与车企合作开发产品,帮助车企“造好车”,还有帮助车企“卖好车”。目前在合作中的车企包括赛力斯、奇瑞、江淮、北汽等。目前该智选模式正式更名为“鸿蒙智行”,在汽车销量中单独列为一个新势力品牌进行统计。
第四界——尊界
24年7月,余承东在一场直播活动中,首次披露了华为与江淮汽车合作打造的汽车品牌——“尊界”。9月华为正式将“尊界”等商标转让至江淮汽车。
“尊界”品牌的首款车型定位为百万级别,对标迈巴赫、劳斯莱斯等超豪华车型,双方合作的首款车型预计将在2025年春天上市。

第三界——享界
享界汽车是华为与北汽蓝谷合作打造的新能源汽车品牌。品牌定位:享界品牌定位高于智界,甚至略高于问界。

第二界——智界
2023年,华为与奇瑞共同推出了智界项目。华为负责整车的设计研发、策划定位以及后期的销售渠道,而奇瑞则负责制造车辆。智界S7的营销、售后及保养也完全由华为负责,车辆只在华为的鸿蒙智行旗舰店、体验店或生活馆销售,不在奇瑞店里销售‌。
智界系列目前的产品线包括S7电动轿车和R7电动跨界SUV。
智界S7的定位是中大型轿车,预售价在25.8-35.8万元之间,主要竞争对手是特斯拉Model 3‌。

第一界——问界
问界是鸿蒙智行的起源,也是目前最亮的金招牌,24年7月2日,赛力斯出资25亿元从华为手中正式收购了问界系列相关商标。关于问界的情况,我前作介绍过多次,大家也非常熟悉了,不再多做介绍,直接上24年的销量业绩:
‌问界M5 2024年销量为36511辆‌‌;
‌问界M7 2024年全年累计交付近20万辆,荣获2024年新势力车型年度销冠;。
问界M9 2024年全年交付151188辆,持续蝉联中国市场售价50万元级豪华车型销冠;
问界M8 即将上市



到顶部