新机:iPad mini6真机模具;华为可拆卸屏幕的手机;iPhone超小屏版本;小米MIX4维修价格



一加9RT有望首发搭载Android 12
根据外媒的消息,近日一加有望推出另一款新机型,名为一加 9 RT。

预计该机将搭载高通骁龙 870 处理器,定位高于一加 9R。手机主摄像头将使用 5000 万像素索尼 IMX766 传感器,此外还会有 16MP 超广角摄像头、5MP 微距镜头以及 2MP 景深镜头。
有外媒表示,该机有望成为全球首款出厂搭载 Android 12 系统的手机,系统将采用一加与 OPPO 合作的 OxygenOS 12。预计这款手机将于 2021 年第四季度 Android 12 正式版发布后问世。(来源:IT之家)
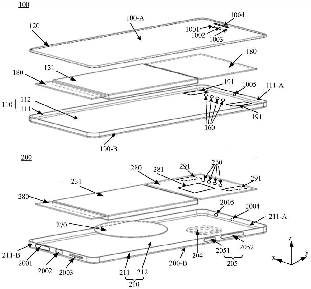
苹果 iPad mini 6 最新模型曝光
近日,有外媒曝光了几张号称是苹果 iPad mini 6 的铝制模型图。

从模型图可以看出,该机没有 Home 键,机身更薄,采用直角边框,看起来就像缩小版 iPad Air 4,后置单摄像头、侧面的电源键与音量键都在上方。
据了解,新款 iPad mini 有望在今年秋季与新款 iPhone、Apple Watch、AirPods 和 MacBook Pro 一同发布。(来源:IT之家)
联想小新Air 14 Plus 2021酷睿版发布
今日联想小新宣布了一款全新配置的笔记本,名为小新 Air 14 Plus 2021 酷睿版。

据了解,全新的酷睿版采用了英特尔 i5-1155G7 处理器,依旧使用了 MX450 独显。外观、模具预计也与锐龙版类似,同时配备 16GB 内存 + 512GB SSD。该机配备 14 英寸 2.2K 液晶屏,比例 16:10,能够显示更多的画面。屏幕最大亮度 300nit,覆盖 100% sRGB 色域,支持 DC 调光,同时有着德国莱茵低蓝光认证。
接口方面,该机配备两个 USB-C 口,支持 100W PD 充电以及数据传输,其中一个支持数据传输。此外,该笔记本还包含一个 HDMI 接口、两个 USB-A 接口等。目前联想小新 Air 14 Plus 2021 酷睿版还没有在电商平台上架。(来源:IT之家)
华为公布可分离移动终端专利
华为技术有限公司在近日公开了一项“可分离的移动终端”专利,专利号为 CN113271368A,申请日期为 2020 年 9 月。

专利摘要显示,该申请提供了可分离的移动终端,包括屏幕组件和与屏幕组件可拆卸连接的主机组件,在屏幕组件和主机组件合为一体时,屏幕组件的外表面可与主机组件接触。屏幕组件便于和用户交互,主机组件包括用于提供通话功能且重量较重的移动通信模块,重量会大大减轻。
在屏幕组件和主机组件分离时,主机组件与屏幕组件可实现移动终端的通话功能,用户可仅手持屏幕组件,将主机组件放置在口袋或其他地方。在能够实现移动终端的通话功能的情况下,重量较轻的屏幕组件减少了用户手持的设备的重量,实现了移动终端的轻薄化设计。(来源:IT之家)
三星Galaxy M52 5G完整规格曝光
据外媒报道,三星 Galaxy M52 5G 手机的完整规格已在今日曝光。

据悉,该机将搭载骁龙 778G 芯片,采用 6.7 英寸 Super AMOLED 屏幕,具有全高清 + 分辨率,在内存、储存方面,提供 6+128GB 和 8+128GB 两种方案供选择,拥有 5000mAh 电池。
外观方面,该机整体尺寸比较小,长度、宽度和厚度分别为 164 x 75 x 7 毫米,重量为 175 克。目前官方还未透露该手机的具体发布时间。(来源:IT之家)
谷歌Pixel 6/Pro支持33W充电
据外媒报道,谷歌即将推出的 Pixel 6 和 Pixel 6 Pro 手机将首次支持 33W 充电。此前,谷歌 Pixel 系列手机最高仅支持 18W 充电。

据了解,谷歌 Pixel 6/ Pro 两款手机将搭载谷歌自研的 Tensor 芯片,其摄像模组还将采用三星 50MP GN1 传感器,Pro 版可能将比普通版新增一个 48MP 的长焦镜头。
此外,谷歌 Pixel 6 系列手机还将配备屏下指纹识别,不过其放弃了 Pixel 5 中的屏下听筒,回归了传统的听筒设计,预计在今年秋季发布。(来源:IT之家)
三星Galaxy S22 Ultra摄像头跟上代相同
根据外媒的最新报道,三星可能不会为其 Galaxy S22 Ultra 提供任何重大的相机升级,可能会使用跟 S21 Ultra 相同的相机硬件。

该报道称,三星 Galaxy S22 Ultra 将继续使用 10800 万像素的主摄像头、10 倍变焦的 1000 万像素潜望式摄像头、3 倍变焦的 1000 万像素长焦摄像头和一个 1200 万像素的超广角摄像头。
据了解,S22 + 和 S22 都搭载全新的 5000 万像素 RGBW 传感器,以及带有 3 倍光学变焦的 1200 万像素长焦镜头和 1200 万像素超广角镜头。与上代机型相比,在相机方面有很大的提升。(来源:IT之家)
苹果曾考虑推出“iPhone nano”
近日据外媒报道,在 Epic 与苹果的诉讼中,一封来自苹果创始人史蒂夫・乔布斯 2010 年 10 月 24 日的邮件被曝光,该邮件证实了苹果曾考虑过推出“iPhone nano”。这是一款比 iPhone 4 更小、更便宜的新 iPhone。

据了解,苹果在当时发布了广受欢迎的 iPod nano 第六代,之后乔布斯和同事们讨论了有关“iPhone nano”的可行性,但总之最后没能正式推出。(来源:新浪科技)
小米MIX4维修价格出炉
近日,小米MIX 4 的维修售价出炉。采用了 CUP 屏下摄像头和 Unibody+ 陶瓷背板的小米MIX 4 维修价格相比其他的旗舰机型贵了不少。

值得一提的是,支持 CUP 屏下摄像头的1080P 分辨率 120Hz 刷新率的这块华星光电 OLED 屏幕就需要 1550 元,相比小米 11 Ultra 的那块 2K 分辨率 120Hz 刷新率的 OLED 屏幕贵了 120 元。另外该机的陶瓷背板维修价格为 680 元,而小米 11 的维修费用仅需要 120 元。(来源:锋潮科技)
iPad mini6搞快点
↘↘↘
到顶部