新机:卷轴屏iPhone曝光;华为开始准备P50样机;vivo NEX折叠屏新机;华为新机神似Mate30



华为P50/Pro系列已开始在线下规划样机
此前有消息称华为 P50 系列发布会时间已确定,还有人暗示华为 P50 系列将于 7 月 29 日发布。

数码博主 @长安数码君 透露,从下个月开始,华为 P50 系列已经开始准备线下门店的样机和物料规划,这再一次证实华为 P50 系列将于下个月到来。
此外,此前 @数码闲聊站 也表示华为 P50 的 4G 版本已经成功入网公示,将搭载鸿蒙系统。
从此前爆料来看,华为 P50 系列外观设计类似刚刚发布的荣耀 50,后置双圆环多摄,可能配备 f/1.8 的 IMX707 主摄,焦段 18~125mm,可实现等效 5x 的光学变焦。(来源: IT之家)
vivo 布局折叠屏,正在申请相关商标
企查查 App 显示,维沃移动通信有限公司近日申请了“NEX FOLD”、“NEX SLIDE”、“NEX ROLL”等商标,国际分类为 9 类 科学仪器,目前状态都是“注册申请中”。

此外,vivo 旗下品牌 iQOO 也申请了“IQOO FOLD”、“IQOO SLIDE”、“IQOO ROLL”商标,从命名来看,分别对应折叠、滑动、卷轴。

据 Omdia 研究机构报告称,2021 年,三星、华为、OPPO、vivo、小米等品牌的多款折叠屏智能手机产品将进入市场。(来源: IT之家)
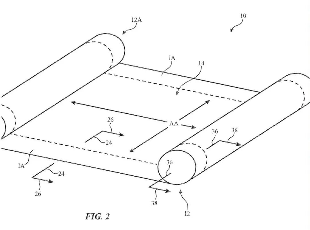
苹果获得折叠屏/卷轴屏设备新专利
苹果现获得一项“具有柔性显示结构的电子设备”专利 (11044822)。这暗示苹果可折叠 iPhone 或者其他苹果设备,例如 iPad,甚至是 Mac 笔记本电脑等设备将迎来更多形态。
在专利数据中,苹果指出:如笔记本电脑、移动电话和其他设备通常都配有显示屏,而这些屏幕也都包含面向用户的图像像素数组,但显示屏通常由刚性结构构成,如玻璃板。
苹果表示,这使得制造小型电子设备变得更难,而他们认为柔性显示屏可以是这种问题的解决方案。

专利概要如下:一款电子设备至少采用一块柔性显示屏。所述电子设备可具有相互旋转耦合的外壳部分,以便所述柔性显示屏可沿一个或多个轴进行折叠。
且这种设备可以配备存储柔性显示屏的滚轮,当需要额外的显示区域时,滚轮可使其从壳体内滑出。(来源: IT之家)
华为nova 8i渲染图曝光
此前据 playfuldroid,华为在简报中确认,将在东南亚发布一款华为 nova 8i 手机,该机定位中端。现在,playfuldroid 放出了该机的渲染图。
从图中可以看出,华为 nova 8i 并不像 nova 8,反而类似华为 Mate 30 系列。该机拥有后置 4 摄,同样为圆盘凹面设计。电源键凹陷,可能会有侧边指纹识别。

根据 playfuldroid 报道的简报信息,华为 nova 8i 将提供月光银、星空黑和星际蓝 3 款配色,上图可能是月光银。该机将采用 6.67 英寸 LCD 屏,左上角挖孔,屏占比达 94.7%。
此外,该机将配备 6400 万像素主摄,以及 800 万像素超广角 + 200 万像素微距 + 200 万像素景深。(来源: IT之家)
realme Q3 Pro狂欢版将推12GB + 256GB版本
realme 于 5 月份发布了 realme Q3 Pro 狂欢版,该机搭载了骁龙 768G 处理器,8GB + 128GB 首发价 1799 元。

今日,realme 副总裁、中国区总裁、全球营销总裁徐起宣布,realme Q3 Pro 狂欢版即将上线 12GB + 256GB 版本。
realme 真我 Q3 Pro 狂欢版搭载了骁龙 768G 处理器,配备 120Hz 三星 AMOLED 电竞屏,有黑巧森林、天空之城两款配色。(来源: IT之家)
三星Galaxy S21 FE版计划仅在欧洲和美国发售
根据韩国媒体 TheElec 消息,三星 Galaxy S21 FE 粉丝版手机将仅在欧洲和美国地区推出。这款手机同属 S21 系列,将搭载高通骁龙 888 处理器,外观以及参数配置与 S21 标准版近似,但是后盖将采用多彩配色。

外媒从消息人士处了解到,由于芯片等零部件供应短缺的问题,三星计划推迟这款手机的发布计划,预计将在 2021 年 10 月正式发布。是否会在美国和欧洲以外的地区推出,还要等到 11 月份才能够决定。(来源: IT之家)
三星Galaxy Buds 2渲染图全曝光
外媒 91mobiles 从行业可靠消息拿到了三星 Galaxy Buds 2 耳机的渲染图,该耳机有望在 6 月 28 日 MWC 2021 和 Galaxy Watch 4 一同发布。

三星 Galaxy Buds 2 不同于 Galaxy Buds 以及 Galaxy Buds +,它没有采用后两者的光滑 + 哑光拼接设计,整个耳机本体都是一种材质。该耳机共拥有黑、白、绿、紫四款配色,耳机盒的颜色只有里面有,耳机盒外面都是白色。(来源: IT之家)
真就全体进军折叠屏啊
↘↘↘
到顶部