继续操作前请注册或者登录。

新机:小米12X配置曝光;iPhone14最新细节;酷派新机发布时间;小米平板5可以刷Win11系统



荣耀60官宣
荣耀终端有限公司中国区 CMO 姜海荣今日宣布,将于 11 月 22 日发布新品,在浩瀚星空里发现美,号称“2021 手机颜值天花板”。

此前有爆料称荣耀将推出荣耀 60 系列,并且曝光了该系列的创意海报,与姜海荣发布的星空图概念一致。
此前据微博博主 @鹏鹏君驾到 消息,荣耀 60 依然会在产品外观方面贴合年轻人的主流设计语言,同时在视频 Vlog 等方面提供有趣的玩法。(来源:IT之家)
小米平板5运行Win11
据B站UP 主 @Sunflower2333 发布的视频显示,小米平板 5 已经成功运行了 Windows 11 ARM 系统,当然也支持运行 Windows 10 ARM。

根据视频可以看出,小米平板 5 运行 Windows 11 系统在 2K 分辨率下较为流畅,该 UP 主还降低了 CPU 核心的频率,使其更加省电。
该 UP 主也是利用了此前的 Woa 项目,采用了骁龙 855 (SM8150) 的一些驱动程序,还在研究骁龙 720G 的一些东西,包括蓝牙和 PEP 等。(来源:IT之家)
Exynos 2200跑分曝光
根据外媒 GSMArena 报道,今日三星 Galaxy S22 Ultra 手机搭载 Exynos 2200 的版本的机型,出现在了 Geekbench 5 网站。

据悉,这款手机代号“SM-S908B”,单线程分数 691 分,多核分数 3167 分,预计手机为工程版本,跑分未发挥出其应有的水平。
跑分信息可以看出,Exynos 2200 处理器采用 1+3+4 设计,超大核跑分时为 2.52GHz,3 颗大核频率 2.50GHz,4 颗小核为 1.73GHz。此外,这款手机内存为 8GB 起。(来源:IT之家)
摩托罗拉Moto G200搭载一亿主摄
今日,摩托罗拉在欧洲地区正式发布了 5 款 G 系列新机,其中旗舰型号为 Moto G200。这款手机的外观与此前爆料相似,采用后置三摄设计,搭载高通骁龙 888 Plus 芯片,配备 6.8 英寸 LCD 液晶屏。

该手机采用居中开孔设计,屏幕支持最高 144Hz 刷新率,支持 HDR10 以及 DCI-P3 广色域。手机标配 8GB LPDDR5 内存,以及 128GB/256GB UFS 3.1 闪存。
影像方面,手机配备 1.08 亿像素大底主摄,支持像素 9 合 1,兼容 8K 视频录制和 960fps 慢动作视频录制。此外手机还具有 13MP 超广角/微距镜头,以及景深镜头。此外,手机前摄为 16MP。(来源:IT之家)
苹果自研基带将不会集成
据 DigiTimes 消息,苹果将在 2023 年推出自研 5G 基带芯片,但不会集成到苹果的 A 系列芯片中。

据悉,苹果 2019 年收购了英特尔的调制解调器芯片业务,消息称苹果已经启动了自主研发的调制解调器芯片的工作。而 2022 年将是高通为 iPhone 提供所有基带芯片的最后一年。此后,预计 iPhone 将开始采用苹果自己设计的 5G 基带。
在本周早些时候的投资者日上,高通表示,它预计在 2023 年只供应苹果 20% 基带芯片,这意味着从 2023 年开始,苹果将自行供应 iPhone 所需的 80% 的 5G 基带芯片。(来源:IT之家)
酷派新机发布会定档
今日酷派官方宣布,将于 12 月 1 日晚上 7 点召开新品发布会,正式推出酷派 COOL 20 Pro。

据悉,酷派 COOL 20 Pro 将搭载主频为 2.4GHz 的八核处理器,或为联发科的天玑 810 处理器。正面配备一块 6.58 英寸的 LCD 屏幕,分辨率为 1080P 。前置镜头为 800 万像素,后置三摄镜头中包括一颗 5000 万像素主摄。
同时根据官方此前的预热,酷派 COOL 20 Pro 将搭载真正的对称式双扬声器,并带来澎湃的低音效果和保真细节原声效果,看来外放音质是该款新机的主要卖点之一。(来源:锋潮科技)
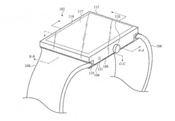
直角边框的Apple Watch
近期有外媒曝光了苹果一项智能手表的设计专利申请,名称为“戴玻璃外壳的可穿戴电子设备”。

根据专利的相关图片显示,苹果的新款智能手表将迎来设计改款,手表机身呈直角边框设计,和当下的 iPhone 12/13 系列的设计较为相近。(来源:锋潮科技)
小米12X参数曝光
近日,开发者 @kacskrz 在数据库当中发现了一款型号为 2112123AG 的小米新机。

该开发者指出,该款机型很有可能就是即将推出的小米 12X,代号为「psyche」,意为罗马神话中的灵魂女神,或在暗示小米 12X 将拥有高颜值的机身设计。
爆料者表示,小米 12X 将搭载 高通骁龙 870 处理器,配备后置 5000 万像素主摄。屏幕方面,小米 12X 将配备一块 6.28 英寸 AMOLED 屏幕,支持 HDR10 、120Hz 刷新率,拥有 Full HD+ 分辨率(1080×2400)。
此外,新机宽度仅有 65.4mm,与 iPhone 7 相近(67.1mm)。这也代表小米 12X 在手感上会给用户带来更多的惊喜。(来源:锋潮科技)
三星新平板刘海实锤
三星 Galaxy Tab S8 Ultra 平板近期曝光的消息和渲染图越来越多,其中可能让人难以理解的是在产品最新渲染图中显示在平板其中一条长边框中间区域居然有一块为刘海凹槽设计。

近日,爆料人 @UniverseIce 表示貌似很多人都对三星 Galaxy Tab S8 Ultra 在长边框中间区域存在刘海的设计颇为怀疑,他表示该刘海区域 100% 存在,但区域面积不会很大。该刘海区域将搭载两颗前置摄像头,其中有一颗为超广角镜头,且可以拍摄 4K60 帧的视频。(来源:IT之家)
紫米充电宝涨价
今日紫米公司宣布,由于目前 3C 配件原材料价格持续大幅波动,且未来较长一段时间核心部件、材料价格仍会持续走高。迫于材料成本大幅波动,官方决定于 2021 年 11 月 20 日起,对 ZMI 20 号移动电源(200W)官方建议零售价进行调整。新的零售价暂时未公布。

这款产品于 2021 年年初在美国开启众筹,目前零售价为 369 元。产品内置 25000mAh 电芯,多口峰值输出功率可达 200W。(来源:IT之家)
iPhone 14 Pro最新细节
有消息显示,苹果或将为 iPhone 带来人们期待多年的 USB-C 接口。

根据多个消息源透露的信息,苹果之所以为 iPhone 14 系列配备 USB-C 接口主要有以下三大原因:Lightning 接口自 2012 年以来就一直在用,它使用的是 USB 2.0 的传输速度。现 iPhone 13 Pro 将允许客户在 ProRes 中录制素材,这会占用大量存储空间。
而另外两个原因为:苹果希望避免未来因不包含 USB-C 等通用连接器而导致的法律纠纷,以及环境保护。(来源:IT之家)
换了接口苹果还怎么赚钱
↘↘↘
到顶部