小米智能驾驶方案被意外曝光:5毫米波雷达+1摄像头,实现L2级自动驾驶


邓思邈 发自 副驾寺智能车参考 | 公众号 AI4Auto
做手机时,是小米抢着官宣公布核心供应商新品的首发。
造智能车后,小米成了别家锦上添花的角色。
这自然有小米今时今日的影响力和号召力。
但如果这个供应商是大陆集团及其国内合资子公司,那或许也多少有点别的意味。

Anyway,大陆的一则官宣新闻,似乎已将小米首款车智能驾驶方案曝光:
5R1V——即5毫米波雷达1摄像头方案,L2级自动驾驶能力。
搭载在2024年首款电动车上。
米粉朋友们,对这套方案,Are you OK?
大陆公告,小米就差被报身份证号
大陆集团的官方公告中是这么说的:
大陆集团从国内一家备受瞩目的造车新势力公司,获得了5R1V多传感器融合系统解决的量产订单,助力该造车新势力打造L2级自动驾驶量产项目,并计划于2024年在该造车新势力公司的首辆电动汽车上率先投产。
没错,没有指名道姓,但也就差报身份证号了。
备受瞩目、造车新势力、2024年首辆量产电动车……
站在今时今日而言,配得上一系列定语如——备受瞩目和造车新势力,还是首辆的,基本都是一些成名玩家。
如百度和吉利合资子公司集度,李一男和小牛电动搏一搏的4轮电动自游家,以及雷军放话“押上人生所有战绩和声誉”的小米汽车。
但如果限制到2024年推出首款车,有且只有小米。

只是没想到,小米的首款车,被雷军用“首战即决战”来表达决心的第一份答卷,采用的是5R1V方案。
不知道最后只会是这样一套系统,还是激光雷达为代表的新传感器系统另有别的供应商……

但如果只用5R1V方案,放在2022年的量产车中,也已经不具堆料优势了。
所以大概率而言,这应该只是智驾方案之一,或者说主要负责L2级自动驾驶能力。
什么ACC、LCC,都包含其中,也是比较成熟的系统方案。
有意思的是,官方称这款摄像头来自大陆集团与地平线新成立的合资公司——大陆芯智驾,基于地平线征程3芯片打造。

毫米波雷达方面,大陆表示由第5代前向毫米波雷达(长距雷达)和角雷达(短距雷达)组成。
具体毫米波雷达的型号,官方尚未透露。但由目前的产品矩阵可以推测出,长距雷达应该是ARS510,而不是2021年量产的ARS540。

主要原因在于,有资料称ARS540作为首款4D成像雷达,是大陆为L5级自动驾驶设计的,将首先搭载在宝马的下一代自动驾驶车辆iNext上,此外北美通用在其高端车型上也会使用。
而ARS510,性价比极高,可适用于自适应巡航ACC和紧急制动辅助EBA功能,可以装在车头,也可以隐藏在塑料盖板后,比如前保险杠,格栅等。

短距雷达也许是SRR510或者SRR520。资料显示,后者支持100米测距,基于77GHz技术可以更精确地探测车辆周围环境,体积小巧所以很容易集成在保险杠后面。

实际上,毫米波雷达也是大陆集团的拳头产品之一。
作为全球知名的汽车零部件供应商之一,大陆集团一直在毫米波雷达市场占据优势,大众、奥迪、日产、保时捷、福特、奔驰等都是其合作方。
但大陆也有尴尬一面,一直以来,在汽车供应商的市场影响力和号召力中,综合实力始终排在博世之后。
这也是为何小米官宣之前,大陆自己先官宣了。

换成博世,或许官宣公告的方案就会有所不同。
这就好比手机领域,联发科率先官宣了小米新旗舰将首发搭载一样……
只是无论如何,一则公告,足见小米入局造车以来的影响力。
小米智能车进展如何?
实际上,自去年官宣造车以来,小米最快的进展还是体现在智能化。
别家造车先买厂、搞资质和找代工厂,小米却早已看穿一切,知道2024年量产车核心竞争力位于何方。

目前小米的智能车进展,主要从三大方面推进:
投资布局,人才招聘,以及专利。
首先是投资布局智能车产业链上下游。
比如去年接连投了自动驾驶供应商纵目科技、激光雷达独角兽禾赛科技,入股了一家智能车供应链公司上海几何伙伴。
此外,小米还收购了一家自动驾驶公司——DeepMotion深动科技。
这家公司创办于2017年7月,4位联合创始人CEO 蔡锐、CTO 李志伟、首席科学家杨奎元、研发总监张驰,以及主要的团队均出身于微软亚洲研究院。

DeepMotion采用的是视觉为主的多传感器融合方案,在技术路线方面,以高精地图为核心,对感知、定位与构图模块在算法层面进行整合。
除了自动驾驶,动力电池领域小米也有所涉及,比如投了国内锂业龙头赣锋锂业,还投了长城汽车旗下电池公司蜂巢能源。
值得一提的是,小米连智能停车方案都提前想好了,投了一家智慧互通公司——爱泊车,该公司主要通过AI技术,为大规模城市级智慧停车提供解决方案。

其次是招聘人才,集中力量搞研发和创新。
今年小米一季度财报数据就可以佐证:一季度研发支出达35亿元,同比增长16%,主要是研发人员薪酬增加及智能电动汽车等创新业务相关的研发开支增加所致。其中还特别指出,在智能电动汽车等创新业务花费的费用为4.25亿元。
那么具体招了些啥人?
从以往招聘信息来看,无论是自动驾驶软件工程师、毫米波算法工程师、感知、控制工程师、前端平台研发,还是整车人才,比如模块负责人、专家、资深工程师等等,小米都很需要。

最后,自动驾驶专利方面,小米更是消息频出。
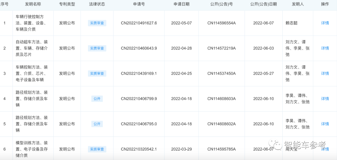
从去年12月23日起到现在,小米汽车科技有限公司已经公开了40项专利,基本上与自动驾驶有关,最近公开的一项专利名为“车辆行驶控制方法、装置、设备、车辆及介质”。

而此次大陆集团的“不点名”公告,算是小米在供应商层面的首个进展。
随着这个进展曝光,首款小米智能车也多了一项确定项——
L2级自动驾驶方案,包含5毫米波雷达和1摄像头。
Are you OK?
— 完 —
【智能车参考】原创内容,未经账号授权,禁止随意转载。
点这里👇关注我,记得标星,么么哒~
到顶部