继续操作前请注册或者登录。

特斯拉防弹玻璃专利曝光!只有3层,薄得不像实力派


知一 发自 副驾寺 智能车参考 报道 | 公众号 AI4Auto
“你到底想不想让你的车防弹?”
一年前,特斯拉的赛博皮卡Cybertruck发布后,马斯克被问到为啥要给自己的车安装防弹玻璃。

马斯克首先是说:因为它超级牛X、超级酷……
后来又马上留下经典反问:你到底想不想让你的车能防弹?
毫无疑问,如果有条件,为什么不呢?
现在,最新曝光的特斯拉专利,让这种条件昭然若揭。
没错,这将是特斯拉在自动驾驶、电池之外的另一大技术创新,防弹玻璃民用,覆盖所有车型。

特斯拉防弹玻璃专利?
就在这两天,特斯拉旗下首款皮卡Cybertruck,订单量超过100万,成为特斯拉有史以来最受期待的新车型。
虽然赛博皮卡要到2022年才会启动量产,但一点不影响外界的关注。
这不,一批相关的新专利被挖了出来。

其中最引人瞩目的,莫过于防弹玻璃相关的专利。
2019年11月,赛博皮卡的发布会上,搭载的防弹玻璃成为了最具热议的话题点。
当时特斯拉首席设计师弗朗茨 · 冯 · 霍尔斯豪森,先是抡起大锤猛砸车门,结果啥印记没留下。
其后又掏出实心铁球扔下前窗玻璃,留下裂纹——但没有穿透。

即便这算是一次失败的现场Demo,因为按照原先说辞和计划,玻璃上应该啥也留不下才对。
但即便如此,如此高冲击力的撞击都无法穿透,还是让所有人深感震撼。
毕竟作为一辆量产民用车,能力已经堪比商用运钞车和军用车了。
后来发布会后,特斯拉方面又再演示了一次,同样的实心金属球砸玻璃,确实留不下痕迹。

当时发布会上的“失败”原因也被找到,大锤砸门后造成车窗没有处于密闭状态。
总之,2019年发布会现场内外,特斯拉证明了赛博皮卡搭载的新玻璃,确实超级耐用,达到了防护新高度。
而刚刚曝光的新专利,则解释了背后的秘密和原理。
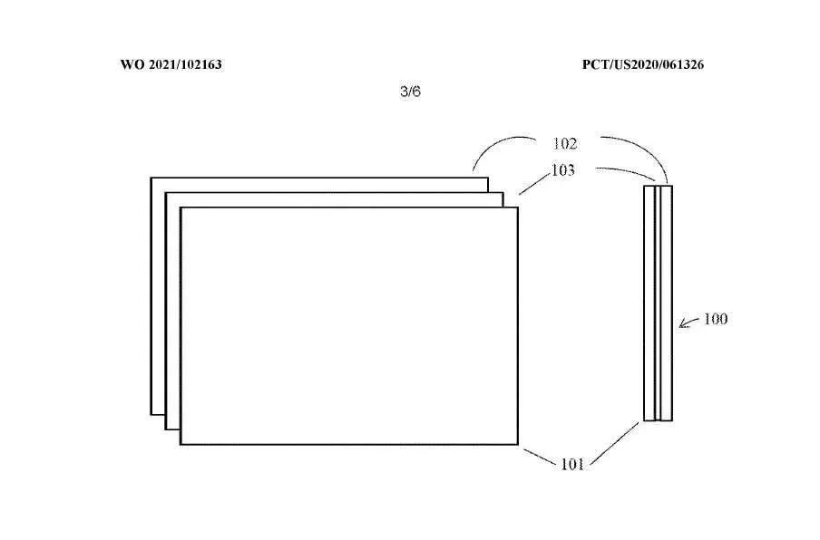
首先,大原理跟军用防弹玻璃一致,特斯拉采用的也是多层玻璃堆栈。
其次,特斯拉的多层玻璃包含3层。

一个是面向车内层,厚度在0.5-1.1毫米之间。
中间是粘合剂,兼具了两层玻璃粘合连接以及吸收外部冲击能量。
面向车外的一层玻璃,则由二氧化硅和硼氧化物制成,特点是熔点低、密度高,比普通玻璃可以更耐热和耐冲击。
最外这层也最厚,但也控制在2-5毫米之间。
所以整体来讲,特斯拉这个汽车玻璃专利,在厚度方面展现出了核心优越性。

如果在同样的防弹能力下,厚度越小,理论上越难。
防弹玻璃的主要原理,是在玻璃夹层中加入聚碳酸酯纤维层,一层不够就两层……另外考虑到外向玻璃面临的考验,外向这一层还会厚度上大大提升。
所以一般防弹玻璃的厚度,会在70-75毫米左右——军用和特殊用途的还可能更厚。
而特斯拉专利来看,整个厚度会实现倍数级压缩,无论是成本还是美观设计,都更适合民用普及。
有意思的是,这项玻璃专利,虽然是在特斯拉赛博皮卡“名下”,但在专利完整介绍里,已经明确展示了其他车型搭载的“预告”。

看来未来特斯拉全系车型,将标配防弹玻璃。
有啥好处?
除了在美国能防弹,对全球其他地区的车主,还能有啥好处?
特斯拉在专利中,强调最多的是耐用性。
之所以花大心思搞“防弹玻璃”,更核心的是想提升汽车玻璃的耐用性。
新玻璃能够承受正常路况上的各种压力,并且几乎不会被损坏,可以免去很多烦恼。

比如现在量产车玻璃,可能在没有太多外力的情况下,就很容易被打碎、破裂,甚至一些小石子飞溅也能打碎玻璃。
而一个小破裂,还得更换整个玻璃——安全隐患另说,价格还不菲。
所以特斯拉这波,考虑得算是细致而深远。

当然,不知道目前特斯拉的玻璃供应商怎么看?
现在中国生产的特斯拉,前后挡风玻璃的供应商是特斯拉在美国的老牌供应商圣戈班,其他车窗则是曹德旺旗下的福耀玻璃。
至于福耀有没有能力搞出特斯拉专利一样的防弹玻璃,那就又是另一话题了。
不过,随着汽车产业正在发生的变革,来自中国福建的“神秘力量”正在得到越来越多的关注。
比如福耀玻璃,比如宁德时代。

OK,这就是特斯拉最新曝光的玻璃专利。
随本次一齐曝光的还有电池方面的专利,但主要还是补强为主,传送门如下:
https://patentscope.wipo.int/search/en/detail.jsf?docId=WO2021102340&tab=PCTDESCRIPTION
特斯拉的此次玻璃专利完整英文PDF,传送门如下:
https://www.scribd.com/document/509599422/Tesla-Cybertruck-Armored-Glass#from_embed
想更方便?
也可以智能车参考后台对话框回复特斯拉防弹玻璃获取哦。
— 完 —
【智能车参考】原创内容,未经账号授权,禁止随意转载。
点这里👇关注我,记得标星,么么哒~
到顶部