邓思邈 发自 副驾寺智能车参考 | 公众号 AI4Auto
小米造车,又有了最新进展。
首款车外观细节被曝光,前脸和尾部轮廓样貌依稀可辨。
![]()
还得到网友点评:
这不就是高仿特斯拉Model 3吗?
一同被曝出的消息还有:焊接风道、进气格栅、装饰条等一系列汽车零部件,均由北汽供应。
小米首款车外观细节曝光
废话不多说,先上图:
![]()
△左图是被曝出的原图,右图文字为本文作者批注
从图片来看,新车前脸采用了梯形前格栅,两侧雾灯区域也设计了类似空气导流槽的造型,前大灯造型比较圆润。
这样的外观设计,有网友瞬间就联想到了特斯拉Model 3,同时也有网友表示在致敬经典豪车跑车。
![]()
此外,小米首款车零部件供应商也被一同曝光。
![]()
包括汽车焊接风道、侧风道装饰罩、后保险杠下装饰条、下进气格栅等等,都来自北汽模塑。
北汽模塑由北汽子公司海纳川和江南模塑合资成立,其中海纳川为北汽集团零部件产业平台,江南模塑为国内最大的汽车保险杠总成等外饰产品生产基地之一。
公司主要业务为汽车保险杠总成、门槛边梁总成、汽车柱类装饰件等汽车内外饰产品,重点客户包括北汽奔驰、北京现代、北京汽车、北汽福田等。
![]()
之前据消息人士透露,小米大概率会自建工厂生产,而无意采用代工生产的模式。
但北汽一直是小米造车后绯闻对象,先说小米可能会北汽代工,后又有工厂收购论。小米官方对此也一直没有明确表态。
而这次可以确定的是,北汽应该会是小米汽车制造供应链成员了。
小米智能车进展如何?
小米首款车的名称和谍照图,最近都有释出。
据晚点LatePost报道,小米第一款车定位中型溜背式轿车,内部代号为Modena摩德纳。
事实上,从近日被曝的测试车谍照图来看,也印证了这一点。
![]()
四门轿跑设计,整车线条非常低矮,采用溜背造型,形似保时捷Taycan。
车顶上方还有一个激光雷达:
![]()
事实上往前追溯,自2021年3月官宣造车以来,小米最快的进展一直体现在智能化方面。
别家造车先买厂、搞资质和找代工厂,小米却早已看穿一切,知道2024年量产车核心竞争力位于何方。
目前小米的智能车进展,主要从三大方面推进:
投资布局,人才招聘,以及专利。
![]()
首先是投资布局智能车产业链上下游。
比如2021年接连投了自动驾驶供应商纵目科技、激光雷达独角兽禾赛科技,入股了一家智能车供应链公司上海几何伙伴。
此外,小米还收购了一家自动驾驶公司——DeepMotion深动科技。
这家公司创办于2017年7月,4位联合创始人CEO蔡锐、CTO李志伟、首席科学家杨奎元、研发总监张驰,以及主要的团队均出身于微软亚洲研究院。
![]()
DeepMotion采用的是视觉为主的多传感器融合方案,在技术路线方面,以高精地图为核心,对感知、定位与构图模块在算法层面进行整合。
小米总裁王翔当时表示,希望通过收购深动科技加速小米在自动驾驶技术上的研发。
除了自动驾驶,动力电池领域小米也有所涉及,比如投了国内锂业龙头赣锋锂业、“锂电池独角兽”卫蓝新能源,还投了长城汽车旗下电池公司蜂巢能源。
![]()
去年5月,小米投资了电池材料公司法恩莱特,其产品布局电解液、固态电解质及核心添加剂的研发、生产等。
半导体和芯片领域,小米去年9月投资了荣湃半导体,该公司主要聚焦高性能模拟集成电路产品的研发与设计;近日小米还参与投资了汽车电子芯片研发商鸿翼芯。
![]()
值得一提的是,小米连智能停车方案都提前想好了,投了一家智慧互通公司——爱泊车,该公司主要通过AI技术,为大规模城市级智慧停车提供解决方案。
![]()
其次是招聘人才,集中力量搞研发和创新。
2022年小米三季度财报数据就可以佐证:第三季度研发开支41亿元,同比增长25.7%,其中特别指出主要是由于智能电动汽车等创新业务相关的研发开支增加所致。
那么智能车领域,目前小米都在紧急招聘什么人?
自动驾驶领域包括智驾云产品需求分析师、高级前端开发工程师、感知多模态融合算法工程师,整车领域包括车门开发工程师、外饰系统工程师、汽车AI语音产品经理、汽车HUD测试开发工程师、汽车供应商质量经理等等。
![]()
最后,智能车和电动车专利方面,小米更是消息频出。
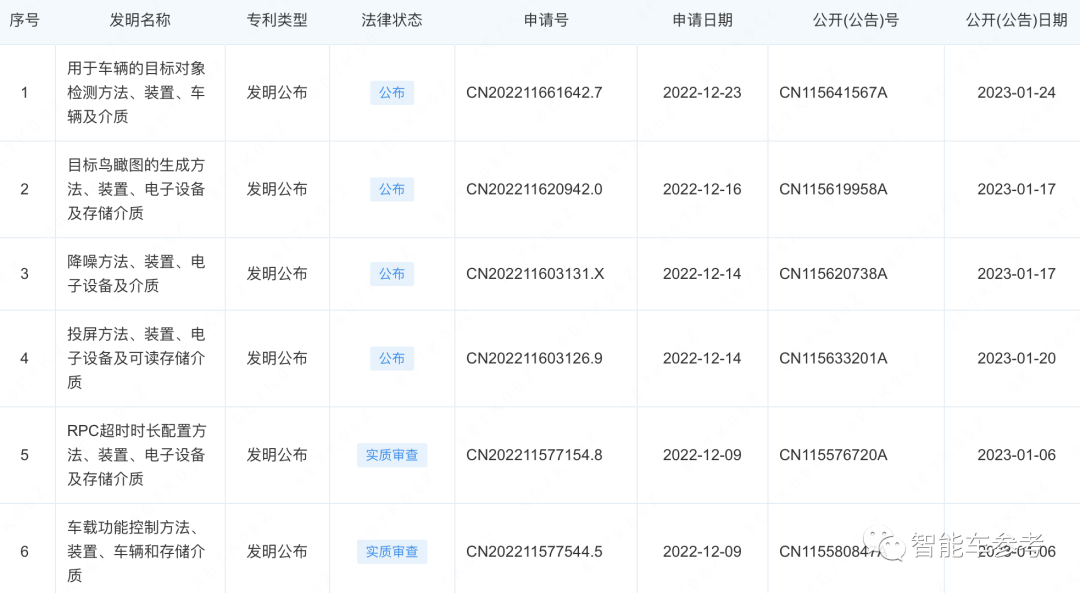
2022年一年时间,小米汽车科技有限公司公开了409项专利,2023年则公开了44项专利,最近公开的一项专利名为“用于车辆的目标对象检测方法、装置、车辆及介质”。
![]()
然而伴随着此次曝光,小米汽车又多了一个确定项——
汽车零部件供应商,其中之一就包括北汽。
再加上之前大陆集团的“不点名”公告,意外曝光小米汽车采用L2级自动驾驶方案,包含5毫米波雷达和1摄像头。
最近禾赛披露的招股书中,也基本确定了成为小米汽车激光雷达供应商。
![]()
没有直接点名道姓,用词非常隐晦:
ADAS激光雷达领域客户,除了理想、集度、路特斯以外,还包括一家已经半只脚跨进了电动车行业、中国领先的消费电子产品制造商。
所以小米的新车很可能会有两个版本,类似于理想的Pro和Max,一个是低配的版本,可能是大陆提供的以视觉为主的、5R1V多传感器融合方案,另一个则是搭载禾赛激光雷达,各项智驾能力更为强大的高配版本。
2024年量产,“年轻人的第一款车”,你期待吗?
— 完 —
【智能车参考】原创内容,未经账号授权,禁止随意转载。
点这里👇关注我,记得标星,么么哒~
小米造车,又有了最新进展。
首款车外观细节被曝光,前脸和尾部轮廓样貌依稀可辨。
还得到网友点评:
这不就是高仿特斯拉Model 3吗?
一同被曝出的消息还有:焊接风道、进气格栅、装饰条等一系列汽车零部件,均由北汽供应。
小米首款车外观细节曝光
废话不多说,先上图:
△左图是被曝出的原图,右图文字为本文作者批注
从图片来看,新车前脸采用了梯形前格栅,两侧雾灯区域也设计了类似空气导流槽的造型,前大灯造型比较圆润。
这样的外观设计,有网友瞬间就联想到了特斯拉Model 3,同时也有网友表示在致敬经典豪车跑车。
此外,小米首款车零部件供应商也被一同曝光。
包括汽车焊接风道、侧风道装饰罩、后保险杠下装饰条、下进气格栅等等,都来自北汽模塑。
北汽模塑由北汽子公司海纳川和江南模塑合资成立,其中海纳川为北汽集团零部件产业平台,江南模塑为国内最大的汽车保险杠总成等外饰产品生产基地之一。
公司主要业务为汽车保险杠总成、门槛边梁总成、汽车柱类装饰件等汽车内外饰产品,重点客户包括北汽奔驰、北京现代、北京汽车、北汽福田等。
之前据消息人士透露,小米大概率会自建工厂生产,而无意采用代工生产的模式。
但北汽一直是小米造车后绯闻对象,先说小米可能会北汽代工,后又有工厂收购论。小米官方对此也一直没有明确表态。
而这次可以确定的是,北汽应该会是小米汽车制造供应链成员了。
小米智能车进展如何?
小米首款车的名称和谍照图,最近都有释出。
据晚点LatePost报道,小米第一款车定位中型溜背式轿车,内部代号为Modena摩德纳。
事实上,从近日被曝的测试车谍照图来看,也印证了这一点。
四门轿跑设计,整车线条非常低矮,采用溜背造型,形似保时捷Taycan。
车顶上方还有一个激光雷达:
事实上往前追溯,自2021年3月官宣造车以来,小米最快的进展一直体现在智能化方面。
别家造车先买厂、搞资质和找代工厂,小米却早已看穿一切,知道2024年量产车核心竞争力位于何方。
目前小米的智能车进展,主要从三大方面推进:
投资布局,人才招聘,以及专利。
首先是投资布局智能车产业链上下游。
比如2021年接连投了自动驾驶供应商纵目科技、激光雷达独角兽禾赛科技,入股了一家智能车供应链公司上海几何伙伴。
此外,小米还收购了一家自动驾驶公司——DeepMotion深动科技。
这家公司创办于2017年7月,4位联合创始人CEO蔡锐、CTO李志伟、首席科学家杨奎元、研发总监张驰,以及主要的团队均出身于微软亚洲研究院。
DeepMotion采用的是视觉为主的多传感器融合方案,在技术路线方面,以高精地图为核心,对感知、定位与构图模块在算法层面进行整合。
小米总裁王翔当时表示,希望通过收购深动科技加速小米在自动驾驶技术上的研发。
除了自动驾驶,动力电池领域小米也有所涉及,比如投了国内锂业龙头赣锋锂业、“锂电池独角兽”卫蓝新能源,还投了长城汽车旗下电池公司蜂巢能源。
去年5月,小米投资了电池材料公司法恩莱特,其产品布局电解液、固态电解质及核心添加剂的研发、生产等。
半导体和芯片领域,小米去年9月投资了荣湃半导体,该公司主要聚焦高性能模拟集成电路产品的研发与设计;近日小米还参与投资了汽车电子芯片研发商鸿翼芯。
值得一提的是,小米连智能停车方案都提前想好了,投了一家智慧互通公司——爱泊车,该公司主要通过AI技术,为大规模城市级智慧停车提供解决方案。
其次是招聘人才,集中力量搞研发和创新。
2022年小米三季度财报数据就可以佐证:第三季度研发开支41亿元,同比增长25.7%,其中特别指出主要是由于智能电动汽车等创新业务相关的研发开支增加所致。
那么智能车领域,目前小米都在紧急招聘什么人?
自动驾驶领域包括智驾云产品需求分析师、高级前端开发工程师、感知多模态融合算法工程师,整车领域包括车门开发工程师、外饰系统工程师、汽车AI语音产品经理、汽车HUD测试开发工程师、汽车供应商质量经理等等。
最后,智能车和电动车专利方面,小米更是消息频出。
2022年一年时间,小米汽车科技有限公司公开了409项专利,2023年则公开了44项专利,最近公开的一项专利名为“用于车辆的目标对象检测方法、装置、车辆及介质”。
然而伴随着此次曝光,小米汽车又多了一个确定项——
汽车零部件供应商,其中之一就包括北汽。
再加上之前大陆集团的“不点名”公告,意外曝光小米汽车采用L2级自动驾驶方案,包含5毫米波雷达和1摄像头。
最近禾赛披露的招股书中,也基本确定了成为小米汽车激光雷达供应商。
没有直接点名道姓,用词非常隐晦:
ADAS激光雷达领域客户,除了理想、集度、路特斯以外,还包括一家已经半只脚跨进了电动车行业、中国领先的消费电子产品制造商。
所以小米的新车很可能会有两个版本,类似于理想的Pro和Max,一个是低配的版本,可能是大陆提供的以视觉为主的、5R1V多传感器融合方案,另一个则是搭载禾赛激光雷达,各项智驾能力更为强大的高配版本。
2024年量产,“年轻人的第一款车”,你期待吗?
— 完 —
【智能车参考】原创内容,未经账号授权,禁止随意转载。
点这里👇关注我,记得标星,么么哒~