贾浩楠 发自 副驾寺智能车参考 | 公众号 AI4Auto
恒大造车,刚刚交付三百来辆,就成了“老赖”。
主体恒驰汽车,被曝刚刚被法院强制执行409万。
接着,有人挖出恒驰汽车在此之前已经累计被强制执行了2.8个亿。
![]()
其实自恒大造车以来,大部分专业人士都存有很大的质疑。
这次终于是“I told you so”了。
而令人想不到的是,许老板“大大大好好好”的豪言、各种保交付冲量产的誓师大会,竟然都是恒驰汽车的“粉饰”。
恒大造车一开始,就是一艘漏水的船。
2000亿身价许家印,400万欠款不愿还
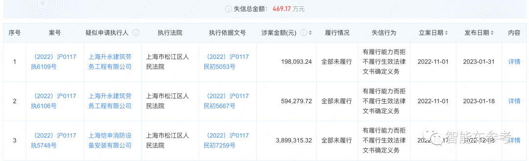
2月1日,恒大恒驰新能源汽车(上海)有限公司新增一则被执行人信息,执行标的409万余元,执行法院为广州市中级人民法院。
“新增”一条,是因为在此之前,恒大已有数条被执行人信息。
![]()
“被执行人”的意思是,法定的上诉期满后,或终审判决作出后,拒不履行法院判决或仲裁裁决的当事人。也就是说恒驰汽车这2.8个亿欠款不管是什么时候欠的,总之就是没还过。
一直拖下去不执行法院判决会怎么样?那就是“失信被执行人”,指具有“有履行能力而不履行”、“抗拒执行”等法定情形,从而被人民法院依法纳入失信被执行人名单的人。
就是老赖啦。
恒驰也有,而且是明确的“有履行能力而不履行”。许老板2000亿身家,尽管为了恒大万亿债务变卖了一些救火,但这供应商的区区400来万,也真的算不上什么天文数字,为啥就不愿意还呢…
![]()
就这些了吗?其实恒驰的窟窿,可以用黑洞来形容。
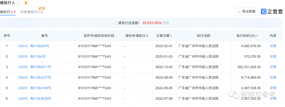
根据企查查的数据,恒驰背着的司法案件有80起,等待开庭的案件或纠纷调解,还有100件:
![]()
两个点比较关键。首先是案由,绝大部分是合同纠纷,包括工程、广告、建设监理、票据追索等等。翻译一下,就是恒驰欠了很多人很多钱没还。
数目无从统计,以亿为基本单位是肯定的了。
其次从案件时间来看,恒驰最早2020年就被供应商告上了法庭。首次被执行是2021年。
而许老板正式宣布造车,是2019年11月。
![]()
从时间线来看,这些纠纷欠款基本来自恒大一开始造车就签订的合同。
所以,恒驰汽车从成立那一天起,其实就是一艘漏水的船。
更重要的是,联系前面法院认定的4百余万元都“有履行能力而不履行”…许老板造车的动机,也多了更多被质疑的理由。
恒大造车记
恒大造车始于2018年。
2018年初,恒大开始进行战略调整。2月,恒大旗下首家汽车公司睿驰智能汽车(广州)有限公司注册成立,后更名为恒大智能汽车。
2018年6月25日,在FF最渴望资金时,恒大健康以8.6亿美元的对价收购香港时颖100%股份。恒大集团正式成为法拉第未来汽车公司的最大股东,也由此进军新能源汽车行业。
当时,对于许家印和贾跃亭来说,这样的合作可谓各取所需。7月13日,许家印一行人亲赴FF总部进行视察,贾跃亭全程陪同。
![]()
不过,蜜月期仅仅维持了三个多月,双方就翻脸了。直到2018年1底双方同意撤销及放弃所有现有诉讼、仲裁程序及所有未来诉讼的权利。这场风波才算结束。
接下来,恒大亲自下场。
2019年11月,许家印在恒大汽车战略峰会上称,恒大造车“要开辟一条和全世界车企不一样的造车路。”
总结来说,就是“买买买”“合合合”“圈圈圈”“大大大”“好好好”,即“把能买的核心技术,能买的企业都买了,买不过来就寻求合作”。
2021年4月,恒大汽车在上海车展上一口气发布9款车型,从恒驰1到恒驰9,覆盖A到D所有级别,以及轿车、轿跑、SUV、MPV、跨界车等全系列车型,一时成为车展的焦点。
![]()
这里还有一个小插曲。有媒体在车展上试图俯身拍摄恒驰汽车底盘构造,结果发现根本没底盘,只糊了一层装饰板,紧接着就被保安四仰八叉地拖离了现场。
这与特斯拉展台维权女车主被抬走,形成当年上海车展的两大奇景。
2021年11月,恒大汽车“意外地”缺席广州车展,有关恒大集团以及恒大汽车的各种传闻也甚嚣尘上。随后的一年就是恒大集团的业务窘境、债务黑洞逐渐展现在世人面前。去年还一度引发了业主集体抗贷。
尽管质疑唱衰不断,不少媒体还专门探访恒驰工厂,爆料“进展寥寥、人员流失”。
但恒大一直向外界释放积极信号。2022年3月恒大召开了“恒驰5量产动员大会”,许家印立下了“军令状”,表示要大干三个月,恒大汽车集团接下来会日夜奋战、努力拼搏,一定要在6月22日的时候实现恒驰5车型的量产。
结果鸽了。恒驰5去年年底才刚刚量产下线。
![]()
这是一辆什么样的车?
![]()
轴距2780mm的紧凑型5座纯电SUV,售价17.9万元。许老板试乘样车,给出的评价是:
“漂亮,真漂亮”。
在竞争激烈的中国新能源市场上,恒驰5没有激起水花。当时发布会后官宣收获超3万订单,但上市第一个月只交付324辆。
![]()
这样反常的数据,实在是汽车工业普遍规律解释不了的。
房地产造车的终局
恒大造车,尽管销量微乎其微,但引起的舆论争议铺天盖地。
首先是关于车辆本身。
第一批车主爆出车机屏幕文字与文字间发生重叠,刹车异响、座椅通风打不开、座椅加热关不了、续航严重缩水等等问题。
![]()
这些硬伤还没解决,又有恒驰内部员工爆料恒大汽车集团总部将解散。据称总部人员架构调整,大部分人面临裁员,小部分人下沉到工厂。部分员工从12月1日起停工留职三个月,一直到2023年2月28日。原因是“公司出现严重经营困难,项目已停工待产,亟待经营管理优化调整。”
恒大的回应是“淘汰比例为10%,另有25%停薪留职”。结合被曝出的失信被执行信息,恒大汽车经营暴雷,其实已经没有秘密可言了。
对于恒驰汽车的讥讽、质疑,归根结底还是落在:房地产造车。
“不懂车、不懂制造业”是他们的原罪。近几年房地产企业遭遇困境,包括恒驰在内的很多地产大鳄暴雷。他们进入汽车行业,被高度怀疑是“假造车真拿地”,借新能源东风续命。
![]()
比如恒大汽车的拿地模式,是以政企合作为前提的产业勾地。
凭借新能源汽车产业投资开路,当地政府以相对较低的地价(通常为底价),搭配其他优惠政策(一般为提供配套的宅地),恒大汽车则以住宅项目反哺造车项目。
因此每到一处,恒大往往都是房产开发销售和新能源汽车产业双管齐下,滚动开发。
恒驰汽车成老赖之前,另一个房地产造车的“难兄难弟”,是姚振华和他的宝能集团。
姚振华当年买下观致汽车,曾被汽车产业内的人冠以“野蛮人”的角色定位。曾经豪言壮语与许家印如出一辙。但几天前被爆出了账上只剩两千块,实际“脑死亡”的现状。
据不完全统计,宝能集团以新能源汽车项目为由,拿下的工业生产用地以及配套的住宅、商业用地,达到9000亩。
最后一辆新能源没造出来,小区倒是破土动工了不少。
![]()
如今暴雷,证明这样的“房地产造车”模式,可能真的挺不过今年这个关口了。
不过恒大集团债务已经达万亿级别,造车欠下的这个把亿的,许老板可能也是“虱子多了不怕痒”吧。
况且,造车以来,恒大集团至少新拿了30000亩(2000万平米)土地(数据来自凤凰网地产频道)。
参考链接:https://baijiahao.baidu.com/sid=1717815783958511492&wfr=spider&for=pc
— 完 —
【智能车参考】原创内容,未经账号授权,禁止随意转载。
点这里👇关注我,记得标星,么么哒~
恒大造车,刚刚交付三百来辆,就成了“老赖”。
主体恒驰汽车,被曝刚刚被法院强制执行409万。
接着,有人挖出恒驰汽车在此之前已经累计被强制执行了2.8个亿。
其实自恒大造车以来,大部分专业人士都存有很大的质疑。
这次终于是“I told you so”了。
而令人想不到的是,许老板“大大大好好好”的豪言、各种保交付冲量产的誓师大会,竟然都是恒驰汽车的“粉饰”。
恒大造车一开始,就是一艘漏水的船。
2000亿身价许家印,400万欠款不愿还
2月1日,恒大恒驰新能源汽车(上海)有限公司新增一则被执行人信息,执行标的409万余元,执行法院为广州市中级人民法院。
“新增”一条,是因为在此之前,恒大已有数条被执行人信息。
“被执行人”的意思是,法定的上诉期满后,或终审判决作出后,拒不履行法院判决或仲裁裁决的当事人。也就是说恒驰汽车这2.8个亿欠款不管是什么时候欠的,总之就是没还过。
一直拖下去不执行法院判决会怎么样?那就是“失信被执行人”,指具有“有履行能力而不履行”、“抗拒执行”等法定情形,从而被人民法院依法纳入失信被执行人名单的人。
就是老赖啦。
恒驰也有,而且是明确的“有履行能力而不履行”。许老板2000亿身家,尽管为了恒大万亿债务变卖了一些救火,但这供应商的区区400来万,也真的算不上什么天文数字,为啥就不愿意还呢…
就这些了吗?其实恒驰的窟窿,可以用黑洞来形容。
根据企查查的数据,恒驰背着的司法案件有80起,等待开庭的案件或纠纷调解,还有100件:
两个点比较关键。首先是案由,绝大部分是合同纠纷,包括工程、广告、建设监理、票据追索等等。翻译一下,就是恒驰欠了很多人很多钱没还。
数目无从统计,以亿为基本单位是肯定的了。
其次从案件时间来看,恒驰最早2020年就被供应商告上了法庭。首次被执行是2021年。
而许老板正式宣布造车,是2019年11月。
从时间线来看,这些纠纷欠款基本来自恒大一开始造车就签订的合同。
所以,恒驰汽车从成立那一天起,其实就是一艘漏水的船。
更重要的是,联系前面法院认定的4百余万元都“有履行能力而不履行”…许老板造车的动机,也多了更多被质疑的理由。
恒大造车记
恒大造车始于2018年。
2018年初,恒大开始进行战略调整。2月,恒大旗下首家汽车公司睿驰智能汽车(广州)有限公司注册成立,后更名为恒大智能汽车。
2018年6月25日,在FF最渴望资金时,恒大健康以8.6亿美元的对价收购香港时颖100%股份。恒大集团正式成为法拉第未来汽车公司的最大股东,也由此进军新能源汽车行业。
当时,对于许家印和贾跃亭来说,这样的合作可谓各取所需。7月13日,许家印一行人亲赴FF总部进行视察,贾跃亭全程陪同。
不过,蜜月期仅仅维持了三个多月,双方就翻脸了。直到2018年1底双方同意撤销及放弃所有现有诉讼、仲裁程序及所有未来诉讼的权利。这场风波才算结束。
接下来,恒大亲自下场。
2019年11月,许家印在恒大汽车战略峰会上称,恒大造车“要开辟一条和全世界车企不一样的造车路。”
总结来说,就是“买买买”“合合合”“圈圈圈”“大大大”“好好好”,即“把能买的核心技术,能买的企业都买了,买不过来就寻求合作”。
2021年4月,恒大汽车在上海车展上一口气发布9款车型,从恒驰1到恒驰9,覆盖A到D所有级别,以及轿车、轿跑、SUV、MPV、跨界车等全系列车型,一时成为车展的焦点。
这里还有一个小插曲。有媒体在车展上试图俯身拍摄恒驰汽车底盘构造,结果发现根本没底盘,只糊了一层装饰板,紧接着就被保安四仰八叉地拖离了现场。
这与特斯拉展台维权女车主被抬走,形成当年上海车展的两大奇景。
2021年11月,恒大汽车“意外地”缺席广州车展,有关恒大集团以及恒大汽车的各种传闻也甚嚣尘上。随后的一年就是恒大集团的业务窘境、债务黑洞逐渐展现在世人面前。去年还一度引发了业主集体抗贷。
尽管质疑唱衰不断,不少媒体还专门探访恒驰工厂,爆料“进展寥寥、人员流失”。
但恒大一直向外界释放积极信号。2022年3月恒大召开了“恒驰5量产动员大会”,许家印立下了“军令状”,表示要大干三个月,恒大汽车集团接下来会日夜奋战、努力拼搏,一定要在6月22日的时候实现恒驰5车型的量产。
结果鸽了。恒驰5去年年底才刚刚量产下线。
这是一辆什么样的车?
轴距2780mm的紧凑型5座纯电SUV,售价17.9万元。许老板试乘样车,给出的评价是:
“漂亮,真漂亮”。
在竞争激烈的中国新能源市场上,恒驰5没有激起水花。当时发布会后官宣收获超3万订单,但上市第一个月只交付324辆。
这样反常的数据,实在是汽车工业普遍规律解释不了的。
房地产造车的终局
恒大造车,尽管销量微乎其微,但引起的舆论争议铺天盖地。
首先是关于车辆本身。
第一批车主爆出车机屏幕文字与文字间发生重叠,刹车异响、座椅通风打不开、座椅加热关不了、续航严重缩水等等问题。
这些硬伤还没解决,又有恒驰内部员工爆料恒大汽车集团总部将解散。据称总部人员架构调整,大部分人面临裁员,小部分人下沉到工厂。部分员工从12月1日起停工留职三个月,一直到2023年2月28日。原因是“公司出现严重经营困难,项目已停工待产,亟待经营管理优化调整。”
恒大的回应是“淘汰比例为10%,另有25%停薪留职”。结合被曝出的失信被执行信息,恒大汽车经营暴雷,其实已经没有秘密可言了。
对于恒驰汽车的讥讽、质疑,归根结底还是落在:房地产造车。
“不懂车、不懂制造业”是他们的原罪。近几年房地产企业遭遇困境,包括恒驰在内的很多地产大鳄暴雷。他们进入汽车行业,被高度怀疑是“假造车真拿地”,借新能源东风续命。
比如恒大汽车的拿地模式,是以政企合作为前提的产业勾地。
凭借新能源汽车产业投资开路,当地政府以相对较低的地价(通常为底价),搭配其他优惠政策(一般为提供配套的宅地),恒大汽车则以住宅项目反哺造车项目。
因此每到一处,恒大往往都是房产开发销售和新能源汽车产业双管齐下,滚动开发。
恒驰汽车成老赖之前,另一个房地产造车的“难兄难弟”,是姚振华和他的宝能集团。
姚振华当年买下观致汽车,曾被汽车产业内的人冠以“野蛮人”的角色定位。曾经豪言壮语与许家印如出一辙。但几天前被爆出了账上只剩两千块,实际“脑死亡”的现状。
据不完全统计,宝能集团以新能源汽车项目为由,拿下的工业生产用地以及配套的住宅、商业用地,达到9000亩。
最后一辆新能源没造出来,小区倒是破土动工了不少。
如今暴雷,证明这样的“房地产造车”模式,可能真的挺不过今年这个关口了。
不过恒大集团债务已经达万亿级别,造车欠下的这个把亿的,许老板可能也是“虱子多了不怕痒”吧。
况且,造车以来,恒大集团至少新拿了30000亩(2000万平米)土地(数据来自凤凰网地产频道)。
参考链接:https://baijiahao.baidu.com/sid=1717815783958511492&wfr=spider&for=pc
— 完 —
【智能车参考】原创内容,未经账号授权,禁止随意转载。
点这里👇关注我,记得标星,么么哒~