继续操作前请注册或者登录。

一己之力建立两大古文明:古印度文明实际由中国人创建?王玄策横扫天竺,不经意间暴露事实,郑和印证,西方虚构的哈拉帕和印度河文明穿帮



一直以来,印度著名女学者米尔卡丹妮对中国情有独钟,她致力于研究华夏文明与人类起源之间的联系。
近年来,通过一系列的考古研究与成果(包括历史变迁中印度人种外貌的亚洲化、生活习性、出土的印章石刻属于甲骨文的一部分等等,同时结合中国历朝历代的文献记载),米尔卡丹妮大胆提出学说:古印度文明实际上是中国建立,跟现代印度关系不大。
不仅如此,她的研究还显示华夏文明是人类文明唯一起源地。
由于这个女学者言论大胆而犀利,故一石激起千层浪,在印度这个事事都要和中国作比较的国家,她也被视作“印奸”。

甚至,有很多人认为她是虚构的人物,是专门用来哄骗中国网友的。
不论其人是真是假,但这个学说恐怕不是空穴来风。
因为在她之前,已有许多学者对古印度文明进行深入的挖掘探索,经过100多年的考证,越来越多的证据显示古印度文明与来自中国的人密切相关。
当然,这样的成果是断然不会得到该国政府承认的。
印度目前有两本所谓的史书:《诸王世系》和《大史》。
奇怪的是,这两本书居然都有神话故事,让人一时无法分辨哪些是历史、哪些是故事。不仅如此,上述书中居然没有统一的编年,——其使用的记年方式,高达二十多种,看得人一头雾水,就连印度人自己也搞不清楚这些编年种类的准确性。
卡尔·马克思在评价印度历史时曾指出:
“印度社会根本没有历史,至少是没有为人所知的历史。”
这是因为古代的印度没有记载历史的传统,或者说没有严格意义上的记载体系与规范,仅存的少量史料不过是只言片语的铭文和充满了神话色彩的传说。
印度因为没有史官记载历史的习惯,所以,古印度历史上的一些人和事,书中主要采纳外国人的记载,一是欧洲人在18-19世纪撰写的几千年前的古印度故事,二是采纳来自中国的唐朝文献史料。
可是,欧洲人凭借什么资料编写古印度的历史呢?
印度人没有问,欧洲人也没有说。
在欧洲人编写的古印度历史中,传说有个阿育王,曾经创建一个帝国,而这个故事印度人自己都不知道、也没有流传,那么,这样的神奇故事来自何处呢?
原来,这个故事源自古希腊历史学家阿里安的《亚历山大远征记》。根据这本书的记载,马其顿人亚历山大大帝侵占印度时,曾经遇到孔雀王朝旃陀罗·笈多的抵抗。这个旃陀罗·笈多,就是阿育王的爷爷。
即便在英属印度时期,阿育王都不是一个被大众所熟悉的人物。
笔者忽然想到了无锡灵山的阿育王柱。

看来,它真的应该只是一个纯粹的旅游建筑。
近代的印度学者们试图构建完整的印度史时,他们赫然发现完全离不开一部中国唐朝的古书,即玄奘法师的《大唐西域记》。
贞观十九年(645年),玄奘法师求法往返十七年后回国,受到唐太宗的隆重接见。
玄奘法师

唐太宗

唐太宗迫切想了解西域的一些情况,便命玄奘法师将西行路途中的见闻汇成一书。后经玄奘口授、弟子辩机和尚执笔成文《大唐西域记》一书。

《大唐西域记》一书的内容虽不全是与印度有关,但在有关印度内容的第二卷时记载颇为详细。
根据《大唐西域记·印度总述》记载:
“详夫天竺之称,异议纠纷,或云身毒、 或云贤豆,今从正音,宜云印度。”
也就是说,“印度”这个名称实际上是玄奘法师确定命名的。
除了印度名称的来源,书中还列出了有关古印度的疆域、衣饰、教育、文字、礼仪、病死等多达十七个专题,从各个方面记录和介绍了古印度的详情。
关于古印度一些王朝和国王的记录弥足珍贵,因为对于没有历史记载传统的印度而言,他们的历史是模糊的,王朝更迭是模糊的,甚至连统治者是谁都无法弄清。
《大唐西域记》中记载,当时的古印度分裂成七十多个小国,详细到每个地区的小国谁强谁弱,谁臣服于谁。那时,印度西部最强大的是摩腊婆国,其役属有阿难陀补罗、索拉斯特拉等国。
关于戒日国王尸罗逸多(自称摩伽陀王),《大唐西域记》是这么记述的:
“每以一日分作三时,一时理务治政,二时营福修善,孜孜不倦,竭日不足矣。”
“(戒日王即位后)遂总率国兵,讲习战士,象军五千,马军二万,步军五万,自西徂东,征伐不臣。象不解鞍,人不释甲,于六年中,臣五印度(统一北印度)”。
玄奘法师只是淡淡说出这么二十多个字,却几乎重建了那个时代的古印度历史。
耐人寻味的是,英国人也在研究《大唐西域记》,并考虑如何把西方伪史嫁接在这段真实的历史上,结果,他们在这方面大获成功,取得了丰硕的成果。
英国历史学家史密斯对《大唐西域记》不吝溢美之词,他曾褒赞道:
“无论怎样夸大玄奘的重要性都不为过。中世纪印度的历史漆黑一片,他是惟一的亮光。”
他们为什么要如此高捧《大唐西域记》呢?
因为,英国人在研究《大唐西域记》时发现古印度的历史,其实就是一部被入侵的历史,一波又一波入侵者纷至沓来。
然后,18-19世纪才出现的雅利安人有了可乘之机。
既然其他人都可以入侵古印度,那为什么雅利安人不可以?
当然可以!
当时,正在抓耳挠腮的英国军事工程师、考古学家、印度考古局首任局长亚历山大·卡宁厄姆忽然脑海中灵光一闪,有了创作历史故事的基础与模本。
亚历山大·卡宁厄姆

在印度考古领域和历史重建过程中,有一个至关重要的人物,便是英国殖民印度时期的亚历山大·卡宁厄姆。
十九世纪三十年代,作为印度考古局的首任局长,亚历山大在印度进行考古发掘,却始终没有什么大的收获,直到他得到了一本英译的《大唐西域记》,这才欣喜若狂。
随后的25年中,是的,你没有看错,整整25年中,亚历山大都在不断翻阅《大唐西域记》。
他在《大唐西域记》的记载上,耗费无数心血,然后有了一个接一个的考古发掘重大进展:
释迦摩尼第一次悟道的地方“”鹿野苑”;
释迦摩尼成佛的菩提伽耶;
佛教圣地那烂陀寺遗址……
古印度诸如此类的重要历史遗迹一一问世。
亚历山大在日记中不无得意地写道:
“每天晚上睡觉前,我都在阅读中国人的《大唐西域记》,玄奘对那棵著名的菩提树以及周围的佛像和庙宇,记载的都很详细,我们很快就找到了大量的遗迹,书中的描述和发现结果非常吻合。”
他很快在鹿野苑发掘出了所谓的阿育王石柱,言称该石柱上刻有阿育王的敕令。

然后,一个以前从未听说的阿育王就此成为一位伟大帝王,而阿育王石柱上四只狮子的雕像也被定为印度国徽。

阿育王的考古存在,是为了用以证明他爷爷旃陀罗·笈多的存在,旃陀罗·笈多的存在,则是为了证明所谓的亚历山大东征,并入侵印度,因为亚历山大在入侵印度时,遭到了孔雀王朝旃陀罗·笈多的抵抗。
所以,从上述逻辑可以推断,亚历山大是“真实”的,那么,古希腊历史学家阿里安的《亚历山大远征记》也是“真实”的。
相应地,古希腊也是“真实”的。
看出来了吗?
为了造假,绕来绕去,真真假假,假假真真,弄得人眼花缭乱,目不暇接。唯有如此,方能达到最终目的。
巧合的是,这位如此大费周章的印度首任考古局局长,名字就叫亚历山大!
英国炮制古印度历史为了撇清中国长期的影响,故意制造出了印度河文明。
然而,令人尴尬的一个事实是,印度河主要流域在巴基斯坦。而古巴基斯坦地区并不属于南亚印度,因此古代印度河文明其实是属于巴基斯坦的古代文明。

而且,更令人尴尬的是,《大唐西域记》中的古印度所指主要地区——是今日巴基斯坦的印度河平原的古国。
至于印度河东南方向的恒河平原(即今日印度和孟加拉国地区)?
对不起,在古代,那里被泛称为“婆罗多”。
这就是英国人的乾坤大挪移功法,非常了得,张无忌都得甘拜下风。
一、王玄策的真实故事
实际上,在英国殖民印度以前,整个天竺地区都长期受到华夏的影响,可以说,文明之火也是由东传入的。
王玄策出使天竺遭到攻击,后靠借兵横扫天竺的故事,想必人尽皆知。
根据《新唐书》列传·卷一百四十六记载:
“二十二年,遣右卫率府长史王玄策使其国,以蒋师仁为副;未至,尸罗逸多死,国人乱,其臣那伏帝阿罗那顺自立,发兵拒玄策。
时从骑才数十,战不胜,皆没,遂剽诸国贡物。玄策挺身奔吐蕃西鄙,檄召邻国兵。
吐蕃以兵千人来,泥婆罗以七千骑来,玄策部分进战茶镈和罗城,三日破之,斩首三千级,溺水死万人。”
《旧唐书》《资治通鉴》等史料中也有相关记载。
贞观二十二年(648年),唐太宗以右卫率府长史(正七品上)王玄策为天竺使节,蒋师仁为副使,唐玄奘弟子辩机和尚为翻译,一众五十骑,携重礼自长安出发,翻越喜马拉雅山脉,经由泥婆罗(尼泊尔),出使天竺。
彼时,中天竺王尸罗逸多经过多年征战,已经征服统一了北天竺,又称“戒日帝国”。

根据《新唐书》列传第一百四十六之记载:
“隋炀帝时,遣裴矩通西域诸国,独天竺、拂菻不至为恨。
武德中,国大乱,王尸罗逸多勒兵战无前,象不弛鞍,士不释甲,因讨四天竺,皆北面臣之。
会唐浮屠玄奘至其国,尸罗逸多召见曰:‘而国有圣人出,作《秦王破阵乐》,试为我言其为人。’
玄奘粗言太宗神武,平祸乱,四夷宾服状。
王喜,曰:‘我当东面朝之。’
贞观十五年,自称摩伽陀王,遣使者上书。帝命云骑尉梁怀璥持节尉抚,尸罗逸多惊问国人:‘自古亦有摩诃震旦(中国)使者至吾国乎?’皆曰:‘无有。’
戎言中国为摩诃震旦。
乃出迎,膜拜受诏书,戴之顶,复遣使者随入朝。诏卫尉丞李义表报之,大臣郊迎,倾都邑纵观,道上焚香,尸罗逸多率群臣东面受诏书,复献火珠、郁金、菩提树。”
原来,尸罗逸多通过征战统一北天竺后,自称摩伽陀王,并向大唐遣使上书,后膜拜受诏书。
王玄策出使时,是带着大唐天可汗的诏书前来的。
然而,王玄策一行刚刚进入北天竺,就惊闻摩伽陀王(即后世所称的戒日国王)尸罗逸多在恒河晨浴时突然溺水暴毙,紧接着该国陷入一片混乱。其治下帝那伏国率先发难,控制帝那伏国的大臣阿罗那顺趁机篡权夺位,自立为王。
王玄策率领使团来到北天竺时,得位不正的阿罗那顺担心阴谋败露,招致大唐和吐蕃的干涉,于是恶向胆边生,先下手为强,派出两千人的军队截杀大唐使团。
大唐使团被截围后寡不敌众,纷纷战死,仅正使王玄策、副使蒋师仁与通事辩机和尚得以幸免。三人被俘,关入大牢,后在尸罗逸多妹妹拉迦室利公主的暗中协助下,王玄策、蒋师仁得以成功越狱。
顺利逃脱后的王玄策、蒋师仁非常气愤,想到自己作为大唐使者,居然无端受到此等欺辱,于是兵分两路,策马狂奔,一路由王玄策进入泥婆罗(尼泊尔),凭借大唐使者的身份、天可汗的名号,以及吐蕃国主松赞干布金字招牌,对泥婆罗(尼泊尔)陈述事实、晓以利害;一路由蒋师仁火速奔赴吐蕃,就近急搬救兵。
随后,在二人的共同努力下,泥婆罗(尼泊尔)借给王玄策一支7000人的军队,吐蕃则抽调1200人的精骑,交与蒋师仁。
当8200人的军队征召到位后,王玄策又以一纸大唐檄文召令沿途各大唐藩属国派兵出战,终于东拼西凑,临时拼凑了一支万余人的“联合军团”。
西域沿途藩属国为何听令调遣、派兵作战?
因为王玄策乃是天子使臣,手上有大唐皇帝授予的信物。
故《新唐书》曰:“(王玄策)檄召邻国兵”。
整饬军备后,王玄策率领临时组建的联合军团以迅雷不及掩耳之势杀回了北天竺,犹如神兵天降,一路摧枯拉朽,势如破竹。
阿罗那顺闻讯大惊,急忙调兵遣将,组织七万象兵负隅顽抗。
冷兵器时代,“象军”可谓陆战之王,一头战象往往身高3-4米,体重高达七八吨,战象背部是象舆,负载手持弓矛的七名战士,冲锋陷阵时如墙齐进,所向披靡。
面对如此强大的对手,事先探得军情的王玄策冷静分析,屡出奇策,针对战像笨重,行动迟缓,最为惧火的特点,设计了一套战术。
王玄策想到了战国齐将田单发明的“火牛阵”。
他提前征集了大量水牛,将兵刃缚于牛角之上,牛尾缚苇灌油,以火点燃,受惊的水牛于是不顾一切朝迎面而来的战象军阵冲了过去。战象惧火,一见“火牛”便乱作一团,急忙掉头逃命。
王玄策一方则战鼓齐鸣,趁势掩杀,阿罗那顺溃不成军,抱头鼠窜。
这一战,当场斩首三千,敌军丢盔弃甲,慌不择路涌向恒河,万人争渡中,当场溺毙者不计其数,另外一万一千人被俘。
阿罗那顺惊慌遁逃,收拾残兵后退往中天竺帝那伏国的都城茶鎛(bó)。
茶鎛(bó)墙高城厚,驻有重兵。阿罗那顺本欲凭借此城负隅顽抗,但他万万没有料到,攻城对于来自大唐的王玄策等人而言,根本不是什么难事。
在王玄策的率领下,联合军团拿出了五花八门的攻城器械,譬如云梯、石车等等,还用上了火攻,仅仅过了三日,帝那伏国都城茶鎛(bó)彻底陷落。
阿罗那顺走投无路,只得仓皇东逃,窜至东天竺王尸鸠摩麾下寻求庇护。
尸鸠摩经不住阿罗那顺一番花言巧语的诱骗,借给阿罗那顺一支军队。
王玄策向敌人示弱,故意败走,将敌军引入埋伏圈后悉数歼灭。阿罗那顺合散兵复阵,副使蒋师仁俘斩千计,一举擒获阿罗那顺。
东天竺国王尸鸠摩闻讯后吓得魂飞魄散,火速臣服请降。
故《新唐书》列传第一百四十六上“西域上”记载:
“阿罗那顺委国走,合散兵复阵,师仁禽之,俘斩千计。馀众奉王妻息阻乾陀卫江,师仁击之,大溃,获其妃、王子,虏男女万二千人,杂畜三万,降城邑五百八十所。
东天竺王尸鸠摩送牛马三万馈军,及弓、刀、宝缨络。
迦没路国献异物,并上地图,请老子象。”
东天竺国臣服后,为防反扑、在撤退时遭追杀(因为都是借来的兵,都要还回去的),敌军余众尽坑杀,天竺震惧。
根据《旧唐书》记载:
“余众尽坑杀,远近城邑降五百八十所,虏男女万二千人,牛马三万余头匹。天竺震惧。”
而后,王玄策押解着一万多人畜财物满载而归,回唐太宗复命:
《新唐书》列传第一百四十六云:
“玄策执阿罗那顺献阙下。
有司告宗庙,帝(唐太宗)曰:‘夫人耳目玩声色,口鼻耽臭味,此败德之原也。婆罗门不劫吾使者,宁至俘虏邪?’  
擢玄策朝散大夫。”
唐太宗见到阿罗那顺后,当面说了一段非常霸气 的话:
“你目玩声色,臭不可闻,道德败坏,婆罗门如果不劫持我大唐使者,你又何至于沦落为阶下之囚呢?”
洛阳人王玄策借兵从北天竺横扫中天竺,又从中天竺攻入东天竺,一路所向披靡,锐不可挡,凭借此功,连升五级,被提拔为朝散大夫(从五品下)。
至于阿罗那顺,则老死长安。
根据《旧唐书》卷一百九十八、列传第一百四十八记载:
“太宗之葬昭陵也,刻石像阿罗那顺之形,列于玄阙之下”。
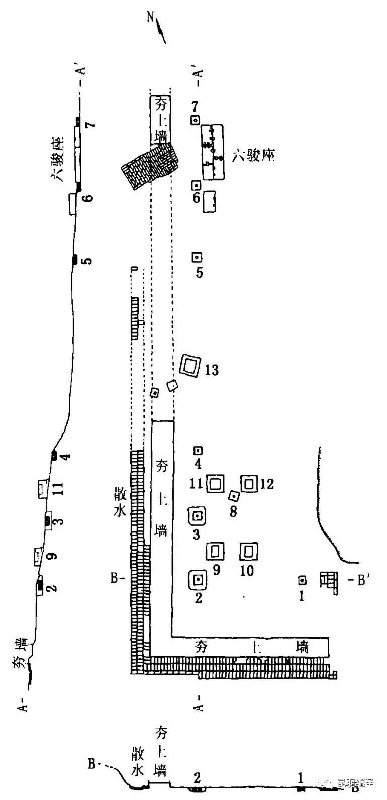
2002年发掘的昭陵北司马门西廊房遗址(ZLJIF4)平剖面图,十四蕃君长像和六骏像中的一半原先就安置于这座建筑内,发掘显示部分基座尚在原位。采自陕西省考古研究所,昭陵博物馆:《2002年度唐昭陵北司马门遗址发掘简报》。


唐太宗昭陵北司马院(祭坛)的“十四国蕃君长石刻”中就有一尊为阿罗那顺雕像,《唐会要》和《资治通鉴》等史书都有记载昭陵内有“帝那伏帝国王阿罗那顺”的石像。
2002年-2003年,在昭陵的考古发掘中,阿罗那顺像的底座出土,文字虽残缺不全,但是可以比较清楚地辨别出“国”与“顺”字,与“婆罗门帝/那伏帝国/王阿那顺” (共12字,从左至右,每列四字)相应,印证了这段历史。


身材较矮小的人像躯干残块应是南亚某国君长,必是阿罗那顺或范头黎中的一位(详见:巫鸿、郑岩、朱青生主编《古代墓葬美术研究》第五辑,湖南美术出版社,2022年)

根据《旧唐书》卷一百九十八《西戎传》(中华书局,1975年,第5308页)、《新唐书》卷二百二十一《西域传》(中华书局,1975年,第6238页),阿罗那顺是在贞观二十二年(648年)五月帝那伏帝国被王玄策所破后被俘至长安的,唐太宗(599年1月23日-649年7月10日)驾崩时,他显然在长安。
下图源自孙迟《昭陵十四国君长石像考》

下图源自孙迟《昭陵十四国君长石像考》

王玄策横扫印度后,古印度诸国无比对大唐的强盛崇拜不已,纷纷遣使来朝。
根据《唐会要》卷一百记载:
“天授三年,东天竺王摩罗枝摩,西天竺王尸罗逸多,南天竺王遮逻其跋逻婆,北天竺王娄其那那,中天竺王地婆西那,并来朝贡,及中宗睿宗两朝。并献方物。”
五天竺国的国王全来了。
这可不是普通的来访,而是作为藩属国来入朝觐见、来朝贡的。
“开元三年二月,遣使瞿云惠成来朝。八年五月,南天竺遣使献豹皮、五色能言鹦鹉,又奏请以战象兵马讨大食吐蕃,求有以名其军,制书嘉焉,号为怀德军。
九月,南天竺王尸利那罗僧伽宝多枝摩为国造寺,上表乞寺额,敕以归化为名赐。
十一月,遣使册利那罗僧伽宝多为南天竺王,遣使来朝。
十七年六月,北天竺国王三藏沙门僧密多献质汗等药。
十九年十月,中天竺国王伊沙伏摩遣大德僧来献方物。
二十九年三月,中天竺国王李承恩来朝,授游击将军,放还。天宝中,累遣使朝贡。”
由此可见,唐朝贞观之治到开元盛世之间,古印度各国来华朝贡现象十分普遍。
南天竺自己出兵征讨大食、吐蕃,都要向唐王朝讨个军队名号“怀德军”,建个庙都要上表乞敕寺庙名称“归化寺”,而且中天竺国王来朝,还授以游击将军,这一方面说明古印度各国对大唐的向往和景仰,另一方面说明五天竺国皆是大唐藩属国。
其实,包括王玄策等人在内的诸多使团,在出使古印度时,几乎都配专职的画师负责绘制地图,为分置州县军府做准备。
唐高宗乾封元年,朝廷组织大批人手完成了百卷《西国志》(其中60卷文字介绍,40卷图画),并据此设立了西域属地的区划和军民管理机构的设置:9个都督府、80个州、133个县、147个折冲府。
至此,完成了对五天竺国的规范治理。
而五天竺国一直都对大唐十分恭顺,直到唐朝末年。
明朝时,郑和下西洋曾多次停靠印度科钦港(明代称“柯枝”,Cochin,又名Kochin)。

时至今日,在这个海滨城市,仍旧常常可以在海边看到一些奇怪的渔网,而这种渔网恰恰是印度其他地方所没有的。科钦本地印度人称之为“中国渔网”。
实际上,这种特殊的捕鱼方式在江南一带颇为常见,是郑和下西洋时传授给当地渔民的。现在,这已成为科钦当地的标志性旅游景观。

除此之外,有意思的是,印度奶茶的发音“Chai”与中文的“茶”一模一样(印度的茶也源自中国)。
在印度,还有无所不在、极具中国特色的“炒面”,例如,“素炒面条”(Veg. Fried Noodles / Veg. Hakka Noodles)或“鸡蛋炒面”(Egg Fried Noodles / Egg Hakka Noodles),印度部分地区发音至今仍是“Chow Mein”。
在印度佛教史和印度密宗中大名鼎鼎的萨罗诃(Saraha),被誉为“第一悉陀”(First Siddha)、“第二佛陀”,其所创的印度密宗萨哈伽派吸收了中国道教“一切非阴非阳、全系虚空”思想和主张,详见《印度通史》培伦版P273页。
大英博物馆中陈列的萨罗诃唐卡,印度也有唐卡

鲜为人知的是,举世闻名的世界文化遗产泰姬陵(Taj Mahal),作为印度知名度最高的古迹之一,居然也潜移默化受到了华夏文化的影响

泰姬陵的布局如下,从泰姬(Taj)到太极,从黑到白,阴阳相生,难道真的仅仅只是巧合?

不,这些疑问在中国的史书中可以找到答案。
《明史》卷三百二十六中描写的榜葛剌国,即今日孟加拉国和印度西孟加拉邦地区:
“榜葛剌,即汉身毒国,东汉曰天竺。其后中天竺贡于梁,南天竺贡于魏。唐亦分五天竺,又名五印度。
宋仍名天竺。
榜葛剌则东印度也。……医卜、阴阳、百工、技艺悉如中国,盖皆前世所流入也。”

“医卜、阴阳、百工、技艺悉如中国,盖皆前世所流入也”,这说明了什么?
原来,华夏对印度的长期影响,早已渗透到了社会生活的方方面面。
***关注我,关注《昆羽继圣》四部曲,关注文史科普与生活资讯,发现一个不一样而有趣的世界***

到顶部