继续操作前请注册或者登录。

交换机最重要的配件,你或许从未真正了解



 编辑  | 一为
晚上好,我是老杨。
之前我们聊过非常多关于交换机的内容了,中间也浅聊过以太网交换机常用的四种光模块。
今天的这一篇更新,想针对光模块给你来个全面的分析指南。
光模块的工作原理是啥?
外观结构长啥样?
有哪些关键性能指标?
常见的光模块种类有哪些?
怎么看懂光模块的命名?
光模块失效的主要原因是啥?
防护措施怎么做?
一起来看看,作为交换机最重要的配件,光模块的这些知识你掌握了多少。
今日文章阅读福利:《 华为交换机学习指南 》
这本书是学习交换机的经典入门必看指南,颇受好评。添加我为好友,备注“交换机”,即可获取该份高清资源。

 添加老杨为好友 获取网工必备资源 

光模块的工作原理是啥?
光模块(Optical Modules)作为光纤通信中的重要组成部分,是实现光信号传输过程中光电转换和电光转换功能的光电子器件。
光模块工作在OSI模型的物理层,是光纤通信系统中的核心器件之一。
它主要是由光电子器件(光发射器、光接收器)、功能电路和光接口等部分组成,主要作用就是实现光纤通信中的光电转换和电光转换功能。
原理就是下图这样:

发送接口输入一定码率的电信号,经过内部的驱动芯片处理后由驱动半导体激光器(LD)或者发光二极管(LED)发射出相应速率的调制光信号,通过光纤传输后,接收接口再把光信号由光探测二极管转换成电信号,并经过前置放大器后输出相应码率的电信号。

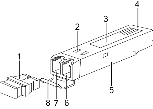
光模块的外观结构长啥样?
光模块的种类多种多样,外观结构也不尽相同,但是基本组成结构都包含以下几部分。

光模块各个结构的说明:
1、防尘帽:保护光纤接头、光纤适配器、光模块的光接口以及其他设备的端口不受外部环境污染和外力损坏。
2、裙片:用于保证光模块和设备光接口之间良好的搭接,只在SFP封装的光模块上存在。
3、标签:用于标识光模块的关键参数及厂家信息等。
4、接头:用于光模块和单板之间的连接,传输信号,给光模块供电等。
5、壳体:保护内部元器件,主要有1*9外壳和SFP外壳两种。
6、接收接口(Rx):光纤接收接口。
7、发送接口(Tx):光纤发送接口。
8、拉手扣:用于拔插光模块,且为了辨认方便,不同波段所对应的拉手扣的颜色也是不一样的。

光模块有哪些关键性能指标?
如何衡量光模块的性能指标呢?我们可以从以下几个方面来读懂光模块的性能指标。
 01  光模块发送端 
1、平均发射光功率
平均发射光功率是指光模块在正常工作条件下发射端光源输出的光功率,你可以理解为光的强度。
发射光功率和所发送的数据信号中“1”占的比例相关,“1”越多,光功率也越大。
当发送机发送伪随机序列信号时,“1”和“0”大致各占一半,这时测试得到的功率就是平均发射光功率,单位为W或mW或dBm。
其中W或mW为线性单位,dBm为对数单位。在通信中,我们通常使用dBm来表示光功率。
2、消光比
消光比是指全调制条件下激光器在发射全“1”码时的平均光功率与全“0”码时发射的平均光功率比值的最小值,单位为dB。
你将电信号转换为光信号时,是由光模块发射部分的激光器按照输入的电信号的码率来转换成光信号的。
全“1”码时的平均光功率即表示激光器发光的平均功率,全“0”码时的平均光功率即表示激光器不发光的平均功率,消光比即表征0、1信号的区别能力,因此消光比可以看做一种激光器运行效率的衡量。
消光比典型的最小值范围为8.2dB到10dB。
3、光信号的中心波长
在发射光谱中,连接50℅最大幅度值线段的中点所对应的波长。
不同种类的激光器或同一种类的两个激光器,由于工艺、生产等原因都会有中心波长的差异,即使同一激光器在不同条件下也可能会有不同的中心波长。
一般,光器件和光模块的制造商,提供给用户一个参数,即中心波长(如850nm),这个参数一般会是一个范围。目前常用的光模块的中心波长主要有三种:850nm 波段、1310nm 波段以及1550nm 波段。
为什么定义在这三个波段?
这和光信号的传输介质光纤损耗有关。
通过不断研究实验,人们发现光纤损耗通常随波长加长而减小,850nm损耗较少,900 ~ 1300nm损耗又变高了;而1310nm又变低, 1550nm损耗最低,1650nm以上的损耗趋向加大。
所以850nm就是所谓的短波长窗口,1310nm 和1550nm就是长波长窗口。
 02  光模块接收端 
1、过载光功率
过载光功率又称饱和光功率,是指光模块在一定的误码率(BER=10-12)条件下,接收端组件所能接收的最大输入平均光功率。单位是dBm。
需要注意的是,光探测器在强光照射下会出现光电流饱和现象,当出现这个现象后,探测器需要一定的时间恢复,此时接收灵敏度下降,接收到的信号有可能出现误判而造成误码现象。
简单的说,输入光功率超过的了这个过载光功率,可能就会对设备造成损害,在使用操作中应尽量避免强光照射,防止超出过载光功率。
2、接收灵敏度
接收灵敏度是指光模块在一定的误码率(BER=10-12)条件下,接收端组件所能接收的最小平均输入光功率。
如果发射光功率指的发送端的光强度,那接收灵敏度指的就是光模块可以探测到的光强度。单位是dBm。
一般情况下,速率越高接收灵敏度越差,就说明最小接收光功率越大,对于光模块接收端器件的要求也越高。
3、接收光功率
接收光功率是指光模块在一定的误码率(BER=10-12)条件下,接收端组件所能接收的平均光功率范围。单位是dBm。
接收光功率的上限值为过载光功率,下限值为接收灵敏度的最大值。
综合来讲,就是当接收光功率小于接收灵敏度,可能无法正常接收信号,因为光功率太弱了。
当接收光功率大于过载光功率时,可能也无法正常接收信号,因为存在误码现象。
 03  综合性能指标 
1、接口速率
光器件所能承载的无误码传输的最大电信号速率,以太网标准规定的有:125Mbit/s、1.25Gbit/s、10.3125Gbit/s、41.25Gbit/s。
2、传输距离
光模块可传输的距离主要受到损耗和色散两方面受限。
损耗是光在光纤中传输时,由于介质的吸收散射以及泄漏导致的光能量损失,这部分能量随着传输距离的增加以一定的比率耗散。
色散的产生主要是因为不同波长的电磁波在同一介质中传播时速度不等,从而造成光信号的不同波长成分由于传输距离的累积而在不同的时间到达接收端,导致脉冲展宽,进而无法分辨信号值。
在光模块色散受限方面,这个受限距离远大于损耗的受限距离,可以不做考虑。
损耗限制可以根据公式:损耗受限距离=(发射光功率-接受灵敏度)/光纤衰减量 来估算。光纤的衰减量和实际选用的光纤强相关。

有哪些常见的光模块种类?
 01  按速率分类 
为了满足各种传输速率的需求,产生了不同速率的光模块:400GE光模块、100GE光模块、40GE光模块、25GE光模块、10GE光模块、GE光模块、FE光模块等。
 02  按封装类型分类 
传输速率越高,结构越复杂,由此产生了不同的封装方式。
华为交换机适用的封装类型有:QSFP-DD、QSFP28、QSFP+、SFP28、SFP/eSFP、SFP+、CXP、CFP等。








 03  按模式分类 
光纤分为单模光纤、多模光纤。为了使用不同类别的光纤,产生了单模光模块、多模光模块。
1、单模光模块的中心波长一般是1310nm、1550nm,与单模光纤配套使用。单模光纤传输频带宽,传输容量大,适用于长距传输。
2、多模光模块的中心波长一般是850nm,与多模光纤配套使用。多模光纤有模式色散缺陷,传输性能比单模光纤差,但成本低,适用于较小容量、短距传输。
注意:使用长距光模块,发送光功率一般大于过载光功率,因此需要关注光纤长度,保证实际接收光功率小于过载光功率。
如果光纤长度较短,使用长距光模块时需要配合光纤光衰(光纤每单位长度上的衰减值,单位为dB/km)使用,以避免烧坏对端光模块。
 04  按中心波长分类 
光模块的工作波长是一个范围,为了方便描述使用中心波长这个参数,单位是纳米(nm)。
为了支持光信号传输使用不同的光波段,产生了不同中心波长的光模块,比如:850nm、1310nm、1550nm的光模块等。
 05  按颜色分类 
彩色光模块与其它类型的光模块的最大的区别是中心波长不同:
1、一般光模块的中心波长有850nm、1310nm和1550nm三类,中心波长比较单一,我们称该类光为“黑白光”或者“灰光”。
2、彩色光模块承载了若干不同中心波长的光,所以交集起来是五颜六色的,我们称该类光为“彩光”。
彩色光模块分为粗集波光模块(CWDM)和密集波光模块(DWDM)两种。
在同一波段下,密集波光模块的种类更多,所以密集波光模块对波段的资源利用更充分。
中心波长各异的光在同一根光纤中可以互不干涉的传输,因此,通过无源合波器将来自多路彩色光模块不同中心波长的光合成一路进行传输,远端则通过分波器根据不同的中心波长将光分出多路,有效的节省了光纤线路。
彩色光模块主要应用在长距离的传输线路。


怎么看懂光模块的命名?
了解光模块命名规则就能读懂厂商光模块产品名称所包含的全部信息。
今天就以通用的命名规则进行分解说明。



光模块失效的主要原因是啥?
防护措施怎么做?
光模块在应用中必须有规范化的操作方法,任何不规范的动作都可能造成隐性的损伤或者永久的失效。
 01  光模块失效的主要原因 
光模块失效的主要原因是ESD损伤导致的光模块性能变差,以及光口污染和损伤引起的光链路不通。
 02  光口污染和损伤的主要原因 
1、光模块的光口暴露在环境中,光口有灰尘进入而污染。
2、使用的光纤连接器端面已经污染,光模块的光口被二次污染。
3、带尾纤的光接头端面使用不当,比如:端面划伤等。
4、使用了劣质的光纤连接器。
 03  如何有效地防护光模块失效 
1、ESD防护
ESD损伤是造成光器件性能变差、甚至器件光电功能丧失的一个主要问题。另外ESD损伤的光器件不易测试筛选,若失效很难快速地定位出来。
操作说明:
1.光模块在使用前的运输、转移过程中,必须在防静电包装内,不得随意取出,随意摆放。

模块在防静电包装盒内示意图

防静电标识示意图

模块在防静电袋内示意图
   
2.在接触光模块前,必须佩戴防静电手套和防静电手环,安装光器件(含光模块)时也必须做好防静电措施。
3.测试设备或者应用设备必须有良好的接地线。

说明:严禁为方便安装,光模块从防静电包装被取出随意堆放,不做任何防护,犹如废品回收站。
2、物理保护
光模块内部激光器以及温度控制电路(TEC)较为脆弱,收到撞击后容易断裂或脱落,因此在运输和使用过程中都应注意物理防护。
光口沾污物用清洁棉棒轻擦即可,非专用清洁棒可能对光口造成损伤,清洁棉棒使用时用力过大可能导致棉棒中金属划伤陶瓷端面。
光模块的插入和拔出设计都以人手工操作模拟,推力与拉力设计也是模拟人工操作,安装与拆卸过程中不得使用器具类进行。
操作说明:
1.光模块应用时注意轻拿轻放,防止跌落;
2.光模块插入时用手推入,不能使用其他金属工具进行;拔出时,先将拉环打开到解锁位置再拉拉环,不能使用其他金属工具进行。

光模块安装方法示意图
3.光口清洁时要使用专用清洁棉棒,不能使用其他金属物质插入光口中。

用棉棒清洁光模块光口
 参考资料 
本文素材整理自网络工程师阿龙,由网络工程师俱乐部排版成文,转载请注明出处,侵删。

 网工界最有含金量的思科/华为认证,到底是啥?
拿下思科/华为认证之后,身为网工的你可以:
 跨越90%企业的招聘硬门槛
 增加70%就业机会
 拿下BAT全国TOP100大厂敲门砖
 体系化得到网络技术硬实力
 IE大佬年薪可达30w+
 如何了解+系统学习? 
 识别下方二维码加老杨为好友
 好友验证请备注“考证”
 获得1v1专属咨询+报班千元满减券

 前30名粉丝 免费获得老杨答疑机会 

到顶部