继续操作前请注册或者登录。

想跳槽吗?已经被盯上了!


文:诗与星空(ID: SingingUnderStars)
深信服火了,不过不是因为它的网络安全业务,而是它的一个专利:员工离职倾向分析。
从网友贴出的截图看,系统可以监控员工访问的网站,浏览智联招聘、BOSS直聘等网站并提交简历的操作,能被系统记录,然后判断员工的离职倾向。

该系统的成功案例中,有2021年的预亏之王,苏宁。
星空君认识的老板不少,有一句话是大家的共识:当你开始查考勤的时候,公司就开始走下坡路了。
从苏宁的案例看,开始查员工离职倾向的时候,那可能离巨亏不远了。
星空君首先怀疑的是,这个系统违法了吗?深信服的系统装在公司的电脑上,为什么要这么问?
因为公司的电脑,也要尊重公民的隐私权。
2021年颁布的《数据安全法》第八条:开展数据处理活动,应当遵守法律、法规,尊重社会公德和伦理,遵守商业道德和职业道德,诚实守信,履行数据安全保护义务,承担社会责任,不得危害国家安全、公共利益,不得损害个人、组织的合法权益。

01

2021年的业绩

1月25日,深信服(300454.sz)发布了2021年度业绩预告。
公告称,其预计营收约为67.07亿元-68.16亿元,同比增长22.87%-24.87%;但其归属于上市公司股东的净利润同比下降61.82%-70.22%,约为2.41亿元-3.09亿元。

数据来源:同花顺iFind,制图:诗与星空
对于大幅下滑的净利润,公司在业绩预告中称,一是因为营业收入增速较慢;二是因为投入进一步加大,各项费用仍在快速增长;三是因为整体毛利率下降。
其中,营收增幅过缓,公司提出了两点问题,星空君发现,公司的自我剖析能力非常强:
⑴公司对行业客户需求的市场洞察不够准确,导致公司按照惯性在政府和事业单位等部分行业客户群投入了较多的资源,但受多重因素影响,该类行业的投入和产出并不匹配,有限的资源未能得到有效配置实现收益最大化;
⑵近年公司网络安全产品和解决方案的进步离真正满足行业客户群的真实需求存在差距,公司的网络安全业务并未构筑明显领先于同行的整体优势,导致公司体量最大的网络安全业务增长乏力。
简单总结,经营方向和市场需求发生了背离。
02

大客户危机

为什么会这样?
因为深信服政企集团客户比较多,营收稳定,长期躺在舒适区,逐渐丧失了在市场厮杀的能力。
随着信创领域的高速发展,基于自主可控方面的迫切需求,涌现出大批网络安全企业,像360、奇安信等公司的企业安全业务,已经逐渐成长起来。
在行业日新月异的同时,而深信服的核心业务近年来没有太大变化。尤其是在客户拓展领域,公司的优势能力在渠道客户,对于头部客户当前的服务能力还有限,市场向头部客户集中对公司存在不利影响。
除了客户过于集中外,公司的利润来源构成也不是非常健康。
历年财报显示,公司的利润总额中,近半来自政府补助。根据公司的解释,这些政府补助,主要是税收返还。
为了鼓励高科技企业,计算机软硬件业务会有税收优惠。这种业务无可厚非,但是公司的税收返还比例过高,成为重要的利润构成因素,说明公司的核心产品盈利能力相对欠缺。
03

有钱OR缺钱?交易性金融资产谜团

账面显示,深信服非常不缺钱,以至于公司拿大量的资金去买理财买信托,2020年的利息收入高达1.6亿,每年购买金融资产的投资收益超过2000万。
但慧眼如炬的星空君却发现了几个疑点:
一是2021年三季报显示,公允价值变动损益是负数。
公司没有在近期财报披露购买的理财具体内容,只表述为购买安全性高、流动性好、风险较低的理财和信托。
一般来说,银行的普通理财产品大致能保本,出现公允价值变动损益为负数,则意味着公司购买了相对激进的理财产品,甚至可能基金类产品。

二是不必要的增发募资。
4月15日,深信服发布非公开发行预案,募集资金15.6亿元。
考虑到公司账面超过30亿货币资金(含理财),深交所也大惑不解,迅速发了问询函询问是否有必要。
事出反常必有妖。
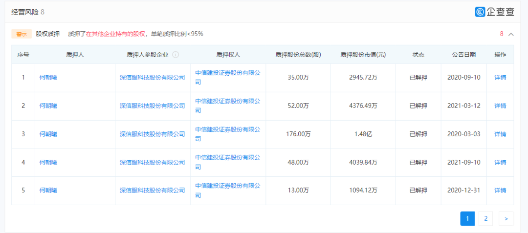
三是董事长股权质押。
企查查显示,公司董事长何朝曦2018年以来频繁质押名下公司的股权,最多的时候高达1.48亿元。

虽然并未对深信服产生直接的影响并按时解押,但也说明董事长的资金周转状况并不是非常乐观。
四是极少分红。
公司近年来的净利润分别为6亿、7.5亿、8亿,但同期分红金额却只有几千万。大多数不差钱的上市公司,往往会豪横分红,回报投资者。深信服“抠门”的异常表现,让人对其账面资金的真实性产生怀疑。
- END -
免责声明:本文章是基于上市公司的公众公司属性、以上市公司根据其法定义务公开披露的信息(包括但不限于临时公告、定期报告和官方互动平台等)为核心依据的分析研究;诗与星空力求文章所载内容及观点公正,但不保证其准确性、完整性、及时性等;本文中的信息或所表述的意见不构成任何投资建议,诗与星空不对因使用本文章所采取的任何行为承担任何责任。
版权声明:本文章内容为诗与星空原创,未经授权不得转载。
- 更多精彩 -

(点击图片获取全文)




到顶部